| Figure 1: |
Headlamp
|
| Figure 2: |
Headlamp, Low Beam and High Beam
|
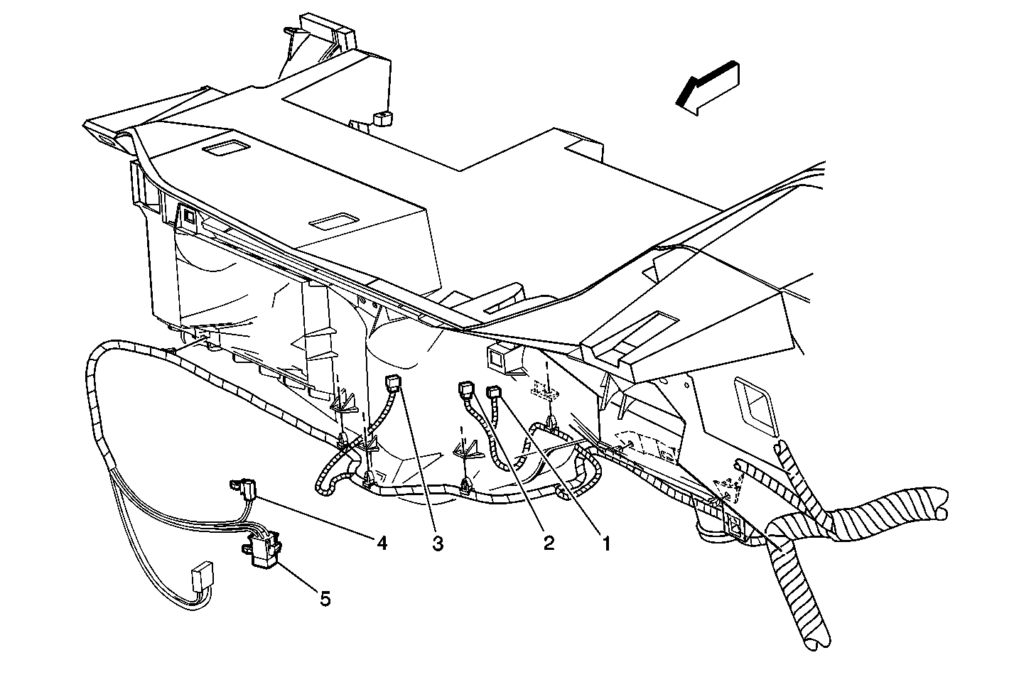
| Figure 3: |
Headlamp Leveling Actuator
|
| Figure 4: |
Park and Turn Signal Lamp, Front
|
| Figure 5: |
Auxiliary Side Front Signal Lamp
|
| Figure 6: |
Side Marker Lamp, Front; Park and Turn Signal Lamp, Front, Inner and
Outer
|
| Figure 7: |
R100 (Turn Signal Resistor)
|
| Figure 8: |
Underhood Lamp, Underhood Reel Lamp
|
| Figure 9: |
Relays (IP Harness, Right Side)
|
| Figure 10: |
Lower IP Console (Export)
|
| Figure 11: |
IP Relay Center
|
| Figure 12: |
Daytime Running Lamp Control Module
|
| Figure 13: |
IP Compartment Lamp Switch, IP Compartment Lamp, Ashtray
Lamp
|
| Figure 14: |
Headlamp Switch, Dome Lamp Override Switch, IP Dimmer Switch
|
| Figure 15: |
TCC/Stoplamp Switch
|
| Figure 16: |
Multifunction Switch (Headlamp Dimmer Switch)
|
| Figure 17: |
Turn Signal (Multifunction) Switch, Hazard Waring Switch
|
| Figure 18: |
Illuminated Entry Module, Remote Control Door Lock Receiver
|
| Figure 19: |
Sun Shade Mirror Lamp
|
| Figure 20: |
Left Stepwell Lamp
|
| Figure 21: |
Right Stepwell Lamp and Side Stepwell Lamp
|
| Figure 22: |
Front Door Jamb Switch
|
| Figure 23: |
Side Door Jamb Switch
|
| Figure 24: |
Dome Lamps
|
| Figure 25: |
In-line Fuse (For Rear Parklamp, Export)
|
| Figure 26: |
Rear License Plate Lamp (Domestic)
|
| Figure 27: |
Rear Park and Turn Signal Lamp; Taillamp; Backup Lamp
|
| Figure 28: |
Center High Mounted Stoplamp
|
| Figure 29: |
Rear Door Jamb Switch
|
| Figure 30: |
Right Rear Door Wiring
|
| Figure 31: |
Export: Backup Lamp, Rear License Plate Lamps, Rear Fog
Lamp
|
| Figure 32: |
Trailer Wiring Provisions (Park, Turn, Stop, Backup)
|
| Figure 33: |
Trailer Wiring Provisions (Trailer Accy, Electric Brake, Ground)
|