GM Service Manual Online
For 1990-2009 cars only

DTC P0502 Vehicle Speed Sensor (VSS) Circuit Low Input Gas Only


Object Number: 525766  Size: MF
Automatic Transmission Components Gas
Automatic Transmission Controls Schematics Gas
OBD II Symbol Description Notice
Handling ESD Sensitive Parts Notice

Circuit Description

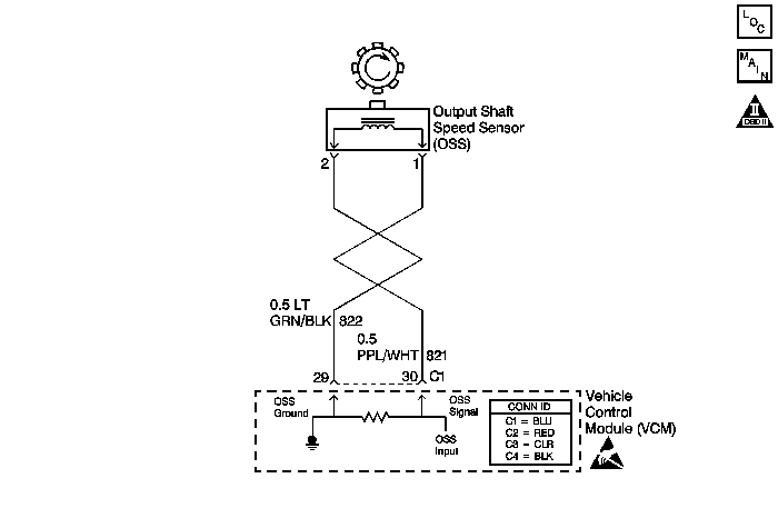
The output shaft speed sensor (OSS sensor), which is a permanent magnet (PM) generator, provides the vehicle speed information to the vehicle control module (VCM). The PM generator produces a pulsing AC voltage as the transmission speed sensors rotor teeth pass through the sensor's magnetic field. The AC voltage level and the number of pulses increase as the speed of the vehicle increases. The VCM then converts the pulsing voltage to a digital signal for vehicle speed. The vehicle speed is used for engine and transmission calculations.

If the VCM detects a low vehicle speed and there is a high engine speed in a drive gear range, then DTC P0502 sets. DTC P0502 is a type C DTC. For California emissions, DTC P0502 is a type B DTC.

Conditions for Running the DTC

    • No mass air flow (MAF) sensor DTCs P0101, P0102 or P0103.
    • No MAP DTCs P0106, P0107 or P0108.
    • No throttle position (TP) sensor DTCs P0122 or P0123.
    • No TFP manual valve position switch DTC P1810.
    • No AT ISS sensor DTC P0716 or P0717.
    • The engine torque must be 108 N·m (80 lb ft) to the following:
       - 406 N·m (300 lb ft) 4.3L
       - 542 N·m (400 lb ft) 5.7L
       - 677 N·m (500 lb ft) 7.4L
    • The AT ISS is greater than 1500 RPM.
    • The gear range is not PARK or NEUTRAL.
    • TP angle is greater than 10%.
    • The engine is running more than 475 RPM for more than 7 seconds.

Conditions for Setting the DTC

The OSS is less than 50 RPM for at least 4 seconds.

Action Taken When the DTC Sets

    • For California emission equipped vehicles the VCM illuminates the malfunction indicator lamp (MIL) during the second consecutive trip in which the Conditions for Setting the DTC are met. For Non-California emission equipped vehicles the malfunction indicator lamp (MIL) is not illuminated.
    • The VCM commands maximum line pressure.
    • The VCM freezes the shift adapts.
    • The VCM defaults a calculated output speed value by using the ISS values.
    • The VCM records the operating conditions when the Conditions for Setting the DTC are met. The VCM stores this information as Freeze Frame (Calif. only) and Failure Records (Calif. and Federal).
    • The VCM stores the DTC P0502 in VCM history during the second consecutive trip (Calif.) or the first trip (Federal) in which the Conditions for Setting the DTC are met.

Conditions for Clearing the MIL/DTC

    • For California emissions, the VCM turns OFF the MIL during the third consecutive trip in which the diagnostic test runs and passes.
    • A scan tool can clear the MIL/DTC.
    • For California emissions, the VCM clears the DTC from VCM history if the vehicle completes 40 consecutive warm-up cycles without an emission related diagnostic fault occurring.
    • For Federal emissions, the VCM clears the DTC from VCM history if the vehicle completes 40 consecutive warm-up cycles without a non-emission related diagnostic fault occurring.
    • The VCM cancels the DTC default actions when the fault no longer exists and/or the ignition switch is OFF long enough in order to power down the VCM.

Diagnostic Aids

    • First diagnose and clear any engine DTCs or TP sensor codes. Then inspect for any transmission DTCs that may have reset.
    • DTC P0502 sets when no vehicle speed is detected at the start off.
    • Inspect the connectors at the VCM, the OSS sensor and all other circuit connecting points for an intermittent condition. Refer to Testing for Intermittent Conditions and Poor Connections in Wiring Systems.
    • Inspect the circuit wiring for an intermittent condition. Refer to Testing for Electrical Intermittents in Wiring Systems.

Test Description

The numbers below refer to the step numbers on the diagnostic table.

  1. This step tests for voltage in the input low circuit (CKT 822).

  2. This step tests the 5-volt and ground circuit of the VCM.

  3. This step tests the integrity of the OSS sensor.

  4. This step tests the OSS circuit.

DTC P0502 Vehicle Speed Sensor Low Input (Gas Only)

Step

Action

Value(s)

Yes

No

1

Did you perform the Powertrain Diagnostic System Check?

--

Go to Step 2

Go to Powertrain On Board Diagnostic (OBD) System Check (4.3L) or Powertrain On Board Diagnostic (OBD) System Check (5.0/5.7L) or Powertrain On Board Diagnostic (OBD) System Check (7.4L)

2

  1. Install a Scan Tool .
  2. Turn ON the ignition, with the engine OFF.
  3. Important: Before clearing the DTC, use the scan tool in order to record the Freeze Frame and Failure Records. Using the Clear Info function erases the Freeze Frame and Failure records from the VCM.

  4. Record the DTC Freeze Frame and Failure Records.
  5. Clear the DTC.
  6. Raise and support the drive axle assembly.
  7. Place the Transmission in NEUTRAL.
  8. Observe the transmission OSS on the scan tool, while rotating a drive wheel.

Ensuring that the drive shaft is rotating, does the Transmission OSS increase with the drive wheel speed?

--

Go to Diagnostic Aids

Go to Step 3

3

  1. Turn OFF the ignition.
  2. Disconnect the OSS sensor harness connector from the sensor.
  3. Turn ON the ignition, with the engine OFF.
  4. Using the J 39200 digital multimeter (DMM) on DC volts and J 35616 connector test adapter kit, measure the voltage between the OSS sensor harness connector terminal 1 and a good ground.

Does the voltage measure within the specified value?

4.0-5.1 volts DC

Go to Step 4

Go to Step 5

4

With the ignition switch in the RUN position, measure the voltage between terminal 2 of the OSS sensor harness connector and a good ground.

Does the voltage measure less than the specified value?

0.2 volts

Go to Step 6

Go to Step 12

5

Does the voltage reading in step 3 measure greater than the specified value?

5.1 volts

Go to Step 12

Go to Step 7

6

With the ignition switch in the RUN position, measure the voltage between terminals 1 and 2 of the OSS sensor harness connector.

Does the voltage measure within the specified value?

4.0-5.1 volts

Go to Step 10

Go to Step 8

7

Test the signal circuit (CKT 821) of the OSS sensor for high resistance or an open circuit between the VCM connector C1-30 and the OSS sensor connector.

Refer to Circuit Testing and Wiring Repairs in Wiring Systems.

Did you find and correct the condition?

--

Go to Step 17

Go to Step 9

8

Test the ground circuit (CKT 822) of the OSS sensor for an open circuit between the VCM connector C1-29 and the OSS sensor connector.

Refer to Circuit Testing and Wiring Repairs in Wiring Systems.

Did you find and correct the condition?

--

Go to Step 17

Go to Step 13

9

Test the signal circuit (CKT 821) for a short to ground between the VCM connector C1-30 and the OSS sensor connector.

Refer to Circuit Testing and Wiring Repairs in Wiring Systems.

Did you find and correct the condition?

--

Go to Step 17

Go to Step 13

10

Using the J 39200 DMM, measure the resistance between terminals 1 and 2 of the OSS sensor.

Does the resistance measure within the specified value?

1042-2088ohms

Go to Step 11

Go to Step 16

11

  1. Place the transmission in NEUTRAL.
  2. With the J 39200 DMM on terminals 1 and 2, select the AC volts.
  3. Rotate the rear wheels ensuring that the driveshaft is turning.

Does the voltage measure greater than the specified value?

0.5 volts AC

Go to Step 13

Go to Step 14

12

  1. Test the signal circuit (CKT 821) of the OSS sensor for a short to voltage B+.
  2. Refer to Circuit Testing and Wiring Repairs in Wiring Systems.

  3. Test the ground circuit (CKT 822) of the OSS sensor for a short to voltage B+.
  4. Refer to Circuit Testing and Wiring Repairs in Wiring Systems.

  5. Test the signal circuit (CKT 821) and the ground circuit (CKT 822) of the OSS sensor for a short together.
  6. Refer to Circuit Testing and Wiring Repairs in Wiring Systems.

Did you find and correct the condition?

--

Go to Step 17

Go to Step 15

13

  1. Reconnect the OSS sensor connector to the OSS sensor.
  2. With the ignition OFF disconnect the VCM connector C1 from the VCM.
  3. Connect the J 39200 DMM to terminals C1-29 and C1-30.
  4. While rotating the rear wheels and ensuring that the driveshaft is turning, measure the voltage with the DMM on AC volts.

Does the voltage measure greater than the specified value?

0.5 volts AC

Go to Step 15

--

14

  1. Remove the OSS sensor.
  2. Inspect the output shaft speed sensor rotor for damage or misalignment.
  3. Refer to Transmission Overhaul in the 4L80-E Section of the Transmission Unit Repair Manual.

Did you find and correct the condition?

--

Go to Step 17

Go to Step 16

15

Replace the VCM.

Refer to VCM Replacement/Programming (4.3L) or VCM Replacement/Programming (5.0/5.7L) or VCM Replacement/Programming (7.4L) in Engine Controls.

Did you complete the replacement?

--

Go to Step 17

--

16

Replace the OSS sensor.

Refer to Vehicle Speed Sensor Replacement .

Did you complete the replacement?

--

Go to Step 17

--

17

Perform the following procedure in order to verify the repair:

  1. Select DTC.
  2. Select Clear Info.
  3. Operate the vehicle so that the transmission OSS is greater than 500 RPM for 1 second.
  4. Select Specific DTC.
  5. Enter DTC P0502.

Has the test run and passed?

--

System OK

Go to Step 1