GM Service Manual Online
For 1990-2009 cars only

Tools Required

    • J 24319-B Universal Steering Linkage Puller
    • J 29193 Steering Linkage Installer (12mm)
    • J 29194 Steering Linkage Installer (14mm)

Removal Procedure

    Important: Do not free the ball stud by using a pickle fork or a wedge type tool. Damage to the seal or bushing may result.

  1. Raise the vehicle. Support the vehicle with suitable safety stands.

  2. Object Number: 310197  Size: SH
  3. Remove the nut (1) retaining the outer or inner tie rod to the vehicle.
  4. Use the J 24319-B in order to remove the inner or outer tie rod from the vehicle.

  5. Object Number: 291260  Size: SH
  6. Loosen the nuts and bolts (2) retaining the adjuster tube to the tie rods.
  7. Mark the location of the adjuster tube before removal.
  8. Turn the adjuster tube to remove it from the inner or outer tie rod end.
  9. Remove the adjuster tube from the vehicle.

Inspection Procedure

    • Clean the threads on the ball stud and the nut.
    • Clean the tapered surfaces.
    • Inspect the tie rod end for damage.
    • Inspect the tie rod end seals for excessive wear.

Installation Procedure

  1. Place the adjuster tube at the marks made prior to removal.

  2. Object Number: 291260  Size: SH
  3. Install the tie rod ends to the adjuster tube (1).

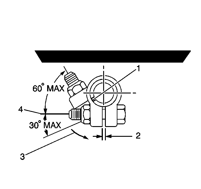
  4. Object Number: 240740  Size: SH
  5. Install the inner or outer tie rod end.
  6. Ensure that the seal is on the stud.

    Tighten
    Use the J 29193 or the J 29194 tighten to 54 N·m (40 lb ft) in order to seat the tapers.

  7. Remove the tool.
  8. Install a new torque prevailing nut to the tie rod end ball stud.
  9. Tighten
    Tighten the nut to 47 N·m (35 lb ft).


    Object Number: 245399  Size: SH
  10. Adjust the adjuster tube clamp bolts before tightening the clamp bolts, ensure that the following conditions occur:
  11. • Position the clamp between the locating dimples at either end of the adjuster tube.
    • Position the clamps within the angular travel (4).
    • Make sure the slot in the sleeve is not positioned within the clamp opening.
    • Maintain the position of each tie rod end while you tighten the clamps.
    • The clamp ends may touch when the nuts are tightened to specification.

    Tighten
    Tighten the adjuster clamp bolts to 25 N·m (18 lb ft).

    • Remove the safety stands. Lower the vehicle
    • Adjust the toe as needed. Refer to Front Toe Adjustment in Wheel Alignment.