GM Service Manual Online
For 1990-2009 cars only

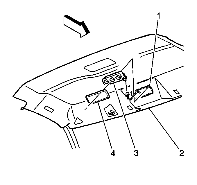
Removal Procedure


    Object Number: 301691  Size: SH
  1. Remove the front control switch bezel (4) from the headliner.
  2. Remove the front control switch (3) by unsnapping the retainers from the headliner.
  3. Disconnect the electrical connector.

Installation Procedure


    Object Number: 301691  Size: SH
  1. Connect the electrical connector.
  2. Install the front control switch (3) by snapping the retainers to the headliner.
  3. Install the front control switch bezel (4) to the headliner.