GM Service Manual Online
For 1990-2009 cars only
Figure 1:

Forward Lamp Wiring


Object Number: 323359  Size: MF
(1)G109
(2)C111
(3)C102
(4)G108
Figure 2:

Inflatable Restraint Forward Wiring


Object Number: 375567  Size: MF
(1)C114
Figure 3:

Forward Lamp Wiring, Horns


Object Number: 323365  Size: MF
(1)G108
(2)C102
(3)C111
(4)R100
Figure 4:

Generator Wiring


Object Number: 375571  Size: MF
(1)C 115
(2)Generator, 100 Amp
(3)Generator, 124 Amp
Figure 5:

P/B Booster System Wiring


Object Number: 323371  Size: MF
(1)P103
(2)C113
(3)G112
(4)G108
Figure 6:

4.3L Engine Harness, Right Side


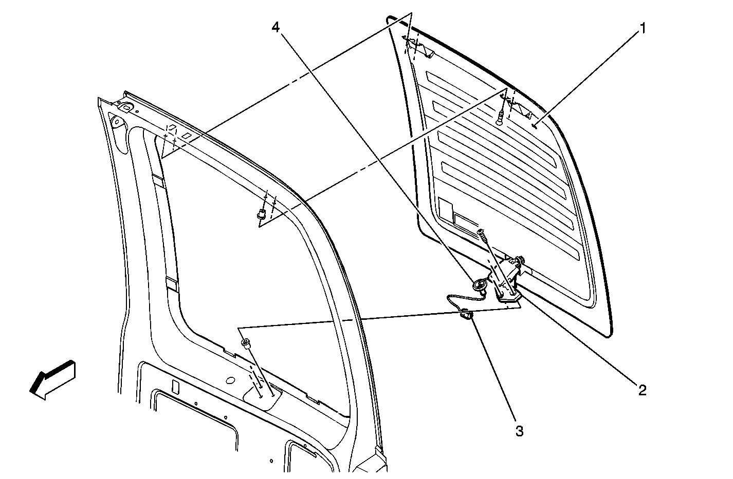
Object Number: 323373  Size: MF
(1)C110
(2)G103
Figure 7:

Engine, Upper RH Side (5.0L, 5.7L)


Object Number: 375573  Size: MF
(1)C112
(2)A/C Compressor Clutch
(3)Exhaust Gas Recirculation (EGR) Valve
(4)Engine Coolant Temperature (ECT) Sensor
(5)Evaporative Emission (EVAP) Canister Vacuum Switch
(6)C110
(7)Ignition Control Module
(8)Ignition Coil
(9)Fuel Injectors (1-8)
(10)Manifold Absolute Pressure (MAP) Sensor
Figure 8:

7.4L Engine Harness, Rear


Object Number: 323396  Size: MF
(1)C110
(2)C112
(3)G103
Figure 9:

Glow Plug Controller (Federal)


Object Number: 395118  Size: MF
(1)Glow Plug Relay (Federal)
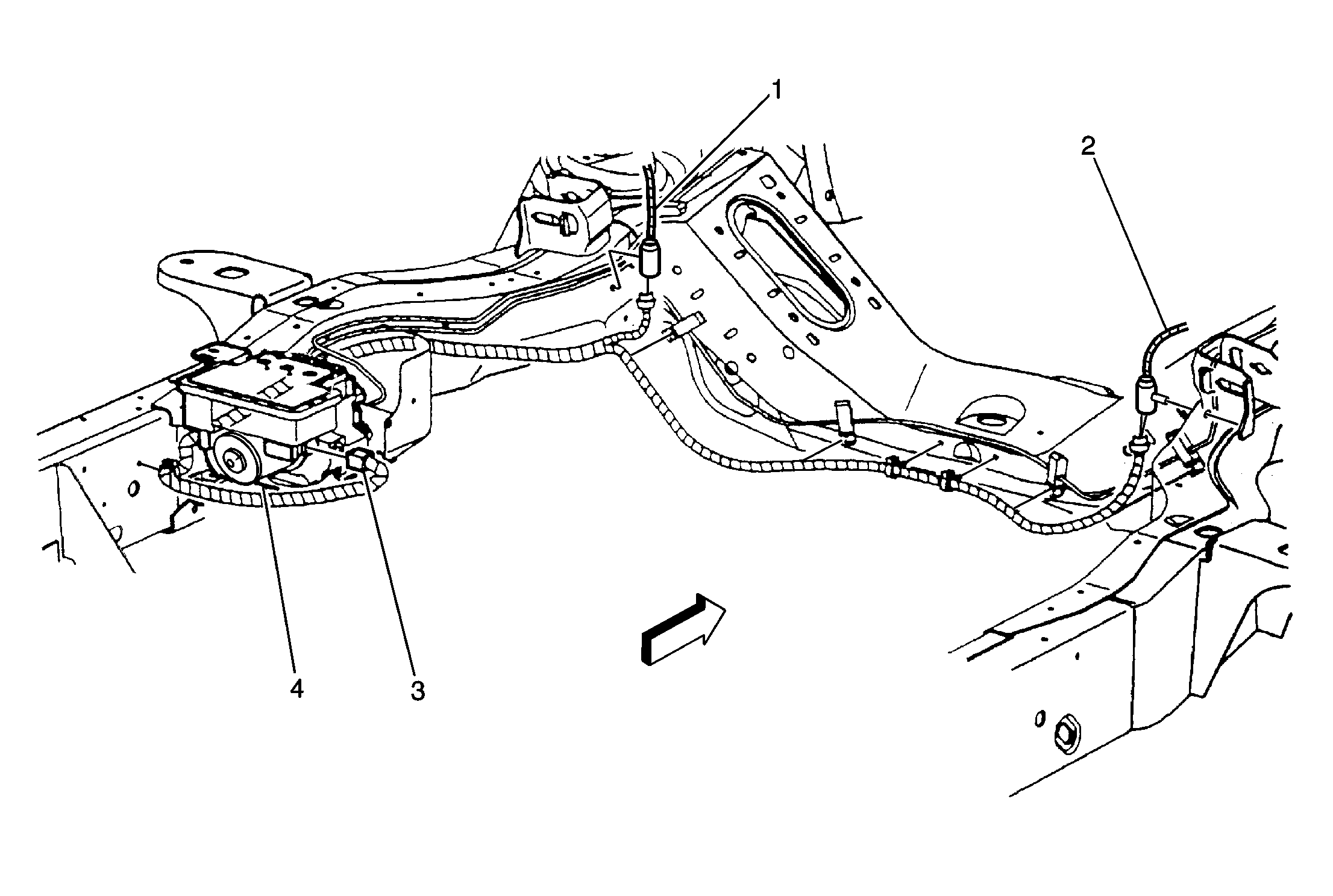
Figure 10:

Automatic Transmission, 4-Speed, 4L60-E


Object Number: 375600  Size: MF
(1)C 103
(2)Vehicle Speed Sensor (VSS)
(3)Park/Neutral Position Switch
Figure 11:

Automatic Transmission, 4-Speed, 4L80-E


Object Number: 327364  Size: MF
(1)Vehicle Speed Sensor (VSS)
(2)Park/Neutral Position Switch
(3)Backup Lamp Switch (Part of Park/Neutral Position Switch)
(4)Automatic Transmission Input Shaft Speed (A/T ISS) Sensor
Figure 12:

Oxygen Sensor Wiring (5.0L, 5.7L, 7.4L Engines)


Object Number: 375606  Size: MF
(1)Heated Oxygen Sensor Bank 1, Sensor 2
(2)Heated Oxygen Sensor Bank 2, Sensor 2
(3)Catalytic Converter
(4)Heated Oxygen Sensor Bank 1, Sensor 1
(5)C105
(6)Heated Oxygen Sensor Bank 2, Sensor 1
Figure 13:

Wheel Speed Sensor Wiring


Object Number: 173451  Size: MF
(1)Wheel Speed Sensor, LF
(2)Wheel Speed Sensor, RF
(3)Connector C3
(4)Electronic Brake Control Module (EBCM)
Figure 14:

Electronic Brake Control Module


Object Number: 173447  Size: MF
(1)Electronic Brake Control Module (EBCM)
(2)Ignition Feed (C1)
(3)Wheel Sensor (C2)
(4)Brake Pressure Differential Switch
(5)Battery (C3)
Figure 15:

Fuel Pump Wiring


Object Number: 375609  Size: MF
(1)C301
(2)Electronic Brake Control Module (EBCM)
(3)Fuel Lift Pump
Figure 16:

Instrument Panel Wiring, Forward of Dash


Object Number: 345355  Size: MF
(1)Vehicle Control Module (VCM)
(2)Cruise Control Module
(3)P102
(4)Windshield Wiper Motor
Figure 17:

Bulkhead Connector Harness View


Object Number: 323404  Size: MF
(1)C100
(2)P100
Figure 18:

Antenna


Object Number: 344437  Size: MF
(1)Antenna
(2)P104
Figure 19:

Instrument Panel, Radio


Object Number: 344444  Size: MF
(1)Radio Antenna Lead
(2)Radio
(3)C204
Figure 20:

Steering Column Wiring


Object Number: 375631  Size: MF
(1)Steering Column Harness
(2)C200
(3)C218
(4)Steering Column
Figure 21:

IP Fuse Block Wiring


Object Number: 323408  Size: MF
(1)P103
(2)C100
(3)G202
(4)G201
Figure 22:

Instrument Panel Wiring


Object Number: 375637  Size: MF
(1)C206
(2)C208
(3)C201
(4)C405
Figure 23:

Convenience Center Connectors


Object Number: 323413  Size: MF
(1)C202
(2)C207
(3)C210
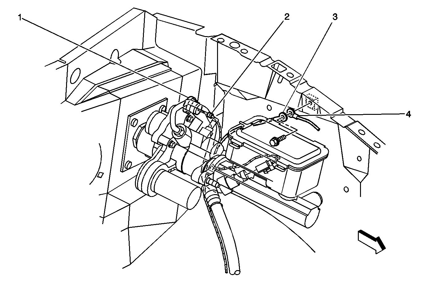
Figure 24:

Power Brake Fluid Flow Alarm And Module


Object Number: 173462  Size: MF
(1)Resistor R208
(2)P/B Booster Fluid Flow Alarm
(3)Diode D202
(4)Connector C208
(5)Connector C201
(6)Park Brake Warning Switch
(7)P/B Booster Fluid Flow And Pressure Alarm Delay Module (Cutaway-School Bus)
Figure 25:

Front Crossbody Wiring (Right)


Object Number: 323416  Size: MF
(1)C212
(2)C300
Figure 26:

Accessory Wiring Harness


Object Number: 323420  Size: MF
(1)C409
(2)C415
(3)P103
(4)C302
Figure 27:

LH Wiring View


Object Number: 375643  Size: MF
(1)C215
(2)C209
Figure 28:

Sunshade Illuminated Mirror Wire


Object Number: 323422  Size: MF
(1)C303
(2)C214
Figure 29:

Front Side Door Wiring, Left


Object Number: 344453  Size: MF
(1)Power Outside Rearview Mirror, Interface Cable
(2)P500, P600 (Right)
(3)C211, C212 (Right)
(4)Radio Speaker, Left Door (Right Opposite)
Figure 30:

Dome Lamp Wiring


Object Number: 323424  Size: LF
(1)C417
(2)C405
Figure 31:

Auxiliary Heater and A/C Wiring


Object Number: 375651  Size: MF
(1)C407
(2)Auxiliary Blower Motor High Speed Relay
(3)Auxiliary Blower Motor Medium Speed Relay
(4)Auxiliary Blower Motor Low Speed Relay
(5)Auxiliary Blower Motor
(6)Rear Auxiliary Mode Valve and Seal Assembly (Mode Door Motor)
(7)Rear Auxiliary Temperature Valve Assembly (Temperature Door Motor)
(8)Auxiliary Blower Motor Resistor
(9)C408
Figure 32:

Body Wiring -- Dome Lamps, Rear Window Defroster Relay


Object Number: 609660  Size: MF
(1)Front Dome Lamp
(2)Rear Window Defogger Relay
(3)Rear Dome Lamp
(4)Body Harness -- LH
Figure 33:

Left Body Wiring


Object Number: 323425  Size: MF
(1)G400
(2)C404
(3)C411
(4)C408
(5)C407
(6)C406
(7)C402
(8)G401
(9)C401
(10)G402
Figure 34:

Radio Rear Speaker Wiring


Object Number: 344455  Size: MF
(1)Right Body Harness
(2)C415
(3)Left Body Harness
(4)Radio Speaker, Right Overhead
(5)Radio Speaker, Left Overhead
(6)C403
Figure 35:

Rear Defogger Details-Stationary Window


Object Number: 604665  Size: MF
(1)RR Window/Grid
(2)Door Lock Actuator Motor, Rear
(3)Power Door Lock Switch Connector
(4)P901 LH, P902 RH
(5)C411 LH, C402 RH
(6)C400
(7)C901 LH, C902 RH
(8)P905 LH, P906 RH
Figure 36:

Rear Defogger Details-Swing Out Window


Object Number: 604705  Size: MF
(1)RR Window/Grid
(2)RR Window Latch w/Flex Circuit
(3)C901 LH, C902 RH
(4)P905 LH, P906 RH
Figure 37:

Trailer Wiring


Object Number: 375652  Size: MF
(1)P400
(2)C406
Figure 38:

Right Rear Door Wiring (LH Similar), Radio Speaker


Object Number: 344457  Size: MF
(1)C412
(2)License Lamp
(3)Door Jamb Switch, Right Rear
(4)Door lock Actuator Motor, Rear
(5)Radio Speaker, Right Rear Door (Left Rear Door Opposite)
(6)P901 RH, P902 LH
(7)C402
(8)C400 RH
Figure 39:

Taillamp Assembly Wiring


Object Number: 323428  Size: MF
(1)P903 LH, P904 RH
(2)C401 RH, C404 LH
Figure 40:

C419


Object Number: 323431  Size: MF
(1)C419
Figure 41:

P400


Object Number: 323433  Size: MF
(1)P400