GM Service Manual Online
For 1990-2009 cars only

Rear License Plate Lamp Replacement Domestic

Removal Procedure


    Object Number: 325515  Size: SH
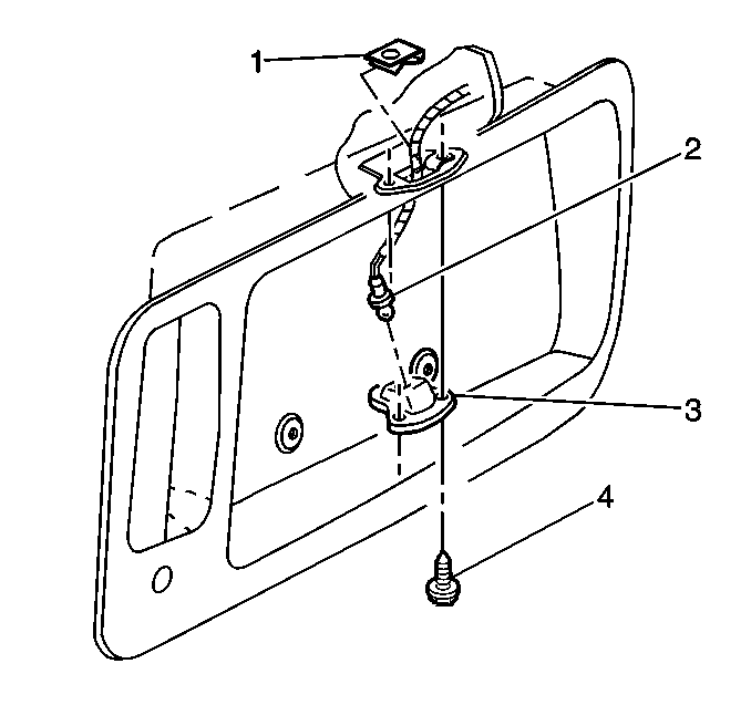
  1. Remove the screws (4) that retain the license plate lamp to the license pocket.
  2. Remove the license plate lamp (3) from the license pocket.
  3. Disconnect the bulb socket (2) from the license plate lamp.
  4. Remove the bulb (2) from the socket.

Installation Procedure


    Object Number: 325515  Size: SH
  1. Connect the bulb (2) into the socket.
  2. Connect the bulb socket (2) into the license plate lamp.
  3. Install the license plate lamp (3) to the license pocket.
  4. Notice: Use the correct fastener in the correct location. Replacement fasteners must be the correct part number for that application. Fasteners requiring replacement or fasteners requiring the use of thread locking compound or sealant are identified in the service procedure. Do not use paints, lubricants, or corrosion inhibitors on fasteners or fastener joint surfaces unless specified. These coatings affect fastener torque and joint clamping force and may damage the fastener. Use the correct tightening sequence and specifications when installing fasteners in order to avoid damage to parts and systems.

  5. Install the license plate lamp retaining screws (4) to the license pocket.
  6. Tighten
    Tighten the screws to 2.5 N·m (22 lb in).