GM Service Manual Online
For 1990-2009 cars only

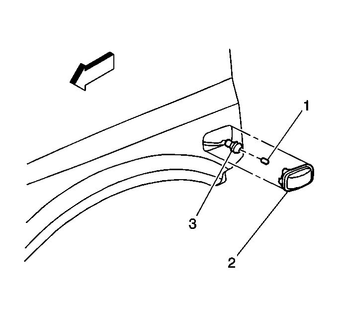
Removal Procedure

  1. Push the light assembly (2) towards the front of the vehicle while gently prying the rear edge of the light assembly away from the fender in order to remove the light assembly.

  2. Object Number: 362110  Size: SH
  3. Remove the bulb and socket from the light assembly (3) by turning the socket 1/4 turn counterclockwise.
  4. Remove the bulb (1) from the socket.

Installation Procedure


    Object Number: 362110  Size: SH
  1. Install the bulb (1) into the socket.
  2. Turn the socket (3) 1/4 turn clockwise in order to install the socket into the light assembly.
  3. Hook the front tab on the lens into the fender and press the light assembly (2) retaining clip into the fender.