GM Service Manual Online
For 1990-2009 cars only

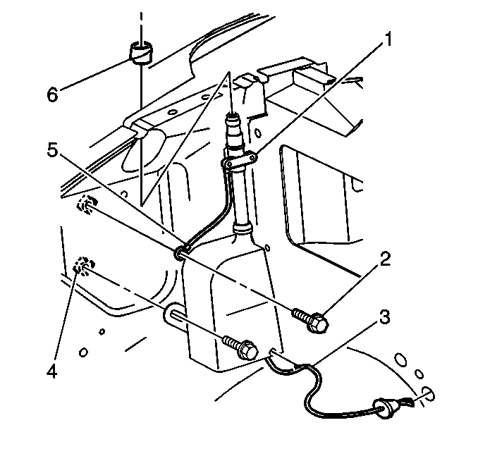
Removal Procedure

  1. Remove the antenna cable connector under the right side of the instrument panel.

  2. Object Number: 331989  Size: SH
  3. Disconnect the electrical connector for the power antenna motor under the right side of the instrument panel.
  4. Push the antenna cable (3) grommet through the cowl panel.
  5. Raise and support the hood.
  6. Remove the grounding strap (5) from the inner fender.
  7. Remove the antenna cable retainer from the inner fender.
  8. Remove the 2 bolts (2) retaining the antenna (1) to the inner fender.
  9. Pull the power antenna assembly downward in order to release the assembly from the fender bezel.
  10. Remove the antenna bezel (6) from the fender.
  11. Remove the power antenna assembly cable from the vehicle.

Installation Procedure


    Object Number: 331989  Size: SH
  1. Install the antenna bezel (6) to the fender.
  2. Install the antenna (1) and the cable (3) to the vehicle.
  3. Push the power antenna assembly upward in order to insert the assembly into the fender bezel.
  4. Notice: Use the correct fastener in the correct location. Replacement fasteners must be the correct part number for that application. Fasteners requiring replacement or fasteners requiring the use of thread locking compound or sealant are identified in the service procedure. Do not use paints, lubricants, or corrosion inhibitors on fasteners or fastener joint surfaces unless specified. These coatings affect fastener torque and joint clamping force and may damage the fastener. Use the correct tightening sequence and specifications when installing fasteners in order to avoid damage to parts and systems.

  5. Install the 2 bolts (2) retaining the antenna to the inner fender.
  6. Tighten
    Tighten the bolts (2) retaining the antenna to the inner fender to 11 N·m (97 lb in).

  7. Install the grounding strap (5) to the inner fender.
  8. Install the antenna cable retainer to the inner fender.
  9. From the inside of the vehicle, pull the antenna grommet through the cowl panel.
  10. Install the antenna cable connector under the right side of the instrument panel.
  11. Connect the electrical connector for the power antenna motor under the right side of the instrument panel.
  12. Close the hood.