GM Service Manual Online
For 1990-2009 cars only

Removal Procedure

Important: The door ajar switch is contained within the lock of the rear door. Therefore replacement of the lock will include the replacement of the rear door ajar switch.


    Object Number: 334096  Size: SH
  1. Remove the right side rear door trim panel. Refer to Rear Side Door Trim Panel Replacement .
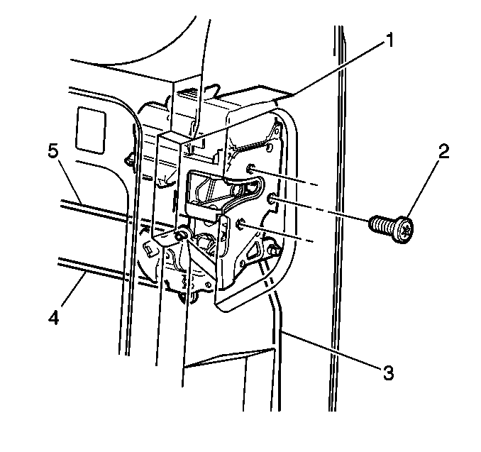
  2. Remove the lock rods (4) from the lock (1).
  3. Remove the electrical connector from the lock (1).
  4. Remove the screws (2) that retain the lock (1) to the right side rear door.
  5. Remove the lock (1) from the right side rear door.
  6. Remove the lock (1) from the vehicle.

Installation Procedure


    Object Number: 334096  Size: SH
  1. Install the lock (1) to the vehicle.
  2. Install the lock (1) to the right side rear door.
  3. Notice: Use the correct fastener in the correct location. Replacement fasteners must be the correct part number for that application. Fasteners requiring replacement or fasteners requiring the use of thread locking compound or sealant are identified in the service procedure. Do not use paints, lubricants, or corrosion inhibitors on fasteners or fastener joint surfaces unless specified. These coatings affect fastener torque and joint clamping force and may damage the fastener. Use the correct tightening sequence and specifications when installing fasteners in order to avoid damage to parts and systems.

  4. Install the screws (2) in order to retain the lock (1) to the right side rear door.
  5. Tighten
    Tighten the retaining screws to 10 N·m (89 lb in).

  6. Install the electrical connector to the lock (1).
  7. Install the lock rods (4) to the lock (1).
  8. Install the right side rear door trim panel. Refer to Rear Side Door Trim Panel Replacement .