GM Service Manual Online
For 1990-2009 cars only

Start the engine and turn on the rear window defogger system in order to locate inoperative grid lines. Ground the test lamp lead and lightly touch the other prod to each grid line.

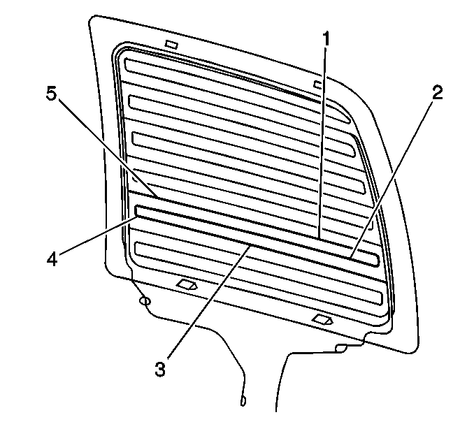
Test Lamp Brilliance Zones - Normal Operating Rear Window Defoger


Object Number: 357821  Size: SH
(1)Three-Quarters Bulb Brilliance
(2)One-Half Bulb Brilliance
(3)No Bulb Brilliance
(4)One-Quarter Bulb Brilliance
(5)Full Bulb Brilliance

Refer to the above figure for the pattern of test lamp brilliance to be expected with a properly functioning grid.

Inspect for a loose ground wire contact to the body metal if a test lamp shows full brilliance at both ends.

The range of zones may vary slightly between different windows. The bulb brilliance will decrease proportionately to the increased resistance in the grid line as the prod is moved from the feed bus bar to the ground bus bar.

Test the grid lines in at least 2 places in order to eliminate the possibility of bridging a break. Contact each grid line a few millimeters on either side of the grid line centerline in order to obtain the best results. Perform the following procedure if an abnormal light reading is apparent on a specific grid line.

  1. Place the test lamp prod on the specific grid line at the feed bus bar.
  2. Move the prod toward the ground bus bar until the light fails to illuminate.
  3. This procedure will indicate a break in the continuity of the grid line.

Test Lamp Bulb Brilliance With Broken Grid Lines


Object Number: 362015  Size: SH
(1)No Light
(1)No Light
(2)Broken Grid
(2)Broken Grid
(3)Full Brilliance
(3)Full Brilliance
(4)Feed Buss Bar
(5)Ground Bus Bar

Refer to the above figure for the pattern of test lamp brilliance to be expected with broken grid lines.