GM Service Manual Online
For 1990-2009 cars only

Removal Procedure

  1. Remove the wiper arms from the vehicle. Refer to Windshield Wiper Arm Replacement in Wipers/Washer Systems.

  2. Object Number: 314927  Size: SH
  3. Open and support the hood.
  4. Remove the underhood lamp and the harness from the hood. Refer to Underhood Lamp Replacement in Lighting Systems.
  5. Remove the air inlet grille panels. Refer to Air Inlet Grille Panel Replacement .
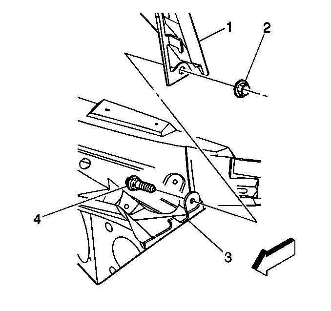
  6. Remove the pivot bolts (4) and the nuts (2) from the hinge (1).
  7. With an assistant, remove the hood from the vehicle.

Installation Procedure


    Object Number: 314927  Size: SH
  1. With an assistant, install the hood to the vehicle.
  2. Notice: Use the correct fastener in the correct location. Replacement fasteners must be the correct part number for that application. Fasteners requiring replacement or fasteners requiring the use of thread locking compound or sealant are identified in the service procedure. Do not use paints, lubricants, or corrosion inhibitors on fasteners or fastener joint surfaces unless specified. These coatings affect fastener torque and joint clamping force and may damage the fastener. Use the correct tightening sequence and specifications when installing fasteners in order to avoid damage to parts and systems.

  3. Install the hinge pivot bolt (4) and nuts (2) to the (1) hinge.
  4. Tighten
    Tighten the hood hinge pivot bolts and nuts to 25 N·m (18 lb ft).

  5. Install the underhood lamp and the harness to the hood. Refer to Underhood Lamp Replacement in Lighting Systems.
  6. Install air inlet grille panels. Refer to Air Inlet Grille Panel Replacement .
  7. Install the wiper arms to the vehicle. Refer to Windshield Wiper Arm Replacement in Wipers/Washer Systems.