GM Service Manual Online
For 1990-2009 cars only

Removal Procedure

  1. Remove the grille from the vehicle. Refer to Grille Replacement in Exterior Trim.

  2. Object Number: 314967  Size: SH
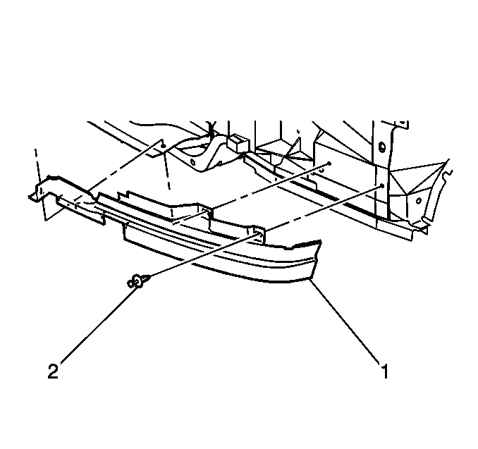
  3. Remove the push-pin (2) retaining the front bumper filler (1) to the radiator support.
  4. Remove the front bumper filler (1) from the vehicle.

Installation Procedure


    Object Number: 314967  Size: SH
  1. Install the front bumper filler (1) to the vehicle.
  2. Install the push pin rivets (2) in order to retain the front bumper filler (1) to the radiator support.
  3. Install the radiator grille to the vehicle. Refer to Grille Replacement in Exterior Trim.