GM Service Manual Online
For 1990-2009 cars only

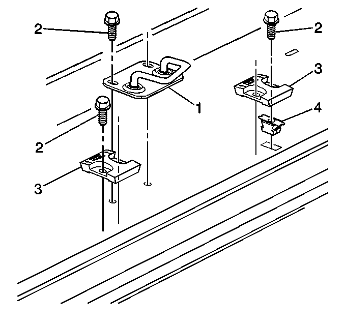
Removal Procedure

  1. Remove the side door stepwell mat. Refer to Front Side Door Step Mat Replacement in Interior Trim.

  2. Object Number: 333991  Size: SH
  3. Remove the bolts (2) that retain the lower striker (1) to the stepwell.
  4. Remove the lower striker (1) from the vehicle.

Installation Procedure


    Object Number: 333991  Size: SH
  1. Install the lower striker (1) to the vehicle.
  2. Notice: Use the correct fastener in the correct location. Replacement fasteners must be the correct part number for that application. Fasteners requiring replacement or fasteners requiring the use of thread locking compound or sealant are identified in the service procedure. Do not use paints, lubricants, or corrosion inhibitors on fasteners or fastener joint surfaces unless specified. These coatings affect fastener torque and joint clamping force and may damage the fastener. Use the correct tightening sequence and specifications when installing fasteners in order to avoid damage to parts and systems.

  3. Install the bolts (2) that retain the lower striker (1) to the stepwell.
  4. Tighten
    Tighten the bolts to 10 N·m (89 lb in).

  5. Install the side door stepwell mat. Refer to Front Side Door Step Mat Replacement in Interior Trim.