GM Service Manual Online
For 1990-2009 cars only
Makes
🢒
Chevrolet
🢒
2000
🢒
Express
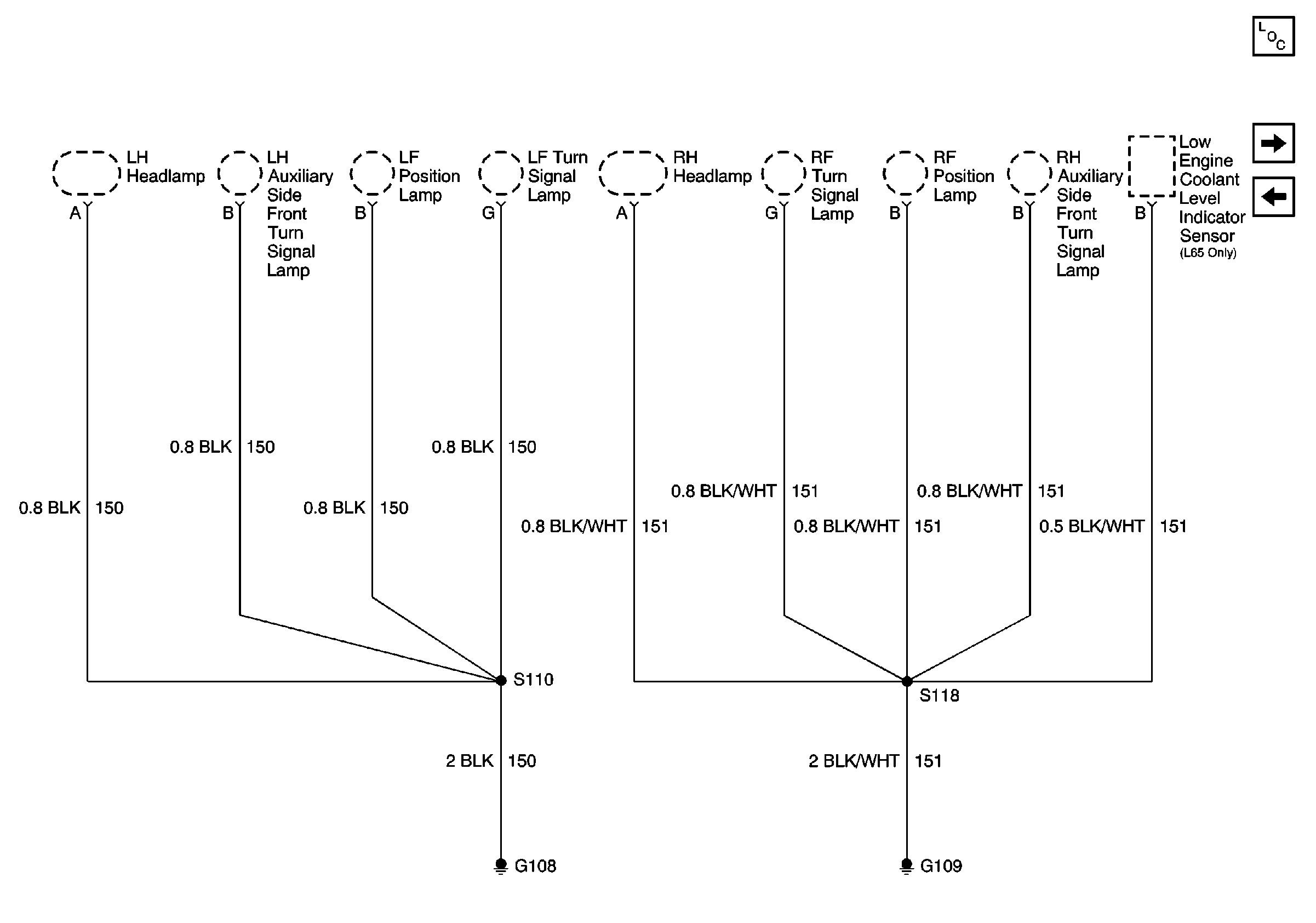
🢒 G108 and G109 (Export)
G108 and G109 (Export)
G108 and G109 (Export)
Power and Grounding Components
G100, G102, G104, G105, G106, G110, G112, G300
G108 and G109 (Domestic)