GM Service Manual Online
For 1990-2009 cars only

Object Number: 550834  Size: MF
Engine Controls Components
Cruise Control, APP Module
OBD II Symbol Description Notice
Handling ESD Sensitive Parts Notice

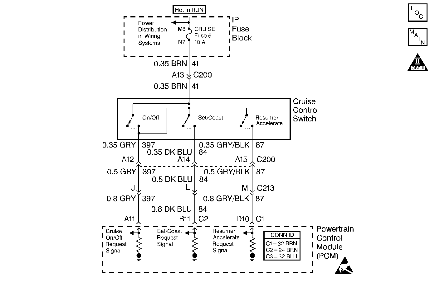
Circuit Description

The Cruise Resume/Accel switch is an input to the fuel control portion of the powertrain control module (PCM). These inputs allow the PCM to control and hold a previously set speed. The Cruise Resume/Accel switch sends an ignition voltage to the PCM when the switch is closed (ON).

Conditions for Running the DTC

The ignition is in the ON position.

Conditions for Setting the DTC

    • The cruise switch is OFF.
    • The ignition voltage on the Resume switch signal circuit.

or

    • The cruise switch is ON.
    • The resume switch is ON for longer than 25.5 seconds.

Action Taken When the DTC Sets

    • The PCM will not illuminate the malfunction indicator lamp (MIL).
    • The PCM records the operating conditions at the time the diagnostic fails. This information is stored in the Failure Records.

Conditions for Clearing the MIL/DTC

    • A history DTC clears after 40 consecutive warm-up cycles, if this or any other emission related diagnostic does not report any failures.
    • The scan tool Clear Info function was used.

Diagnostic Aids

Check for a Resume/Accel switch stuck in the engage position or the signal circuit shorted to the voltage.

Test Description

The numbers below refer to the step numbers on the diagnostic table:

  1. This step determines if the signal circuit is shorted to voltage.

  2. This step determines if the PCM or switch is at fault.

Step

Action

Values

Yes

No

1

Important: Before clearing the DTCs, use the scan tool Capture Info to save the Freeze Frame and Failure Records for reference. The data in the control module is deleted once the Clear Info function is used.

Did you perform the Powertrain On-Board Diagnostic (OBD) System Check?

--

Go to Step 2

Go to Powertrain On Board Diagnostic (OBD) System Check

2

  1. Connect a scan tool.
  2. Turn ON the ignition leaving the engine OFF.
  3. Turn ON the cruise switch with the resume switch OFF.

Does the scan tool display Resume Switch ON?

--

Go to Step 3

Go to Step 4

3

  1. Turn ON the ignition leaving the engine OFF.
  2. Disconnect the PCM connector containing the resume switch signal circuit.
  3. Probe the resume switch signal circuit at the PCM harness with a unpowered test lamp connected to chassis ground.

Is the test lamp ON?

--

Go to Step 5

Go to Step 6

4

The DTC is intermittent. If no additional DTCs are stored, refer to Diagnostic Aids. If additional DTCs are stored refer to the applicable DTC tables first.

Are any additional DTCs stored?

--

Go to the applicable DTC table

Go to Diagnostic Aids

5

  1. The resume switch signal circuit is shorted to voltage or stuck in the ON position.
  2. Repair the problem as necessary. Refer to Wiring Repairs .
  3. in Wiring Systems.

Is the action complete?

--

Go to Step 7

--

6

Important: The new PCM must be programmed.

Replace the PCM. Refer to Powertrain Control Module Replacement/Programming .

Is the action complete?

--

Go to Step 7

--

7

  1. Use the scan tool in order to clear the DTCs.
  2. Start the engine.
  3. Allow the engine to idle until the engine reaches the normal operating temperature.
  4. Select DTC and the Specific DTC function.
  5. Enter the DTC number that was set.
  6. Operate the vehicle within the Conditions for Setting this DTC until the scan tool indicates the diagnostic Ran.

Does the scan tool indicate the diagnostic Passed?

--

Go to Step 8

Go to Step 2

8

Does the scan tool display any additional undiagnosed DTCs?

--

Go to the applicable DTC table

System OK