GM Service Manual Online
For 1990-2009 cars only

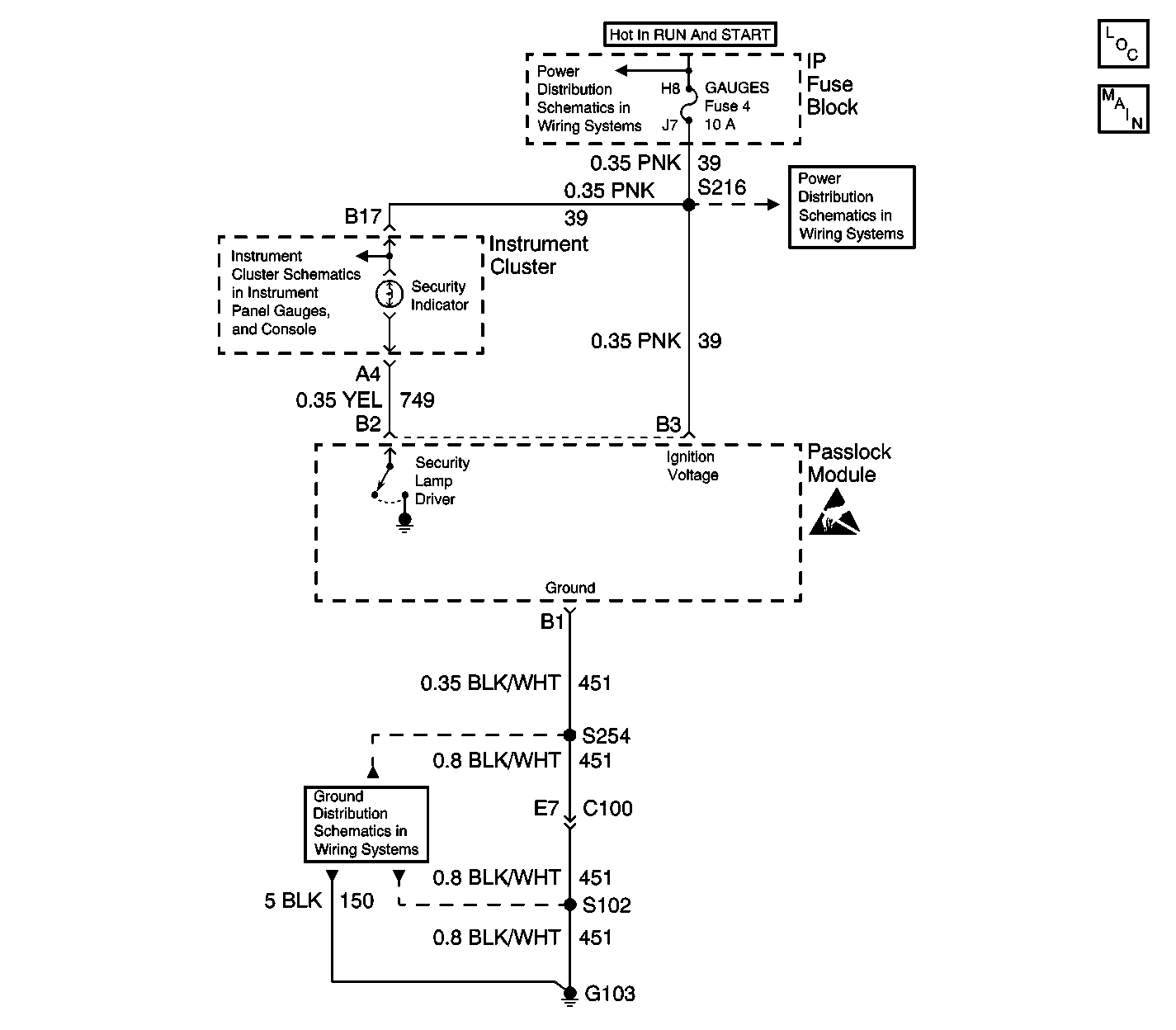
Object Number: 573252  Size: LF
Theft Deterrent System Components
Theft Deterrent System Schematics Passlock
GAUGES Fuse
GAUGES Fuse
GAUGES Fuse, WATER-IN-FUEL Indicator Sensor, G103
Theft Deterrent System Schematic Icons
G101 (Diesel Engine)

Circuit Description

The security indicator is a hardwired lamp that receives power form the gauges fuse 4 through CKT 39.

Conditions for Setting the DTC

    • The ignition switch is ON.
    • The Passlock module is unable to provide a complete path to ground for the security indicator due to a wiring fault or a defective Passlock module.

Action Taken When the DTC Sets

    • The ignition switch is ON.
    • The security indicator is commanded ON.
    • The Passlock module connector terminal B2 voltage is greater than 2.9 volts.
    • The security indicator may be on when the ignition switch is OFF if CKT 749 is shorted to battery power.

Conditions for Clearing the DTC

    • The DTC will clear after an ignition cycle has occurred without the fault.
    • The Passlock module history codes will be cleared after 100 ignition cycles with no current codes active.
    • Using a scan tool.

Diagnostic Aids

    • Perform a visual inspection of the wiring and the connectors.
    • Inspect the Passlock sensor harness for an intermittent or a short to battery. Refer to Testing for Intermittent Conditions and Poor Connections in Wiring Systems.

Test Description

The numbers below refer to the numbers on the diagnostic table:

  1. This step isolates the problem between the harness and the Passlock module.

  2. This step isolates the problem between the instrument cluster and the harness

Step

Action

Value(s)

Yes

No

1

Did you perform the VTD Diagnostic System Check?

--

Go to Step 2

Go to Diagnostic System Check - Theft Deterrent

2

  1. Turn the ignition switch OFF.
  2. Disconnect the Passlock module connector.
  3. Remove the security indicator lamp. Refer to Instrument Cluster Bulb Replacement .
  4. Reconnect the cluster without the lamp.
  5. Turn the ignition switch ON.
  6. Use a J 39200 digital multimeter (DMM) in order to measure the voltage from the Passlock module connector terminal B2 to ground.

Is the voltage within the specified range?

9-16 volts

Go to Step 3

Go to  5

3

  1. Disconnect the instrument cluster connector. Refer to Instrument Cluster Replacement .
  2. Ensure that the ignition switch is still ON.
  3. Use a J 39200 in order to measure the voltage from the Passlock module connector terminal B2 to ground.

Is the voltage within the specified range?

9-16 volts

Go to Step 4

Go to Step 6

4

Repair the short to battery in CKT 749.

Is the repair complete?

--

Go to Diagnostic System Check - Theft Deterrent

--

5

Replace the Passlock module. Refer to Theft Deterrent Module Replacement .

Is the repair complete?

--

Go to Step 7

--

6

Replace the instrument cluster. Refer to Instrument Cluster Replacement in Instrument Panel, Gauges and Console.

Is the repair complete?

--

Go to Diagnostic System Check - Theft Deterrent

--

7

  1. Reconnect all of the previously disconnected connectors and the components.
  2. Turn the ignition switch ON.
  3. Connect the scan tool.
  4. Clear the DTCs.
  5. Perform 1 of the following Passlock reprogramming procedures:

Is the repair complete?

--

Go to Diagnostic System Check - Theft Deterrent

--