GM Service Manual Online
For 1990-2009 cars only

Fuel System Overview

The fuel tank stores the fuel supply. An electric fuel pump is located in the fuel tank with the fuel sender assembly. The electric fuel pump sends fuel through an in-line fuel filter to the fuel rail assembly. The pump provides fuel at a higher rate of flow than is needed by the injectors. The fuel pressure regulator keeps fuel available to the injectors at a regulated pressure. A separate pipe returns unused fuel to the fuel tank.

Fuel Tank


Object Number: 588986  Size: SH

The fuel tank stores the fuel supply. The fuel tank is molded from high density polyethylene. The fuel tank is located in the rear of the vehicle. The fuel tank is held in place by 2 metal straps that attach to the frame.

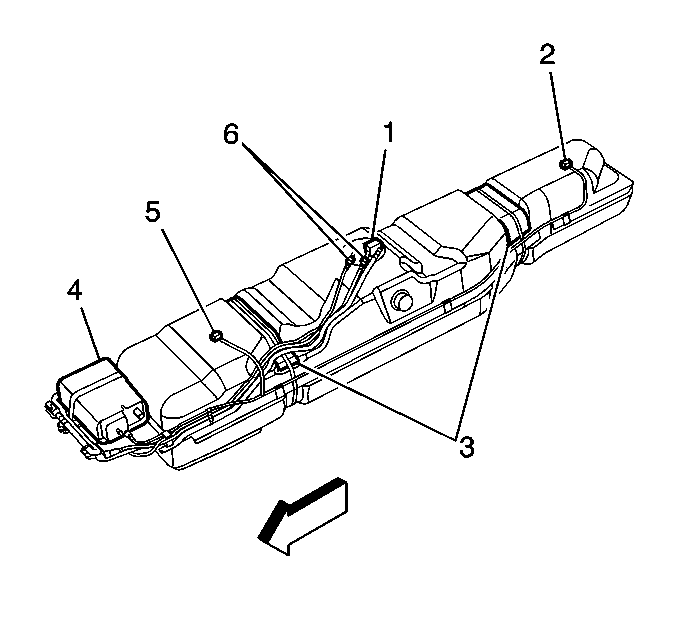
Side-Mounted Fuel Tank (If Equipped)


Object Number: 601669  Size: SH

A larger fuel tank is available as an option on some models. The larger fuel tank is located on the left side of the vehicle. The fuel tank is held in place by 2 metal straps that attach to the frame.

Fuel Fill Pipe


Object Number: 61745  Size: SH

The fuel fill pipe (2) has a built-in restrictor and deflector in order to prevent refueling with leaded fuel.

Fuel Filler Cap


Object Number: 300314  Size: SH

The fuel fill pipe has a tethered quarter-turn type fuel filler cap. A torque-limiting device prevents the cap from being over tightened. To install the cap, turn the cap clockwise until you hear audible clicks. This indicates that the cap is correctly torqued and fully seated. A fuel filler cap that is not fully seated may cause a malfunction in the emission system.

Fuel Sender Assembly


Object Number: 61861  Size: MH

The fuel sender assembly consists of the following major components:

    • The fuel tank pressure sensor (1)
    • The fuel tank fuel pump module (2)
    • The fuel strainer (3)
    • The fuel level sensor (4)

Fuel Level Sensor


Object Number: 50562  Size: SH

The fuel level sensor consists of a float, a wire float arm, and a ceramic resistor card. The position of the float arm indicates the fuel level. The fuel level sensor contains a variable resistor which changes resistance in correspondence with the amount of fuel in the fuel tank. The PCM sends the fuel level information via the class II circuit to the instrument panel (IP) cluster. This information is used for the IP fuel gauge and the low fuel warning indicator, if applicable. The PCM also monitors the fuel level input for various diagnostics.

Fuel Pump


Object Number: 49371  Size: SH

The fuel pump is mounted in the fuel sender assembly reservoir. The fuel pump is an electric high pressure pump. Fuel is pumped to the fuel rail at a specified flow and pressure. Excess fuel from the fuel rail assembly returns to the fuel tank through the fuel return pipe. The fuel pump delivers a constant flow of fuel to the engine even during low fuel conditions and aggressive vehicle maneuvers. The powertrain control module (PCM) controls the electric fuel pump operation through a fuel pump relay. The fuel pump flex pipe acts to dampen the fuel pulses and noise generated by the fuel pump.

Fuel Strainer


Object Number: 50673  Size: SH

The fuel strainer attaches to the lower end of the fuel sender. The fuel strainer is made of woven plastic. The functions of the fuel strainer are to filter contaminants and to wick fuel. The fuel strainer is self-cleaning and normally requires no maintenance. Fuel stoppage at this point indicates that the fuel tank contains an abnormal amount of sediment or water.

Fuel Filter


Object Number: 12628  Size: SH

The fuel filter is located on the fuel feed pipe, between the fuel pump and the fuel injectors. The paper filter element (2) traps particles in the fuel that may damage the fuel injection system. The filter housing (1) is made to withstand maximum fuel system pressure, exposure to fuel additives, and changes in temperature. There is no service interval for fuel filter replacement. Replace a restricted fuel filter.

Fuel Feed and Return Pipes

The fuel feed pipe carries fuel from the fuel tank to the fuel rail assembly. The fuel return pipe carries fuel from the fuel rail assembly back to the fuel tank. The fuel pipes consist of 2 sections:

    • The rear fuel pipe assemblies are located from the top of the fuel tank to the chassis fuel pipes. The rear fuel pipes are constructed of nylon.
    • The chassis fuel pipes are located under the vehicle and connect the rear fuel pipes to the fuel rail pipes. These pipes are constructed of steel.

Nylon Fuel Pipes

Nylon pipes are constructed to withstand maximum fuel system pressure, exposure to fuel additives, and changes in temperature. There are 3 sizes of nylon pipes used: 3/8 inch ID for the fuel feed, 5/16 inch ID for the fuel return, and 1/2 inch ID for the vent. Heat resistant rubber hose or corrugated plastic conduit protect the sections of the pipes that are exposed to chafing, high temperature, or vibration.

Nylon fuel pipes are somewhat flexible and can be formed around gradual turns under the vehicle. However, if nylon fuel pipes are forced into sharp bends, the pipes kink and restrict the fuel flow. Also, once exposed to fuel, nylon pipes may become stiffer and are more likely to kink if bent too far. Take special care when working on a vehicle with nylon fuel pipes.

Quick-Connect Fittings

Quick-connect fittings provide a simplified means of installing and connecting fuel system components. The fittings consist of a unique female connector and a compatible male pipe end. O-rings, located inside the female connector, provide the fuel seal. Integral locking tabs inside the female connector hold the fittings together.

Fuel Pipe O-Rings

O-rings seal the connections in the fuel system. Fuel system O-ring seals are made of special material. Service the O-ring seals with the correct service part.

Fuel Rail Assembly


Object Number: 705539  Size: SH

The fuel rail assembly attaches to the engine intake manifold. The fuel rail assembly performs the following functions:

    • Positions the injectors in the intake manifold
    • Distributes fuel evenly to the injectors
    • Integrates the fuel pressure regulator with the fuel metering system

Fuel Injectors


Object Number: 537314  Size: SH

The Multec 2 fuel injector assembly is a solenoid device, controlled by the PCM, that meters pressurized fuel to a single engine cylinder. The PCM energizes the high-impedance (12.0 ohms) injector solenoid (2) to open a normally closed ball valve (3). This allows fuel to flow into the top of the injector, past the ball valve, and through a director plate at the injector outlet. The director plate has two machined holes that control the fuel flow, generating a spray of finely atomized fuel at the injector tip. Fuel from the injector tip is directed at the intake valve, causing the fuel to become further atomized and vaporized before entering the combustion chamber. This fine atomization improves fuel economy and emissions.

Fuel Pressure Regulator Assembly


Object Number: 69059  Size: SH

The fuel pressure regulator is a vacuum operated diaphragm relief valve. The diaphragm has fuel pressure on one side and regulator spring pressure and intake manifold vacuum on the other side. The fuel pressure regulator compensates for changes in intake manifold vacuum by changing the fuel pressure. In this way, the fuel pressure regulator maintains a constant pressure differential across the injectors at all times.

Fuel Metering Modes of Operation

The powertrain control module (PCM) monitors voltages from several sensors in order to determine how much fuel to give the engine. The PCM controls the amount of fuel delivered to the engine by changing the injector pulse width. The fuel is delivered under one of several modes.

Starting Mode

When the ignition is first turned ON, the PCM energizes the fuel pump relay for 2 seconds. This allows the fuel pump to build pressure in the fuel system. The PCM calculates the air/fuel ratio based on inputs from the engine coolant temperature (ECT) , mass air flow (MAF), manifold absolute pressure (MAP), and throttle position (TP) sensors. The system stays in starting mode until the engine speed reaches a predetermined RPM.

Clear Flood Mode

If the engine floods, clear the engine by pressing the accelerator pedal down to the floor and then crank the engine. When the TP sensor is at wide open throttle, the PCM reduces the injector pulse width in order to increase the air to fuel ratio. The PCM holds this injector rate as long as the throttle stays wide open and the engine speed is below a predetermined RPM. If the throttle is not held wide open, the PCM returns to the starting mode.

Run Mode

The run mode has 2 conditions called Open Loop and Closed Loop. When the engine is first started and the engine speed is above a predetermined RPM, the system begins Open Loop operation. The PCM ignores the signal from the heated oxygen sensor (HO2S). The PCM calculates the air/fuel ratio based on inputs from the ECT, MAF, MAP, and TP sensors. The system stays in open loop until meeting the following conditions:

    • Both HO2S have varying voltage output, showing that they are hot enough to operate properly. This depends upon the engine temperature.
    • The ECT sensor is above a specified temperature.
    • A specific amount of time has elapsed after starting the engine.

Specific values for the above conditions exist for each different engine, and are stored in the electrically erasable programmable read-only memory (EEPROM). The system begins closed loop operation after reaching these values. In closed loop, the PCM calculates the air/fuel ratio (injector on-time) based upon the signal from various sensors, but mainly from the HO2S. This allows the air/fuel ratio to stay very close to 14.7:1.

Acceleration Mode

When the driver pushes on the accelerator pedal, air flow into the cylinders increases rapidly. To prevent possible hesitation, the PCM increases the pulse width to the injectors to provide extra fuel during acceleration. This is also known as power enrichment. The PCM determines the amount of fuel required based upon the TP, the coolant temperature, the MAP, the MAF, and the engine speed.

Deceleration Mode

When the driver releases the accelerator pedal, air flow into the engine is reduced. The PCM monitors the corresponding changes in throttle position, MAP, and MAF. The PCM shuts off fuel completely if the deceleration is very rapid, or for long periods, such as long, closed-throttle coast-down. The fuel shuts off in order to prevent damage to the catalytic converters.

Battery Voltage Correction Mode

When the battery voltage is low, the PCM compensates for the weak spark delivered by the ignition system in the following ways:

    • Increasing the amount of fuel delivered
    • Increasing the idle RPM
    • Increasing the ignition dwell time

Fuel Cutoff Mode

The PCM cuts off fuel from the fuel injectors when the following conditions are met in order to protect the powertrain from damage and improve driveability:

    • The ignition is OFF. This prevents engine run-on.
    • The ignition is ON, but there is no ignition reference signal. This prevents flooding or backfiring.
    • The engine speed is too high, above red line.
    • The vehicle speed is too high, above rated tire speed.
    • During an extended, high speed, closed throttle coast down. This reduces emissions and increases engine braking.
    • During extended deceleration, in order to protect the catalytic converters.

Short Term Fuel Trim

The short term fuel trim values change rapidly in response to the HO2S signal voltages. These changes fine tune the engine fueling. The ideal fuel trim values are around 0 percent. A positive fuel trim value indicates that the PCM is adding fuel in order to compensate for a lean condition. A negative fuel trim value indicates that the PCM is reducing the amount of fuel in order to compensate for a rich condition.

When the PCM determines that the short term fuel trim is out of the operating range, the following diagnostic trouble codes (DTCs) will set:

    • DTC P0171 Bank 1 Too Lean
    • DTC  P0172 Bank 1 Too Rich

Long Term Fuel Trim

The long term fuel trim is a matrix of cells arranged by RPM and manifold absolute pressure (MAP). As the engine operating conditions change, the PCM will switch from cell to cell. The PCM uses the value stored in the active long term fuel trim cell to calculate the injector pulse width.

The PCM also monitors the short term fuel trim while in any given cell. If the short term fuel trim is far enough from 0 percent, the PCM will change the long term fuel trim value. Once the long term fuel trim value is changed, the short term fuel trim should change back toward 0 percent. If the mixture is still not correct, the short term fuel trim will continue to have a large deviation from the ideal 0 percent. In this case, the long term fuel trim value will continue to change until reaching the value's limit. If the mixture is not corrected by the short term and long term fuel trim at their limits, the following DTCs will set:

    • DTC P0171 Bank 1 Too Lean
    • DTC P0172 Bank 1 Too Rich

Under the conditions of power enrichment, the PCM sets the short term fuel trim to 0 percent until power enrichment is no longer in effect. This is done so the Closed Loop factor and the long term fuel trim will not try to correct for the power enrichment condition.