GM Service Manual Online
For 1990-2009 cars only
Figure 1:

One-Piece Propeller Shaft


Object Number: 758517  Size: MF
(1)Propeller Shaft Slip Yoke
(2)Propeller Shaft Universal Joint Spider Retainer Ring
(3)Propeller Shaft Universal Joint
(4)Propeller Shaft Tube
(5)Propeller Shaft Universal Joint Spider Retainer Ring
(6)Propeller Shaft Universal Joint
(7)Propeller Shaft Flange (if applicable)
(8)Propeller Shaft Bearing Retainer
(9)Propeller Shaft Bearing Retainer Bolt
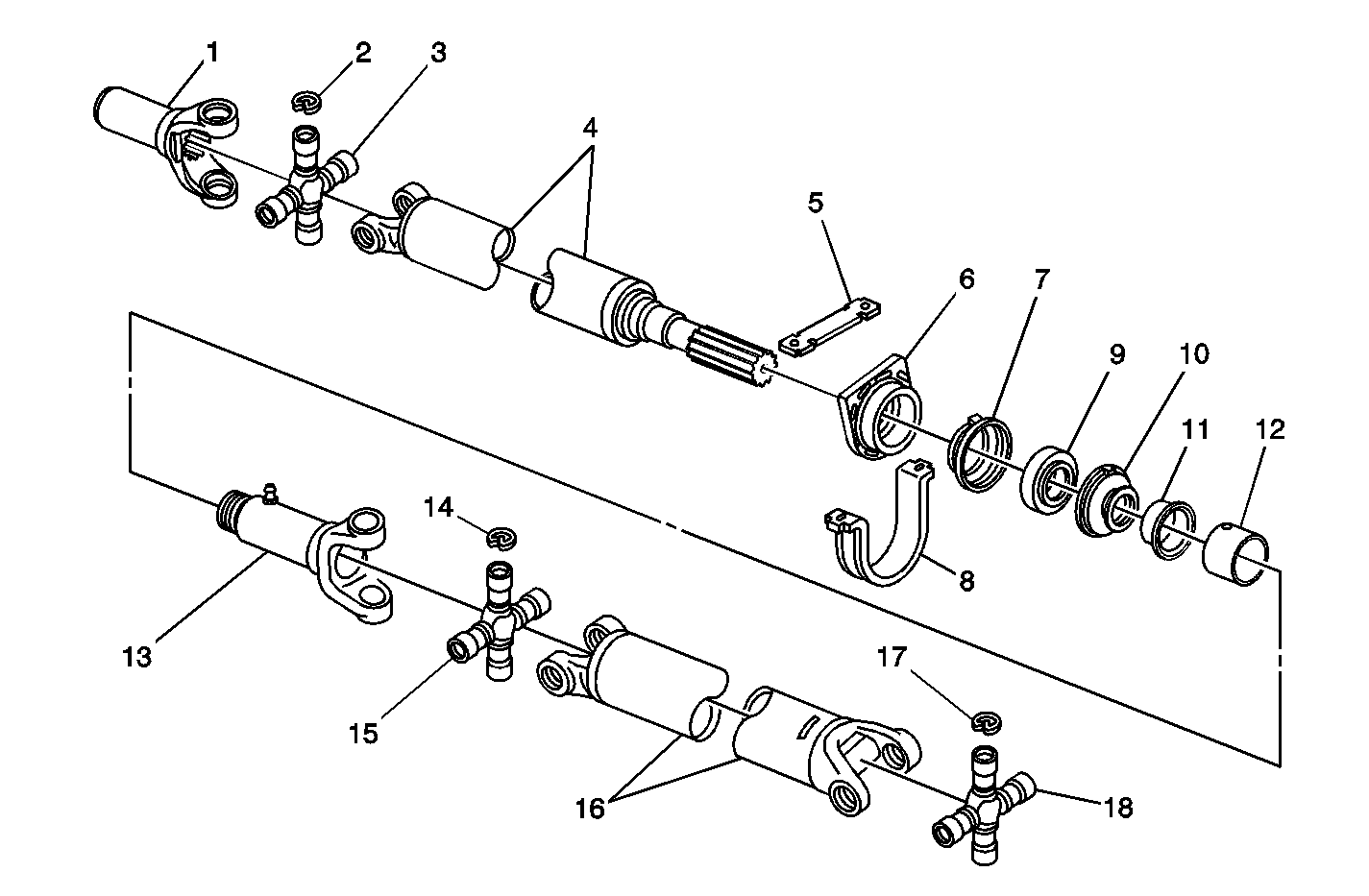
Figure 2:

Two-Piece Propeller Shaft


Object Number: 705487  Size: MF
(1)Propeller Shaft Slip Yoke
(2)Propeller Shaft Universal Joint Spider Bearing Retainer Ring
(3)Propeller Shaft Universal Joint
(4)Propeller Shaft Tube
(5)Propeller Shaft Center Bearing Support Bracket
(6)Propeller Shaft Bearing Retainer
(7)Propeller Shaft Grease Shell
(8)Propeller Shaft Bearing Support Bracket
(9)Propeller Shaft Center Support Bearing
(10)Propeller Shaft Grease Shell
(11)Propeller Shaft Bearing Slinger
(12)Propeller Shaft Oil Seal
(13)Propeller Shaft Slip Yoke
(14)Propeller Shaft Universal Joint Spider Bearing Retainer Ring
(15)Propeller Shaft Universal Joint
(16)Propeller Shaft Tube
(17)Propeller Shaft Universal Joint Spider Bearing Retainer Ring
(18)Propeller Shaft Universal Joint