GM Service Manual Online
For 1990-2009 cars only
Makes
🢒
Chevrolet
🢒
2001
🢒
Express
🢒
Transmission/Transaxle
🢒
Automatic Transmission - 4L60-E
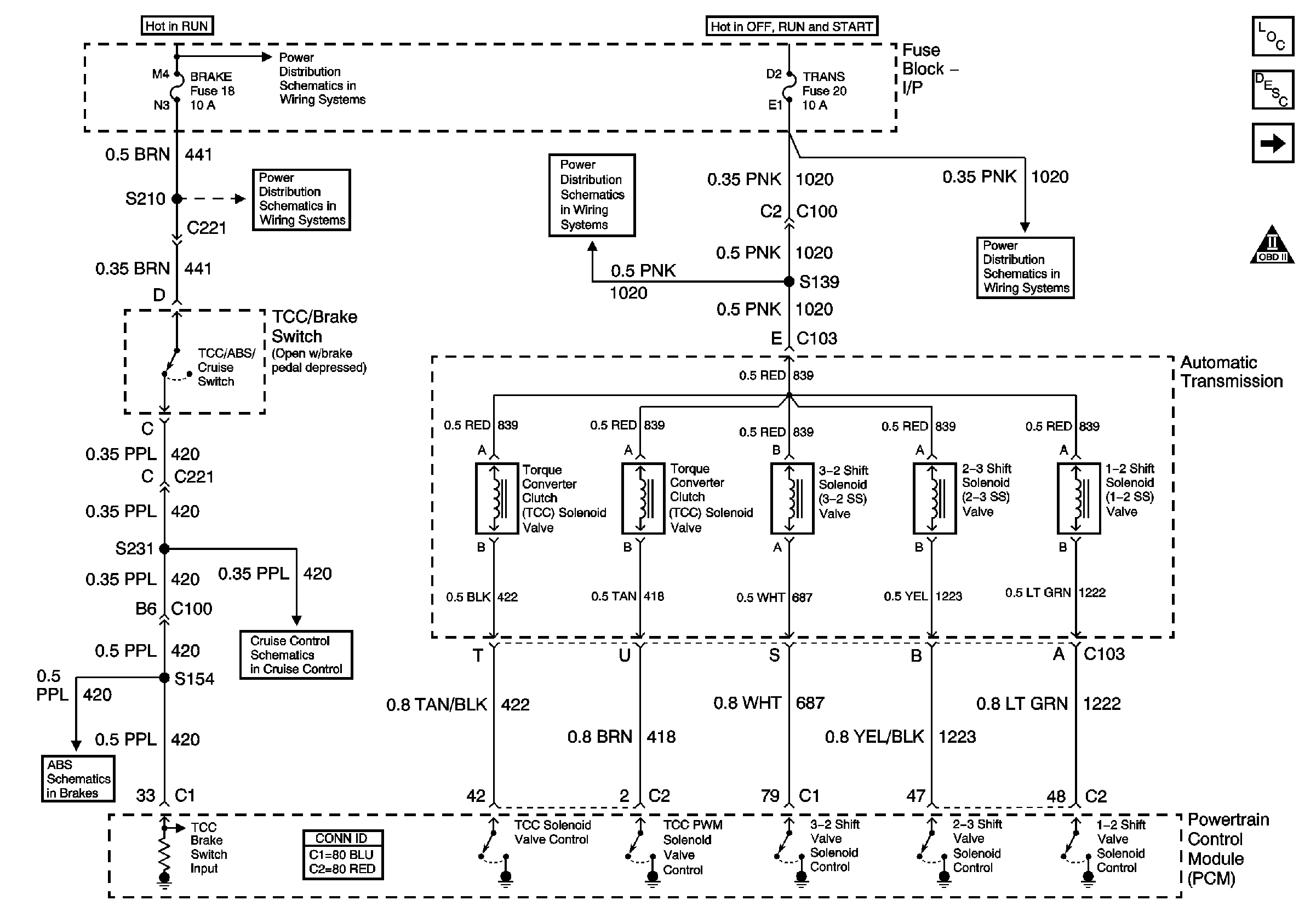
🢒 Automatic Transmission Controls Schematics
Figure
1:
PWR and Solenoids
Master Electrical Component List
Automatic Transmission Electrical Connector Description
Park/Neutral Position Switch
OBD II Symbol Description Notice
Ignition A, Ignition B Fuses, and Ignition Switch
Cruise, Heater A/C, and Brake Fuses
Radio 1, Wiper, Transmission, and Crank Fuses
Radio 1, Wiper, Transmission, and Crank Fuses
Power, Ground, DLC and Indicator
4.3L, 5.0L and 5.7L Engines
Figure
2:
Park/Neutral Position Switch
Master Electrical Component List
Automatic Transmission Electrical Connector Description
Switches And VSS
PWR and Solenoids
OBD II Symbol Description Notice
Courtesy, Air Bags, and Turn Backup Fuses
Ignition A, Ignition B Fuses, and Ignition Switch
Headlamp Switch, Instrument Cluster, Park/Neutral Position Switch
Starting System: Gasoline Engines
Shift Lock Control
Backup Lamps
G103 (4.3L, 5.0L, and 5.7L Engines)
Figure
3:
Switches and VSS
Master Electrical Component List
Automatic Transmission Electrical Connector Description
Park/Neutral Position Switch
OBD II Symbol Description Notice
Automatic Transmission Schematic Icons