GM Service Manual Online
For 1990-2009 cars only

Front Fog Lamp Replacement Luxury Y91

Removal Procedure


    Object Number: 746159  Size: SH
  1. Disconnect the electrical connector from the front fog lamp.
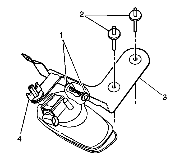
  2. Remove the push pin retainers (1) that attach the fog lamp to the mounting bracket (3).
  3. Remove the fog lamp adjuster bolt and the spring (4) from the adjuster nut.
  4. Remove the fog lamp from the fog lamp mounting bracket.
  5. Caution: Eye protection must be worn when drilling rivets to reduce the chance of personal injury.

  6. Use a drill, and the appropriate drill bit in order to remove the fog-lamp bracket rivets (2), if needed.
  7. If necessary, remove the fog lamp mounting bracket.

Installation Procedure


    Object Number: 746159  Size: SH
  1. If you removed the fog lamp mounting bracket, install the bracket.
  2. If you removed the fog lamp mounting bracket, install the rivets (2).
  3. Install the fog lamp to the fog lamp mounting bracket.
  4. Install the fog lamp adjuster bolt and the spring (4) to the adjuster nut.
  5. Install the push pin retainers (1) that attach the fog lamp to the mounting bracket (3).
  6. Connect the electrical connector to the front fog lamp.
  7. Verify that the fog lamp meet the aiming specifications. Refer to Fog Lamp Aiming .