GM Service Manual Online
For 1990-2009 cars only
Figure 1:

Antenna


Object Number: 344437  Size: MF
(1)Antenna
(2)P104
Figure 2:

Connectors at Front Video Display


Object Number: 781714  Size: MF
(1)Front Overhead Console
(2)Front Video Display - C2
(3)Front Video Display - C1
(4)Front Video Display - C3
Figure 3:

Entertainment Harness


Object Number: 824830  Size: MF
(1)Rear Video Screen
(2)Front Video Screen Connector
(3)RSA Controller Connector
(4)Mirror, Homelink and Reading Lights Connectors
(5)Accessory Power Outlet Connector
(6)Gamebox
(7)100-Watt Amplifier Connector
(8)Base Box Connector
(9)VCP Connector
(10)C302
(11)RSA-T Box
(12)Entertainment Harness
(13)Fuse Block - Rear
Figure 4:

Fog Lamp Switch, Cigar Lighter, Front Accessory Power Outlet, and Video Cassette Player


Object Number: 765680  Size: MF
(1)Fog Lamp Switch
(2)Cigar Lighter
(3)Video Cassette Player (VCP)
(4)Front Accessory Power Outlet
Figure 5:

Front Side Door Wiring, Left


Object Number: 583763  Size: MF
(1)Door Window Switch, Left Front - Right Front Opposite
(2)Door Lock Switch, Left Front - Right Front Opposite
(3)Speaker Tweeter, Left Front Door - Right Front Opposite
(4)Outside Rearview Mirror Switch
Figure 6:

Front Side Door Wiring, Left


Object Number: 344453  Size: MF
(1)Outside Rearview Mirror, Interface Cable
(2)P500, P600 - Right
(3)C211, C212 - Right
(4)Speaker, Left Door - Right Opposite
Figure 7:

Front Subwoofer and 100 Watt Amplifier


Object Number: 781718  Size: MF
(1)Front Subwoofer Housing
(2)Front Passenger Seat Riser
(3)Front Subwoofer 100 Watt Amplifier
Figure 8:

G302 and Right B-Pillar Speaker


Object Number: 781884  Size: MF
(1)Right B-Pillar Speaker (Left Side Similar)
(2)G302
(3)Central Pillar Lower Trim Panel - Right
Figure 9:

G304, Amplifiers, and Rear Woofer


Object Number: 765685  Size: MF
(1)Ground G304
(2)Bose 2000AMP 1
(3)Bose 2000AMP 2
(4)Rear 100 Watt Amplifier
(5)Rear Woofer
(6)Right Rear Wheel House
Figure 10:

Game Box and Rear Accessory Power Outlet


Object Number: 765681  Size: MF
(1)Game Box
(2)Rear Accessory Power Outlet
(3)Right Rear Wheel House
Figure 11:

Game Box, C310, C311, and Rear Accessory Power Outlet


Object Number: 781719  Size: MF
(1)Connectors C310 (BLU) and C311 (ORN)
(2)Rear Accessory Power Outlet
(3)Game Box Jumper Cable
(4)Game Box
Figure 12:

Instrument Panel, Radio


Object Number: 695497  Size: MF
(1)Radio Antenna Lead
(2)Radio
(3)Radio Connector
Figure 13:

Mid Dome/Reading Lamps, RSA, and Rear HVAC Control Connectors


Object Number: 781716  Size: MF
(1)Mid Reading Lamps
(2)Auxiliary HVAC Control - Rear
(3)RSA Connector
(4)Mid Dome Lamp
(5)Mid Dome/Reading Lamp Connector
Figure 14:

Radio Rear Speaker Wiring


Object Number: 583772  Size: MF
(1)Right Body Harness
(2)C415
(3)Left Body Harness
(4)Radio Speaker, Right Overhead
(5)Radio Speaker, Left Overhead
(6)C403
Figure 15:

Rear Headliner Speakers, Rear Dome/Reading Lamps


Object Number: 765687  Size: MF
(1)Right Rear Headliner Speaker
(2)Rear Dome and Reading Lamp Assembly
(3)Left Rear Headliner Speaker
Figure 16:

Right Rear Door Wiring, Radio Speaker


Object Number: 583779  Size: MF
(1)C412
(2)License Lamp
(3)Door Jamb Switch, Right Rear
(4)Door lock Actuator Motor, Rear
(5)Speaker, Right Rear Door - Left Rear Opposite
(6)P901, P902
(7)402
(8)C400
Figure 17:

RSA, Front Video Display, Mid Headliner Speakers, and Mid Dome/Reading Lamps


Object Number: 765683  Size: MF
(1)Left Mid Headliner Speaker
(2)Mid Dome and Reading Light Assembly
(3)Rear Seat Audio (RSA) Control
(4)Right Mid Headliner Speaker
(5)Wireless Headphone Transmitter and Remote Receiver
(6)Front Video Display
Figure 18:

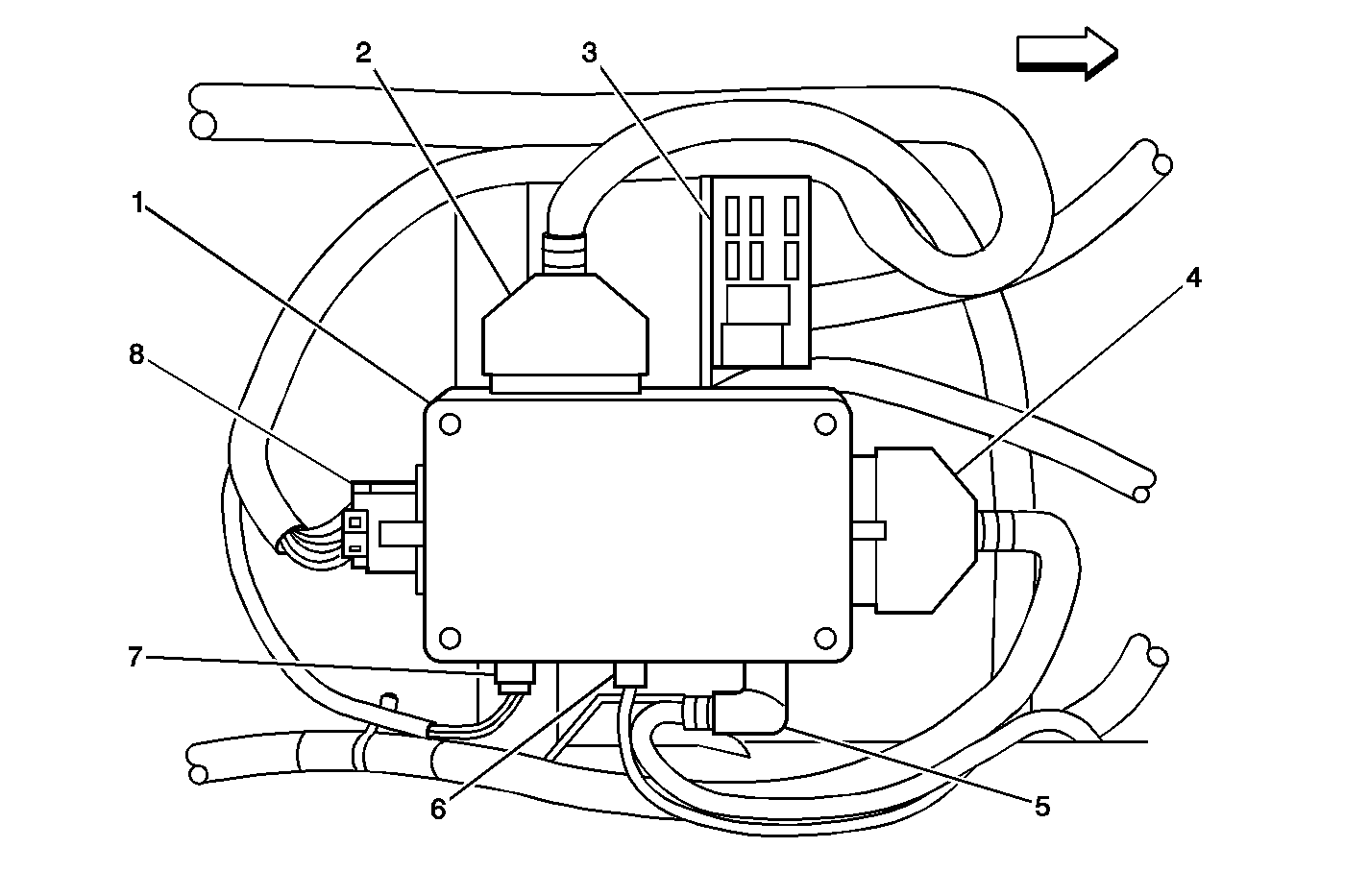
RSA-T Module and Connectors, Rear Fuse Block


Object Number: 765686  Size: MF
(1)RSA-T Module
(2)RSA-T C2
(3)Rear Fuse Block
(4)RSA-T C1
(5)RSA-T C4
(6)RSA-T C6
(7)RSA-T C5
(8)RSA-T C3
Figure 19:

VCP Rear Panel and Connectors


Object Number: 781717  Size: MF
(1)Video Cassette Player - Rear View
(2)VCP - C1
(3)VCP - C2
Figure 20:

Wiring to Rear Video Display


Object Number: 781842  Size: MF
(1)Rear Video Display
(2)Rear Video Display Connector