GM Service Manual Online
For 1990-2009 cars only
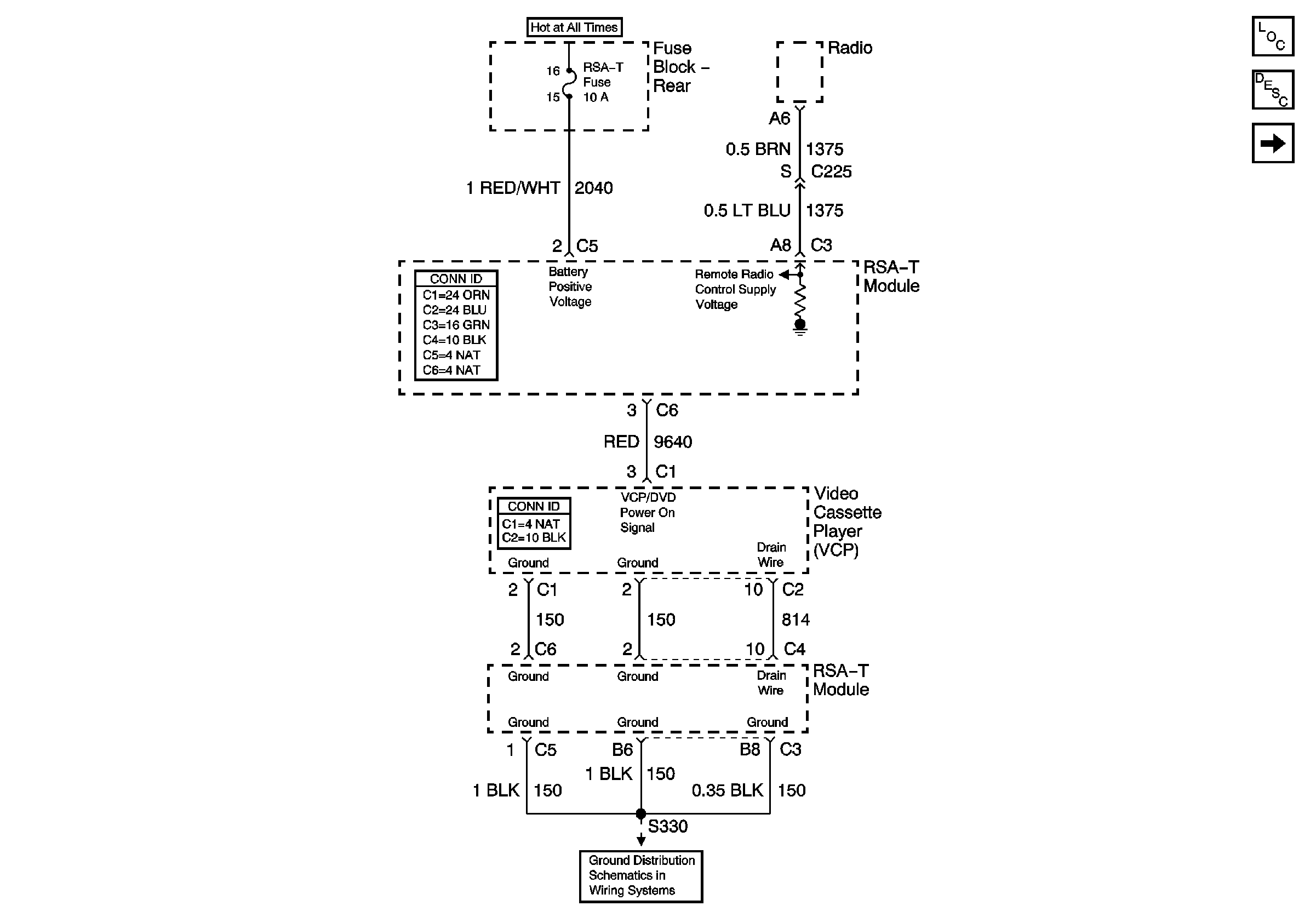
Figure 1:

VCP Power and Grounding


Object Number: 762271  Size: FS
Master Electrical Component List
Radio/Audio System Description and Operation Class 2 Radio
Video Display Power and Grounding
G106 with Y91
Rear Fuse Block Wiring
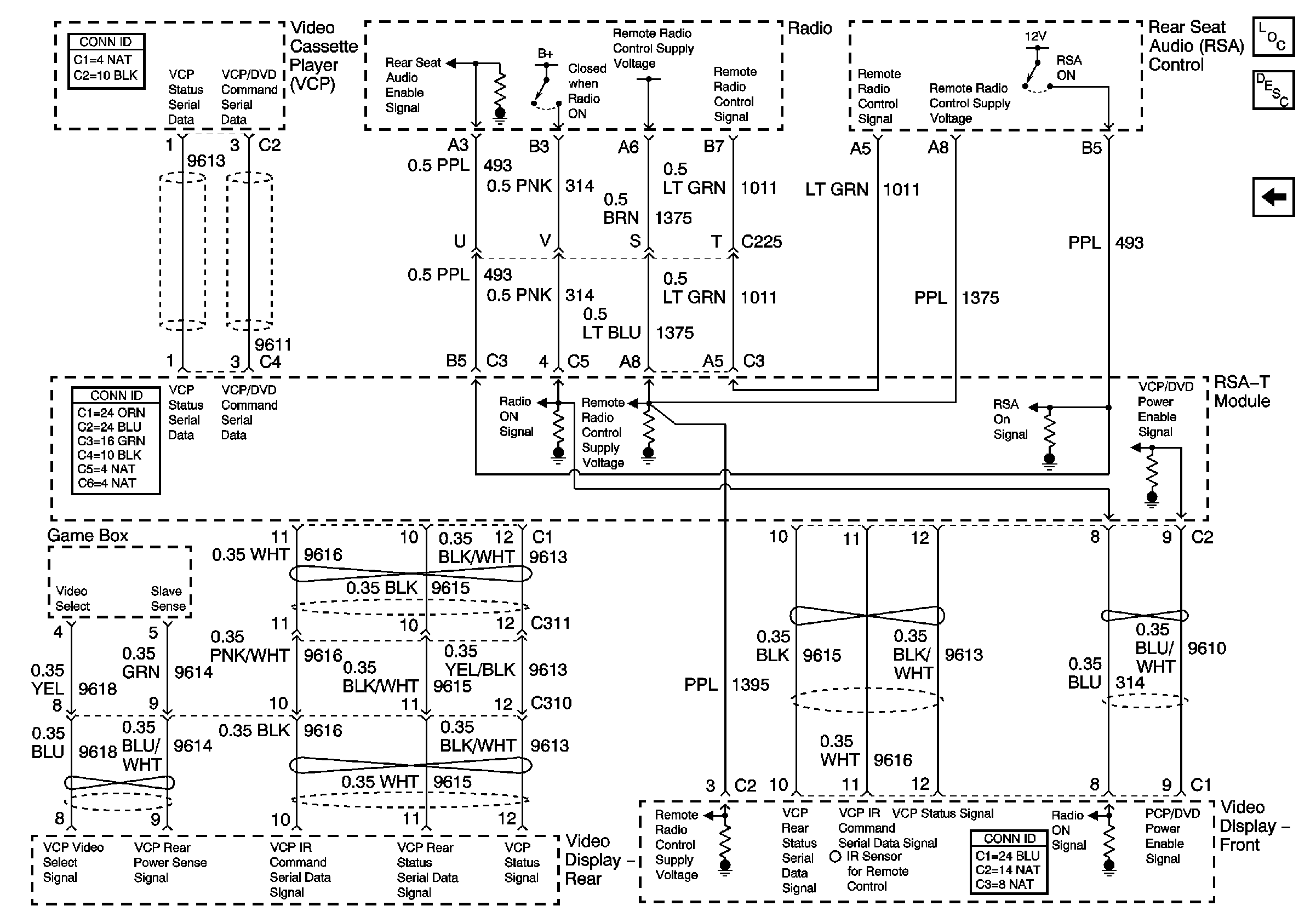
Figure 2:

Video Display Power and Grounding


Object Number: 762828  Size: FS
Master Electrical Component List
Radio/Audio System Description and Operation Class 2 Radio
Video Circuits
VCP Power and Grounding
G106 with Y91
Rear Fuse Block Wiring
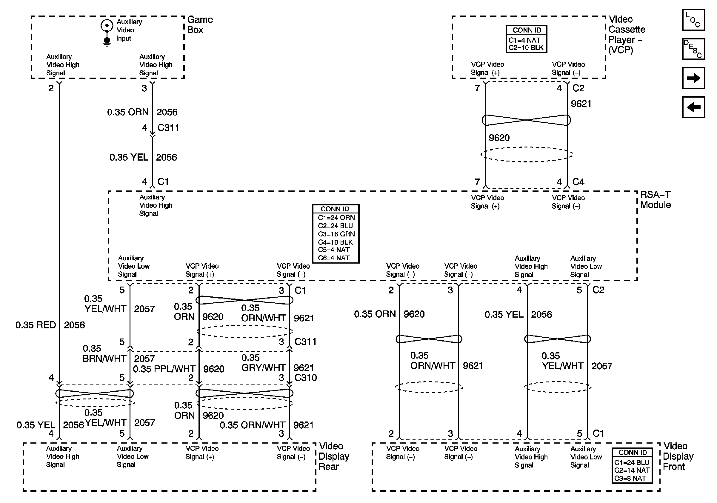
Figure 3:

Video Circuits


Object Number: 763513  Size: FS
Master Electrical Component List
Radio/Audio System Description and Operation Class 2 Radio
Sensor and Control Circuits
Video Display Power and Grounding
Figure 4:

Sensor and Control Circuits


Object Number: 763515  Size: FS
Master Electrical Component List
Radio/Audio System Description and Operation Class 2 Radio
Video Circuits