GM Service Manual Online
For 1990-2009 cars only
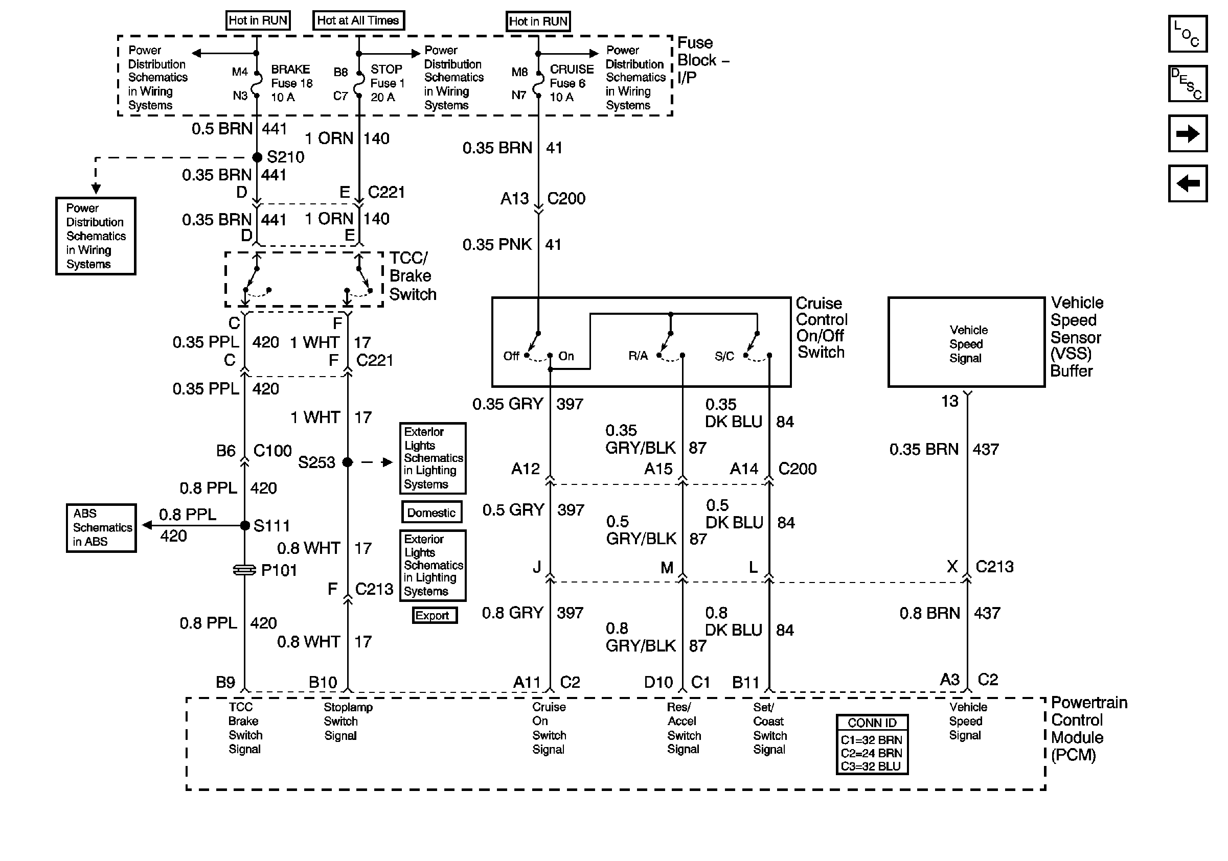
Figure 1:

4.3L, 5.0L and 5.7L Engines


Object Number: 766378  Size: FS
Master Electrical Component List
Cruise Control Description and Operation w/o ETC
6.5L Diesel Engine
Ignition A, Ignition B Fuses, and Ignition Switch
Lighting and Battery Fuses
Ignition A, Ignition B Fuses, and Ignition Switch
Cruise, Heater A/C, and Brake Fuses
Power, Ground, DLC and Indicator (Gas)
PARK LPS, TURN B/U, HAZARD, STOP Fuses
PARK LPS, TURN B/U, HAZARD, and STOP Fuses
Gauges
G101 (Gasoline Engines)
Figure 2:

6.5L Diesel Engine


Object Number: 651503  Size: FS
Master Electrical Component List
Cruise Control Description and Operation Diesel
8.1L Engine
4.3L, 5.0L and 5.7L Engines
Ignition A, Ignition B Fuses, and Ignition Switch
Lighting and Battery Fuses
Ignition A, Ignition B Fuses, and Ignition Switch
Cruise, Heater A/C, and Brake Fuses
Power, Ground, DLC and Indicator (Diesel)
PARK LPS, TURN B/U, HAZARD, STOP Fuses
PARK LPS, TURN B/U, HAZARD, and STOP Fuses
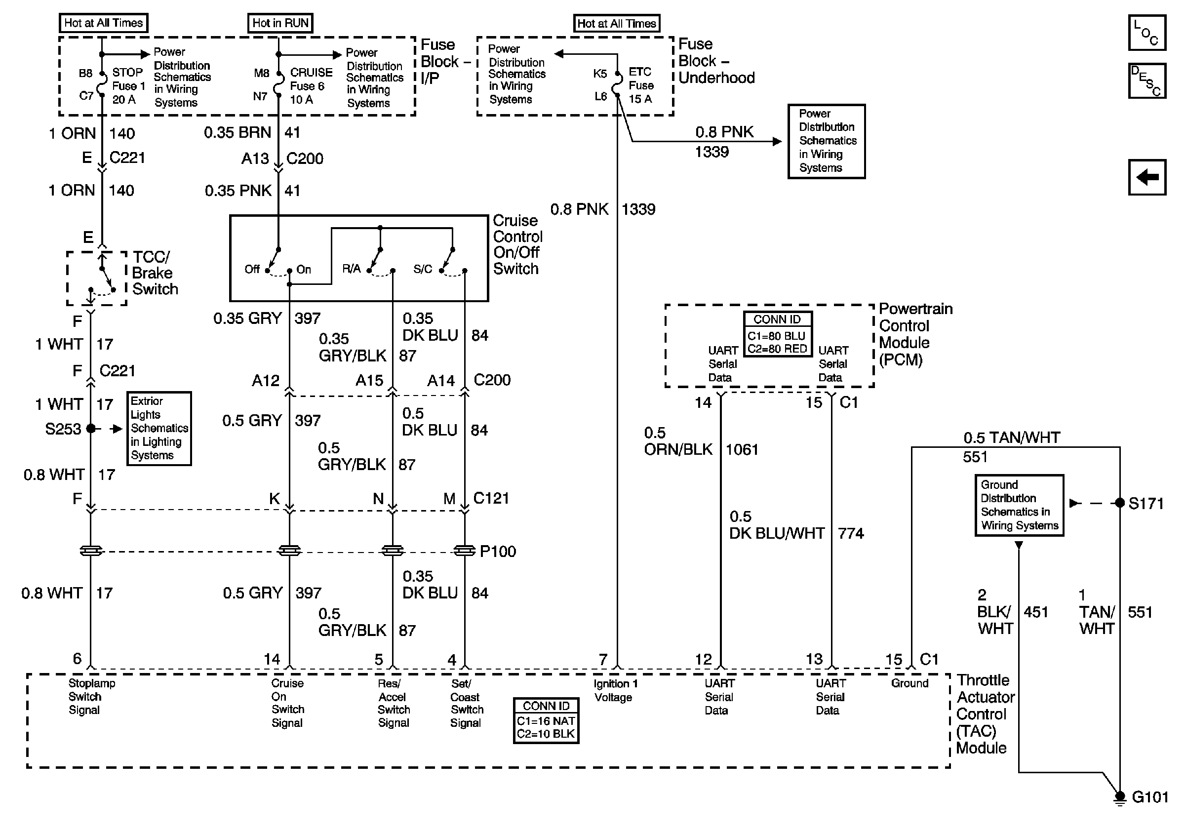
Figure 3:

8.1L Engine


Object Number: 766381  Size: FS
Master Electrical Component List
Cruise Control Description and Operation w/ ETC
6.5L Diesel Engine
Lighting and Battery Fuses
Ignition A, Ignition B Fuses, and Ignition Switch
ABS, Blower, AIR and Rear Blower Fuses
ABS, Blower, AIR and Rear Blower Fuses
PARK LPS, TURN B/U, HAZARD, STOP Fuses
G101 (Gasoline Engines)