GM Service Manual Online
For 1990-2009 cars only

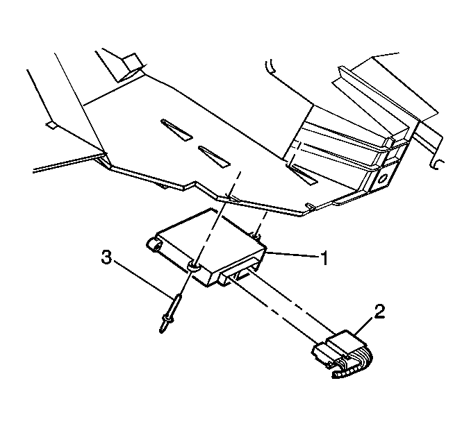
Removal Procedure


    Object Number: 328144  Size: SH
  1. Remove the fasteners (3) that retain the vehicle speed sensor (VSS) buffer (1) to the instrument panel carrier.
  2. Remove the VSS buffer (1) from the instrument panel carrier.
  3. Disconnect the electrical connector (2) from the VSS buffer (1).
  4. Remove the VSS buffer (1) from the vehicle.

Installation Procedure


    Object Number: 328144  Size: SH
  1. Install the vehicle speed sensor (VSS) buffer (1) to the vehicle.
  2. Connect the electrical connector (2) the VSS buffer (1).
  3. Position the VSS buffer (1) to the instrument panel carrier.
  4. Install the VSS buffer fasteners (3) that retain the VSS buffer (1) to the instrument panel carrier.