GM Service Manual Online
For 1990-2009 cars only

Tools Required

J 29873 Nozzle Socket


    Object Number: 59855  Size: SH

    Important: Final fuel injection pump timing must be set after the engine is installed in the vehicle. Refer to Fuel Injection Pump TDC Offset Adjustment in Engine Controls.

    Important: Never rotate the engine with the starter, the starter location engine rotation fixture, or with the wrench from the front of the engine with the fuel injection pump removed. The loose fuel pump drive gear could become lodged in the front cover and cause gear tooth distress and shear the camshaft drive gear. Align the camshaft gear timing marks before installing the fuel injection pump drive gear.

  1. Install the fuel injection pump and gasket with the ESO solenoid pointed straight up.

  2. Object Number: 59851  Size: SH

    Notice: Use the correct fastener in the correct location. Replacement fasteners must be the correct part number for that application. Fasteners requiring replacement or fasteners requiring the use of thread locking compound or sealant are identified in the service procedure. Do not use paints, lubricants, or corrosion inhibitors on fasteners or fastener joint surfaces unless specified. These coatings affect fastener torque and joint clamping force and may damage the fastener. Use the correct tightening sequence and specifications when installing fasteners in order to avoid damage to parts and systems.

  3. Install the fuel injection pump nuts.
  4. Tighten
    Tighten the nuts to 40 N·m (30 lb ft).


    Object Number: 622853  Size: SH
  5. Install the fuel injection pump gear. Align the slot in the fuel injection pump gear with the locating pin on the fuel injection pump hub.
  6. Important: Align the timing marks. Be certain the mark on the fuel injection pump gear is aligned with the mark on the camshaft gear. For the proper timing of the fuel injection pump, the cam gear timing mark must be in the 12 o'clock position. Rotate the crankshaft to bring the cam gear timing mark up to the 12 o'clock position.

  7. Install the fuel injection pump gear retaining bolts.
  8. Tighten
    Tighten the bolts to 25 N·m (20 lb ft).


    Object Number: 60452  Size: SH

    Notice: In order to remove or install an injection nozzle, use the J 29873 on the 30-mm portion of the nozzle. Failure to use the 30-mm hex portion will result in damage to the injection nozzle.

  9. Apply a thin coating of anti-seize compound to the threads of the injection nozzle (1).
  10. Install the injection nozzle and gasket (2), using the J 29873 .
  11. Tighten
    Tighten the nozzle to 80 N·m (59 lb ft).


    Object Number: 70019  Size: SH
  12. Install the injection line brackets.
  13. Important: 

       • Uncap the injection lines before assembly.
       • Install the injection lines in the correct position.
       • Do not bend the injection lines.

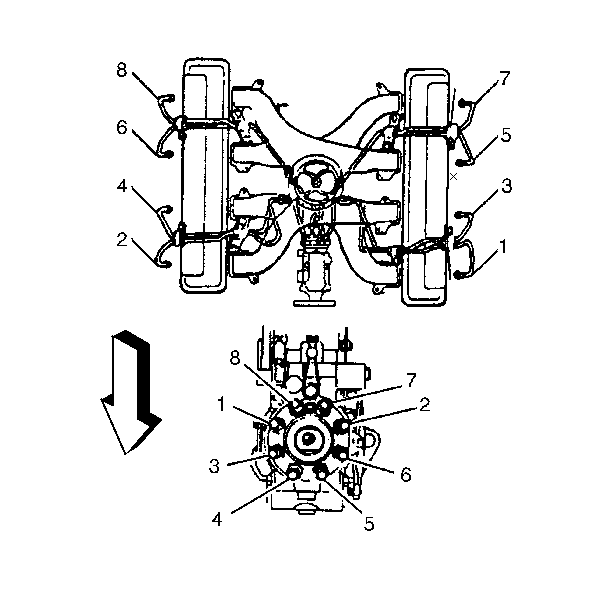
  14. Install the injection lines (1-8) to the pump.

  15. Object Number: 598546  Size: SH

    Important: 

       • Uncap the injection lines before assembly.
       • Install the injection lines in the correct position.
       • Do not bend the injection lines.

  16. Install the injection lines to the nozzles.
  17. Tighten
    Tighten the injection line fittings to 36 N·m (28 lb ft).

  18. Install the injection line clips to the brackets.

  19. Object Number: 59763  Size: SH
  20. Install the fuel inlet line to the fuel injection pump.
  21. Install the fuel return hose to the fuel injection pump.
  22. Install the fuel return line brackets on the front left and the front right side rocker covers.
  23. Install the fuel return hoses at the injector nozzles.
  24. Install the clamps.