GM Service Manual Online
For 1990-2009 cars only
Makes
🢒
Chevrolet
🢒
2001
🢒
Express
🢒
Engine
🢒
Engine Mechanical - 6.5L
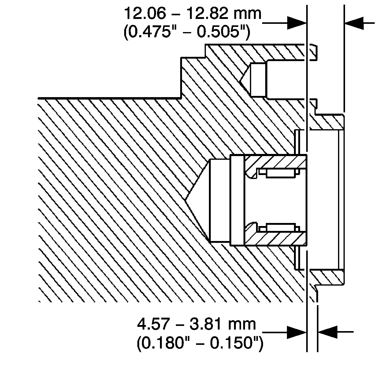
🢒 Clutch Pilot Bearing Installation
Clutch Pilot Bearing Installation C3500HD
Caution:
Wear safety glasses in order to avoid eye damage.
Install the NEW clutch pilot bearing.
Measure to ensure the proper installation depth is obtained.