GM Service Manual Online
For 1990-2009 cars only
Makes
🢒
Chevrolet
🢒
2001
🢒
Express
🢒
Transmission/Transaxle
🢒
Automatic Transmission - 4L80-E
🢒 Output Shaft Seal Removal
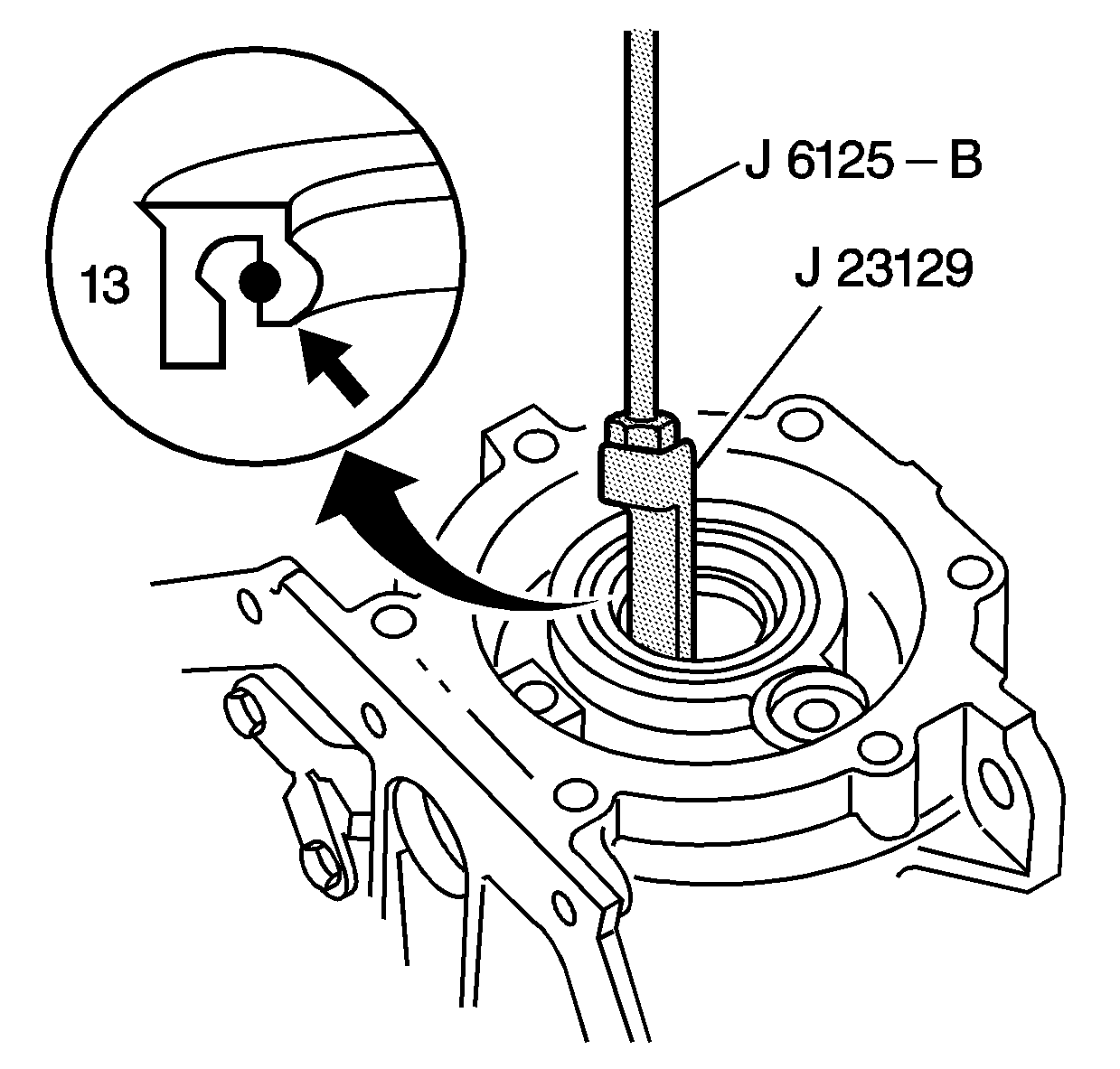
Tools Required
•
J 6125-1B
Slide Hammer
•
J 23129
Universal Seal Remover
Remove the output shaft seal retainer ring (14).
Inspect the output shaft seal retainer ring (14) for damage.
Using the
J 23129
and the
J 6125-1B
, remove the output shaft seal (13).