GM Service Manual Online
For 1990-2009 cars only

    Object Number: 28421  Size: SH
  1. Install the parking pawl shaft (702) and the parking pawl (703).
  2. Install the parking pawl shaft retainer (704).
  3. Install the parking pawl spring (705).

  4. Object Number: 28422  Size: SH
  5. Apply sealer GM P/N 12345382 or equivalent, to the parking pawl shaft hole plug (701).
  6. Using a 5/16 inch diameter rod, install the parking pawl shaft hole plug (701).

  7. Object Number: 28423  Size: SH
  8. Assemble the manual shift shaft detent lever assembly (711) to the parking pawl actuator assembly (710).
  9. Install the parking pawl actuator assembly (710) over the parking pawl.

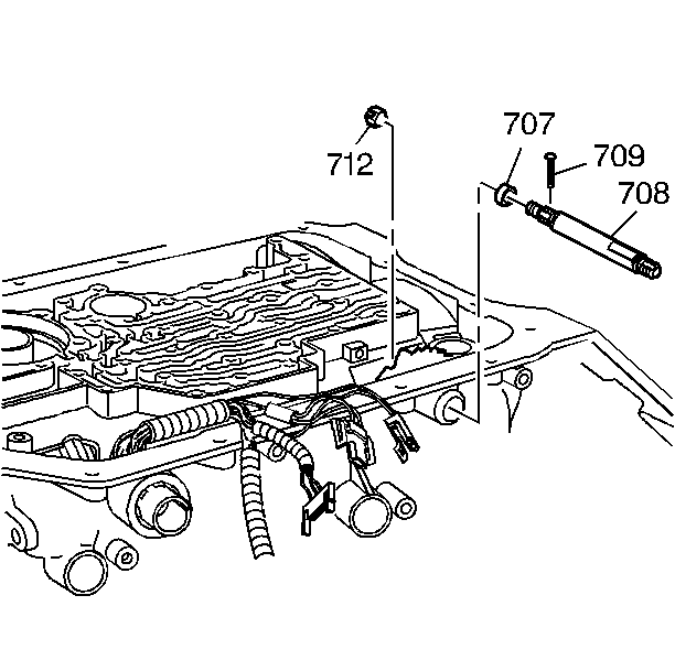
  10. Object Number: 56531  Size: SH
  11. Install the manual shift shaft seal (707).
  12. Partially install the manual shift shaft (708).
  13. Install the manual shift shaft detent lever nut (712) onto the manual shift shaft (708).
  14. Fully install the manual shift shaft (708).
  15. Install the manual shift shaft pin (709) onto the manual shift shaft (708).
  16. Notice: Use the correct fastener in the correct location. Replacement fasteners must be the correct part number for that application. Fasteners requiring replacement or fasteners requiring the use of thread locking compound or sealant are identified in the service procedure. Do not use paints, lubricants, or corrosion inhibitors on fasteners or fastener joint surfaces unless specified. These coatings affect fastener torque and joint clamping force and may damage the fastener. Use the correct tightening sequence and specifications when installing fasteners in order to avoid damage to parts and systems.

  17. Tighten the manual shift shaft detent lever nut (712).
  18. Tighten
    Tighten the nut to 24 N·m (18 lb ft).


    Object Number: 28425  Size: SH
  19. Install the parking pawl actuator bracket (713).
  20. Install the parking pawl actuator bracket bolts (714).
  21. Tighten
    Tighten the bolts to 24 N·m (18 lb ft).