GM Service Manual Online
For 1990-2009 cars only

Tools Required

J 36850 Transjel® Lubricant


    Object Number: 31084  Size: SH
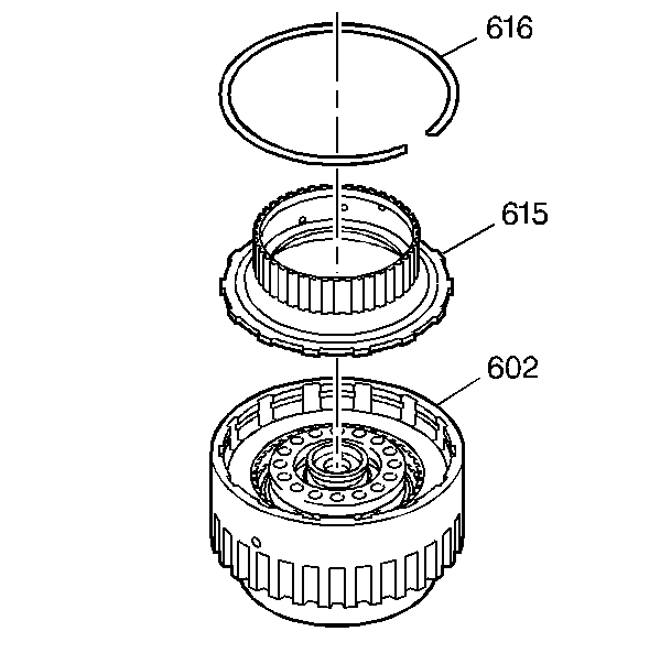
  1. Remove the direct clutch hub retainer ring (616).
  2. Remove the direct clutch hub (615).

  3. Object Number: 31086  Size: SH
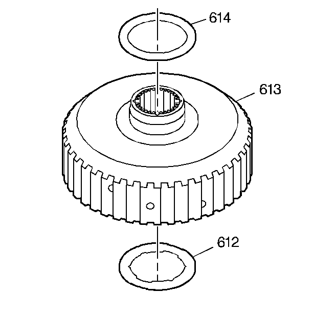
  4. Install the forward clutch housing thrust washer (612) (bronze) on the inside of the forward clutch hub (613). Retain the thrust washer with J 36850 or equivalent.
  5. Install the direct clutch housing thrust washer (614) (plastic) on the outside of the forward clutch hub (613). Retain the thrust washer with J 36850 or equivalent.

  6. Object Number: 31087  Size: SH
  7. Install the forward clutch hub (613) into the forward clutch housing assembly (602). Rotate the hub slightly in each direction in order to ease installation.
  8. Install the direct clutch hub (615) into the forward clutch housing assembly (602).
  9. Install the direct clutch hub retainer ring (616).