GM Service Manual Online
For 1990-2009 cars only

DTC P0502 Gas Only


Object Number: 657403  Size: MF
Master Electrical Component List
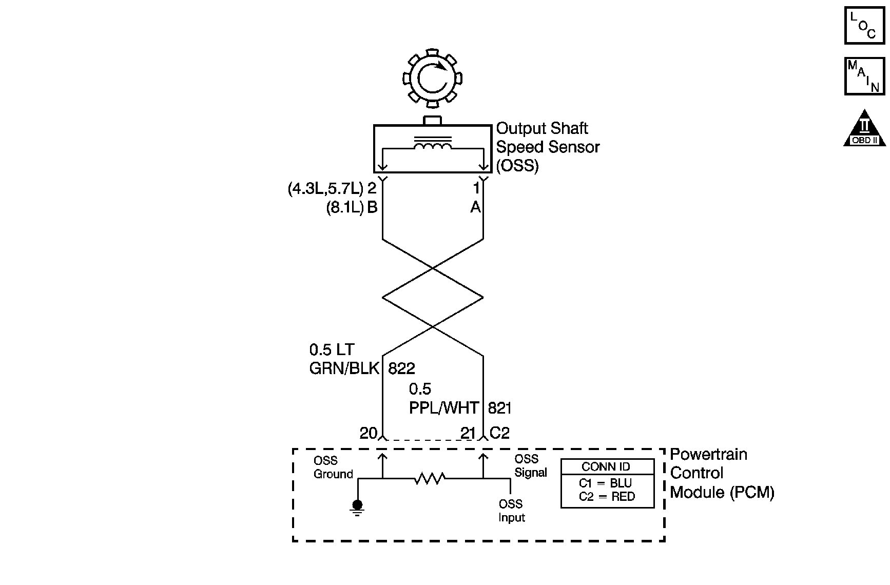
Automatic Transmission Controls Schematics 4L80E Gas
OBD II Symbol Description Notice

Circuit Description

The output shaft speed (OSS) sensor , which is a permanent magnet generator, provides the vehicle speed information to the powertrain control module (PCM). The PM generator produces a pulsing AC voltage as the transmission speed sensors rotor teeth pass through the sensor's magnetic field. The AC voltage level and the number of pulses increase as the speed of the vehicle increases. The PCM then converts the pulsing voltage to a digital signal for vehicle speed. The vehicle speed is used for engine and transmission calculations.

If the PCM detects a low vehicle speed and there is a high engine speed in a drive gear range, DTC P0502 sets. DTC P0502 is a type C DTC. For California emissions, DTC P0502 is a type B DTC.

Conditions for Running the DTC

    • No MAF sensor DTCs P0101, P0102 or P0103.
    • No MAP sensor DTCs P0106, P0107 or P0108.
    • No TP sensor DTCs P0122 or P0123.
    • No TFP manual valve position switch DTC P1810.
    • No AT ISS DTCs P0716 or P0717.
    • The engine torque must be between 108 N·m (80 lb ft) and:
      • 4.3 L, 5.7 L: 542 N·m (400 lb ft)
      • 8.1 L: 881 N·m (650 lb ft)
    • No change in 4WD low for at least 2 seconds.
    • The AT ISS is greater than 1,400 RPM.
    • The gear range is not PARK or NEUTRAL.
    • The system voltage is 8-18 volts.
    • TP angle is greater than 10 percent.
    • The engine is running greater than 400 RPM for greater than 7 seconds.

Conditions for Setting the DTC

The AT OSS is less than 50 RPM for at least 4 seconds.

Action Taken When the DTC Sets

    • For California emission equipped vehicles, the PCM illuminates the malfunction indicator lamp (MIL) during the second consecutive trip in which the Conditions for Setting the DTC are met. For Non-California emission equipped vehicles, the malfunction indicator lamp (MIL) is not illuminated.
    • The PCM commands maximum line pressure.
    • The PCM freezes the shift adapts.
    • The PCM defaults a calculated output speed value by using the AT ISS values.
    • The PCM records the operating conditions when the Conditions for Setting the DTC are met. The PCM stores this information as Freeze Frame (Calif. only) and Failure Records (Calif. and Federal).
    • The PCM stores the DTC P0502 in PCM history during the second consecutive trip (Calif.) or the first trip (Federal) in which the Conditions for Setting the DTC are met.

Conditions for Clearing the MIL/DTC

    • For California emissions, the PCM turns OFF the MIL during the third consecutive trip in which the diagnostic test runs and passes.
    • A scan tool can clear the MIL/DTC.
    • For California emissions, the PCM clears the DTC from PCM history if the vehicle completes 40 warm-up cycles without an emission related diagnostic fault occurring.
    • For Federal emissions, the PCM clears the DTC from PCM history if the vehicle completes 40 warm-up cycles without a non-emission related diagnostic fault occurring.
    • The PCM cancels the DTC default actions when the fault no longer exists and the ignition switch is OFF long enough in order to power down the PCM.

Diagnostic Aids

DTC P0502 defaults to an elevated line pressure condition which may result in TCC partial apply. This may induce idle surge and engine stall.

Test Description

The numbers below refer to the step numbers on the diagnostic table.

  1. This step tests the AT OSS circuit.

  2. This step tests the integrity of the AT OSS sensor.

DTC P0502

Step

Action

Value(s)

Yes

No

1

Did you perform the Powertrain Diagnostic System Check?

--

Go to Step 2

Go to Diagnostic System Check - Engine Controls (4.3 L) or Diagnostic System Check - Engine Controls (5.0/5.7 L) or Diagnostic System Check - Engine Controls (8.1 L) in Engine Controls

2

  1. Install a Scan Tool .
  2. Turn ON the ignition, with the engine OFF.
  3. Important: Before clearing the DTC, use the Scan Tool in order to record the Freeze Frame and Failure Records for reference. The Clear Info function will erase the data.

  4. Record the DTC Freeze Frame and Failure Records.
  5. Clear the DTC.
  6. Raise and support the rear axle assembly.
  7. Start the engine.
  8. Place the transmission in any drive range.

With the drive wheels rotating, does the Scan Tool Transmission OSS increase with the drive wheel speed?

--

Go to Intermittent Conditions (4.3 L) or Intermittent Conditions (5.0/5.7 L) or Intermittent Conditions (8.1 L) in Engine Controls

Go to Step 3

3

  1. Turn OFF the ignition.
  2. Disconnect the PCM connector C2.
  3. Using the J 39200 digital multimeter (DMM) and the J 35616 connector test adapter kit, measure the resistance between harness connector terminals C2-20 and C2-21.

Does the resistance measure within the specified range?

1,377-3,355 ohms

Go to Step 4

Go to Step 7

4

  1. Place the transmission in NEUTRAL.
  2. Select AC volts.
  3. Prevent one rear wheel from turning.
  4. Rotate the other rear wheel by hand, ensuring that the driveshaft is turning.

Does the voltage measure greater than the specified value?

0.5 V

Go to Step 5

Go to Step 12

5

Measure the resistance from terminal C2-21 to ground.

Does the resistance measure greater than the specified value?

50 K ohms

Go to Step 6

Go to Step 9

6

  1. Reconnect the PCM connector C2.
  2. Disconnect the engine wiring harness from the AT OSS assembly.
  3. Turn ON the ignition, with the engine OFF.
  4. Test the high circuit (CKT 821) of the AT OSS assembly for a short to power.
  5. Refer to Circuit Testing and Wiring Repairs in Wiring Systems.

Did you find and correct the condition?

--

Go to Step 15

Go to Step 14

7

  1. Disconnect the engine wiring harness from the AT OSS assembly.
  2. Measure the resistance of the AT OSS assembly.

Does the resistance measure within the specified range?

1,377-3,355 ohms

Go to Step 8

Go to Step 13

8

Was the resistance measured in Step 3 greater than the specified value?

3,355 ohms

Go to Step 10

Go to Step 11

9

Test the high circuit (CKT 821) of the AT OSS assembly for a short to ground.

Refer to Circuit Testing and Wiring Repairs in Wiring Systems.

Did you find and correct the condition?

--

Go to Step 15

--

10

  1. Test the high circuit (CKT 821) of the AT OSS assembly for an open.
  2. Test the low circuit (CKT 822) of the AT OSS assembly for an open.
  3. Refer to Circuit Testing and Wiring Repairs in Wiring Systems.

Did you find and correct the condition?

--

Go to Step 15

--

11

Test the high circuit (CKT 821) and the low circuit (CKT 822) of the AT OSS assembly for a short together.

Refer to Circuit Testing and Wiring Repairs in Wiring Systems.

Did you find and correct the condition?

--

Go to Step 15

--

12

  1. Remove the AT OSS assembly.
  2. Inspect the output shaft speed sensor rotor for damage or misalignment.
  3. Inspect the case extension bushing for wear.

Did you find and correct the condition?

--

Go to Step 15

Go to Step 13

13

Important: For vehicles equipped with an active transfer case, identify the AT OSS assembly before replacing. There are two transfer case speed sensors located near the AT OSS assembly. Refer to the wire colors on the schematic to identify the AT OSS assembly.

Replace the AT OSS assembly.

Refer to Vehicle Speed Sensor Replacement .

Did you complete the replacement?

--

Go to Step 15

--

14

Replace the PCM.

Refer to Powertrain Control Module Replacement (4.3 L) or Powertrain Control Module Replacement (5.0/5.7 L) or Powertrain Control Module Replacement (8.1 L) in Engine Controls.

Did you complete the replacement?

--

Go to Step 15

--

15

Perform the following procedure in order to verify the repair:

  1. Select DTC.
  2. Select Clear Info.
  3. Operate the vehicle, so that the transmission output speed is greater than 250 RPM for 2 seconds.
  4. Select Specific DTC.
  5. Enter DTC P0502.

Has the test run and passed?

--

System OK

Go to Step 1