GM Service Manual Online
For 1990-2009 cars only

DTC P0748 Gas


Object Number: 657413  Size: MF
Master Electrical Component List
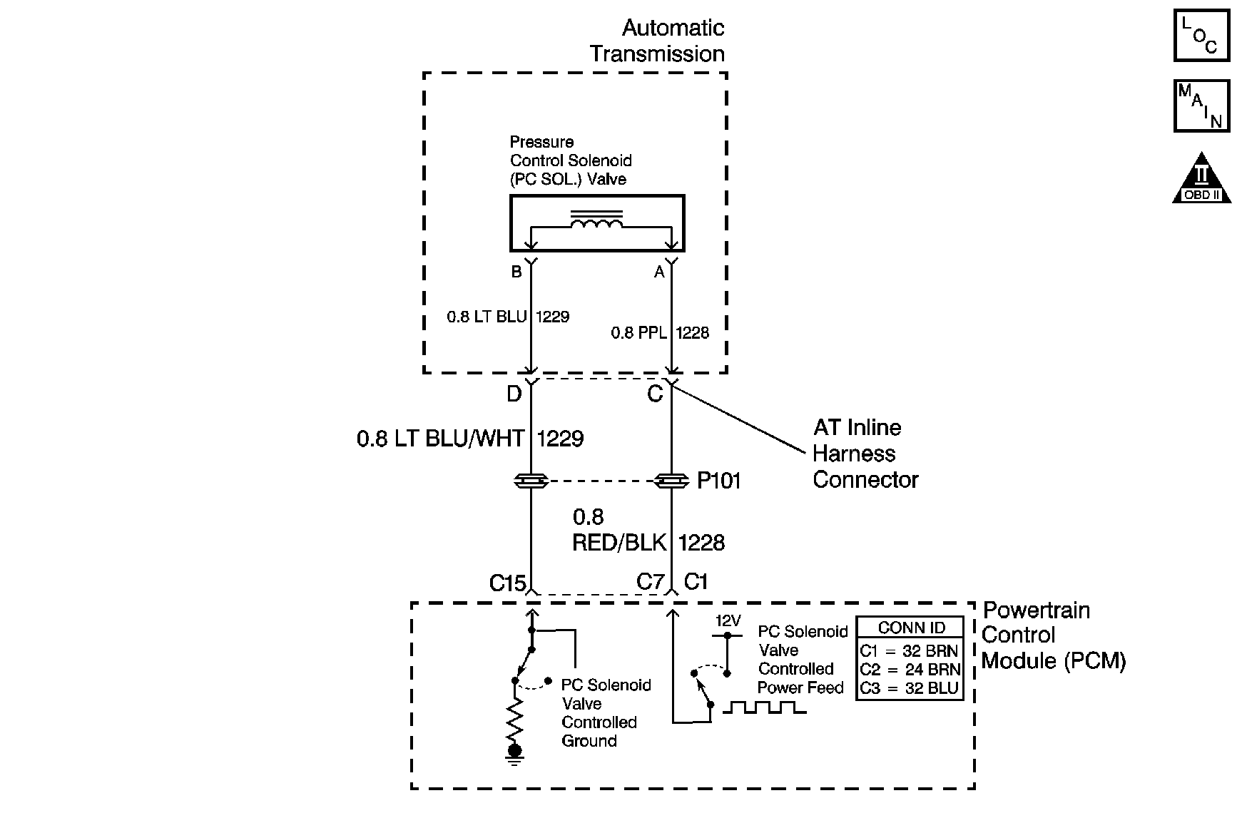
Automatic Transmission Controls Schematics 4L80E Gas
OBD II Symbol Description Notice

Circuit Description

The pressure control (PC) solenoid valve is a powertrain control module (PCM) controlled device that regulates the transmission line pressure. The PCM compares throttle position (TP) sensor voltage, engine RPM, and other inputs in order to determine the appropriate line pressure for a given load. The PCM regulates line pressure by applying a varying duty cycle to the PC solenoid valve based on the resistance of the solenoid, and the amperage needed to obtain optimum line pressure. The applied amperage varies from 0.1 amps for maximum line pressure to 1.1 amps for minimum line pressure.

If the PCM detects a PC duty cycle that exceeds 95 percent or less than 1.9 percent, then DTC P0748 sets. DTC P0748 is a type C DTC.

Conditions for Running the DTC

    • The system voltage is greater than 11 volts at -40°C (40°F) TFT, or 12 volts at 150°C (302°F) TFT.
    • The engine must be running more than 300 RPM for at least 7 seconds, and not in fuel cut-off.

Conditions for Setting the DTC

    • The PC duty cycle exceeds 95 percent or is less than 1.9 percent.
    • All conditions are met for 700 milliseconds (0.5 seconds).

Action Taken When the DTC Sets

    • The PCM does not illuminate the malfunction indicator lamp (MIL).
    • The PCM disables the PC solenoid valve, defaulting the transmission to maximum line pressure.
    • The PCM freezes shift adapts.
    • The PCM records the operating conditions when the Conditions for Setting the DTC are met. The PCM stores this information as Failure Records.
    • The PCM stores DTC P0748 in PCM history.

Conditions for Clearing the DTC

    • A scan tool clears the DTC from PCM history.
    • The PCM clears the DTC from PCM history if the vehicle completes 40 warm-up cycles without a non-emission related diagnostic fault occurring.
    • The PCM cancels the DTC default actions when the fault no longer exists and the ignition switch is OFF long enough in order to power down the PCM.

Diagnostic Aids

    • Inspect for improperly wired after-market equipment.
    • DTC P0748 defaults to an elevated line pressure condition which may result in TCC partial apply. This may induce idle surge and engine stall.

Test Description

The numbers below refer to the step numbers on the diagnostic table.

  1. This step tests the ability of the PCM to command the PC solenoid valve.

  2. This step tests the PC solenoid valve and the AT wiring harness assembly for incorrect resistance.

  3. This step tests the PC solenoid valve and the internal wiring harness for a short to ground.

  4. This step tests the entire PC solenoid valve circuit up to the PCM for continuity.

  5. This step tests for a short to ground in the PC solenoid valve high control (Sol. A) circuit (CKT 1228) and the PC solenoid valve low control (Sol. A) circuit (CKT 1229), of the engine harness.

DTC P0748

Step

Action

Value(s)

Yes

No

1

Did you perform the Powertrain Diagnostic System Check?

--

Go to Step 2

Go to Diagnostic System Check - Engine Controls (4.3 L) or Diagnostic System Check - Engine Controls (5.0/5.7 L) or Diagnostic System Check - Engine Controls (8.1 L) in Engine Controls

2

  1. Install a Scan Tool .
  2. Turn ON the ignition, with the engine OFF.
  3. Important: Before clearing the DTCs, use the Scan Tool in order to record the Failure Records. Using the Clear Info function erases the Failure Records from the PCM.

  4. Record the Failure Records.
  5. Clear the DTCs.
  6. With the transmission in PARK, start the engine.
  7. Using the transmission output control function on the Scan Tool , apply 0.1-1.0 amps while observing the PC Ref. current and the PC Act. current.
  8. Refer to Line Pressure .

Is the PC Act. current reading always within the specified value of the PC Ref. current?

0.16 amp

Go to Intermittent Conditions (4.3 L) or Intermittent Conditions (5.0/5.7 L) or Intermittent Conditions (8.1 L) in Engine Controls

Go to Step 3

3

  1. Turn OFF the ignition.
  2. Disconnect the transmission 20-way connector. Additional DTCs may set.
  3. Install the J 44152 jumper harness (20 pins) on the transmission side of the 20-way connector.
  4. Using the J 39200 digital multimeter (DMM) and the J 35616 connector test adapter kit, measure the resistance between terminals C and D.

Does the resistance measure within the specified value?

3-7 ohms

Go to Step 5

Go to Step 4

4

  1. Disconnect the automatic transmission wiring harness assembly at the PC solenoid valve.
  2. Measure the resistance of the PC solenoid valve.

Does the resistance measure within the specified range?

3-7 ohms

Go to Step 15

Go to Step 7

5

Measure the resistance from terminal C on the jumper harness, to the transmission case.

Does the resistance measure less than the specified value?

7 ohms

Go to Step 6

Go to Step 8

6

Inspect the automatic transmission wiring harness assembly for a short to ground condition.

Refer to Circuit Testing and Wiring Repairs in Wiring Systems.

Was a shorted condition found?

--

Go to Step 15

Go to Step 7

7

Replace the PC solenoid valve.

Refer to Pressure Regulator Replacement .

Did you complete the replacement?

--

Go to Step 17

--

8

Measure the resistance between terminal C and all other terminals, except terminal D, of the J 44152 .

Refer to Automatic Transmission Inline Harness Connector End View .

Is the resistance between terminal C and any other terminal, except terminal D, less than the specified value?

100 ohms

Go to Step 15

Go to Step 9

9

  1. Disconnect the J 44152 from the transmission side of the 20-way connector.
  2. Reconnect the transmission 20-way connector.
  3. Disconnect the PCM connector C2.
  4. Measure the resistance between terminals C2-6 and C2-8.

Does the resistance measure within the specified range?

3-7 ohms

Go to Step 10

Go to Step 11

10

  1. Connect the J 39200 DMM to terminal C2-6 and to a good ground.
  2. Measure the resistance.

Does the resistance measure greater than the specified value?

7 ohms

Go to Step 16

Go to Step 14

11

Does the resistance in Step 9 measure greater than the specified value?

7 ohms

Go to Step 12

Go to Step 13

12

  1. Test the PC solenoid valve high control (Sol. A) circuit (CKT 1228) for an open.
  2. Refer to Circuit Testing and Wiring Repairs in Wiring Systems.

  3. Test the PC solenoid valve low control (Sol. A) circuit (CKT 1229) for an open.
  4. Refer to Circuit Testing and Wiring Repairs in Wiring Systems.

  5. Repair the circuits if necessary.
  6. Refer to Circuit Testing and Wiring Repairs in Wiring Systems.

Did you find and correct the condition?

--

Go to Step 17

--

13

Test the PC solenoid valve high control (Sol. A) circuit (CKT 1228) and the PC solenoid valve low control (Sol. A) circuit (CKT 1229) for a shorted together condition.

Refer to Circuit Testing and Wiring Repairs in Wiring Systems.

Did you find and correct the condition?

--

Go to Step 17

--

14

  1. Test the PC solenoid valve high control (Sol. A) circuit (CKT 1228) for a short to ground.
  2. Refer to Circuit Testing and Wiring Repairs in Wiring Systems.

  3. Test the PC solenoid valve low control (Sol. A) circuit (CKT 1229) for a short to ground.
  4. Refer to Circuit Testing and Wiring Repairs in Wiring Systems.

  5. Repair the circuits if necessary.

Did you find and correct the condition?

--

Go to Step 17

--

15

Replace the automatic transmission wiring harness assembly.

Refer to Wiring Harness Replacement.

Did you complete the replacement?

--

Go to Step 17

--

16

Replace the PCM.

Refer to Powertrain Control Module Replacement (4.3 L) or Powertrain Control Module Replacement (5.0/5.7 L) or Powertrain Control Module Replacement (8.1 L) in Engine Controls.

Did you complete the replacement?

--

Go to Step 17

--

17

Perform the following procedure in order to verify the repair:

  1. Select DTC.
  2. Select Clear Info.
  3. Ensure the following conditions are met:
  4. • The engine is running.
    • The PC duty cycle is 2-95%.
  5. Select Specific DTC.
  6. Enter DTC P0748.

Has the test run and passed?

--

System OK

Go to Step 1

DTC P0748 Diesel


Object Number: 700782  Size: MF
Master Electrical Component List
Automatic Transmission Controls Schematics 4L80E Diesel
OBD II Symbol Description Notice

Circuit Description

The pressure control (PC) solenoid valve is a vehicle control module (PCM) controlled device that regulates the transmission line pressure. The PCM compares throttle position (TP) sensor voltage, engine RPM, and other inputs in order to determine the appropriate line pressure for a given load. The PCM regulates the line pressure by applying a varying duty cycle to the PC solenoid valve based on the resistance of the solenoid, and the amperage needed to obtain optimum line pressure. The applied amperage varies from 0.1 amps for maximum line pressure to 1.1 amps for minimum line pressure.

If the PCM detects a PC duty cycle that exceeds 95 percent or is less than 1.9 percent, then DTC P0748 sets. DTC P0748 is a type C DTC.

Conditions for Running the DTC

    • The system voltage is greater than 10 volts at -40°C TFT or 12.5 volts at 150°C TFT.
    • The engine must be running greater than 475 RPM for at least 7 seconds, and not in fuel cut-off.

Conditions for Setting the DTC

    • The PC duty cycle exceeds 95 percent or is less than 1.9 percent.
    • All conditions met for 200 milliseconds (0.2 second).

Action Taken When the DTC Sets

    • The PCM does not illuminate the malfunction indicator lamp (MIL).
    • The PCM disables the PC solenoid valve, defaulting the transmission to maximum line pressure.
    • The PCM freezes shift adapts.
    • The PCM records the operating conditions when the Conditions for Setting the DTC are met. The PCM stores this information as Failure Records.
    • The PCM stores DTC P0748 in PCM history.

Conditions for Clearing the DTC

    • A scan tool clears the DTC from PCM history.
    • The PCM clears the DTC from PCM history if the vehicle completes 40 warm-up cycles without a non-emission related diagnostic fault occurring.
    • The PCM cancels the DTC default actions when the fault no longer exists and the ignition switch is OFF long enough in order to power down the PCM.

Diagnostic Aids

DTC P0748 defaults to an elevated line pressure condition which may result in TCC partial apply. This may induce idle surge and engine stall.

Test Description

The numbers below refer to the step numbers on the diagnostic table.

  1. This step tests the ability of the PCM to command the PC solenoid valve.

  2. This step tests the PC solenoid valve and the AT wiring harness assembly for incorrect resistance.

  3. This step tests the PC solenoid valve and the internal wiring harness for a short to ground.

  4. This step tests the entire PC solenoid valve circuit up to the PCM for continuity.

  5. This step tests for a short to ground in the PC solenoid valve high control circuit (CKT 1228) and the PC solenoid valve low control circuit (CKT 1229), of the engine harness.

P0748

Step

Action

Value(s)

Yes

No

1

Did you perform the Powertrain Diagnostic System Check?

--

Go to Step 2

Go to Diagnostic System Check - Engine Controls in Engine Controls

2

  1. Install a Scan Tool .
  2. Turn ON the ignition, with the engine OFF.
  3. Important: Before clearing the DTC, use the Scan Tool in order to record the Failure Records. Using the Clear Info function erases the Failure Records from the PCM.

  4. Record the DTC Failure Records.
  5. Clear the DTC.
  6. With the transmission in PARK, start the engine.
  7. Using transmission output control function on the Scan Tool , apply 0.1-1.0 amps while observing the PC Ref. current and the PC Act. current.
  8. Refer to Line Pressure .

Is the PC Act. current reading always within the specified value of the PC Ref. current?

0.16 amp

Go to Intermittent Conditions in Engine Controls

Go to Step 3

3

  1. Turn OFF the ignition.
  2. Disconnect the transmission 20-way connector. Additional DTCs may set.
  3. Install the J 44152 jumper harness (20 pins) on the transmission side of the 20-way connector.
  4. Using the J 39200 digital multimeter (DMM) and the J 35616 connector test adapter kit, measure the resistance between terminals C and D.

Does the resistance measure within the specified value?

3-7 ohms

Go to Step 5

Go to Step 4

4

  1. Disconnect the automatic transmission wiring harness assembly at the PC solenoid valve.
  2. Measure the resistance of the PC solenoid valve.

Does the resistance measure within the specified range?

3-7 ohms

Go to Step 15

Go to Step 7

5

Measure the resistance from terminal C on the jumper harness, to the transmission case.

Does the resistance measure less than the specified value?

7 ohms

Go to Step 6

Go to Step 8

6

Inspect the automatic transmission wiring harness assembly for a short to ground condition.

Refer to Circuit Testing and Wiring Repairs in Wiring Systems.

Was a shorted condition found?

--

Go to Step 15

Go to Step 7

7

Replace the PC solenoid valve.

Refer to Pressure Regulator Replacement .

Did you complete the replacement?

--

Go to Step 17

--

8

Measure the resistance between terminal C and all other terminals, except terminal D, of the J 44152 .

Refer to Automatic Transmission Inline Harness Connector End View .

Is the resistance between terminal C and any other terminal, except terminal D, less than the specified value?

100 ohms

Go to Step 15

Go to Step 9

9

  1. Disconnect the J 44152 from the transmission side of the 20-way connector.
  2. Reconnect the transmission 20-way connector.
  3. Disconnect the PCM connector C1.
  4. Measure the resistance between terminals C2-7 and C1-15.

Does the resistance measure within the specified range?

3-7 ohms

Go to Step 10

Go to Step 11

10

  1. Connect the J 39200 DMM to terminal C1-C7 and to a good ground.
  2. Measure the resistance.

Does the resistance measure greater than the specified value?

7 ohms

Go to Step 16

Go to Step 14

11

Does the resistance in Step 9 measure greater than the specified value?

7 ohms

Go to Step 12

Go to Step 13

12

  1. Test the PC solenoid valve high control circuit (CKT 1228) for an open.
  2. Refer to Circuit Testing and Wiring Repairs in Wiring Systems.

  3. Test the PC solenoid valve low control circuit (CKT 1229) for an open.
  4. Refer to Circuit Testing and Wiring Repairs in Wiring Systems.

  5. Repair the circuits if necessary.
  6. Refer to Circuit Testing and Wiring Repairs in Wiring Systems.

Did you find and correct the condition?

--

Go to Step 17

--

13

Test the PC solenoid valve high control circuit (CKT 1228) and the PC solenoid valve low control circuit (CKT 1229) for a shorted together condition.

Refer to Circuit Testing and Wiring Repairs in Wiring Systems.

Did you find and correct the condition?

--

Go to Step 17

--

14

  1. Test the PC solenoid valve high control circuit (CKT 1228) for a short to ground.
  2. Refer to Circuit Testing and Wiring Repairs in Wiring Systems.

  3. Test the PC solenoid valve low control circuit (CKT 1229) for a short to ground.
  4. Refer to Circuit Testing and Wiring Repairs in Wiring Systems.

  5. Repair the circuits if necessary.

Did you find and correct the condition?

--

Go to Step 17

--

15

Replace the automatic transmission wiring harness assembly.

Refer to Wiring Harness Replacement.

Did you complete the replacement?

--

Go to Step 17

--

16

Replace the PCM.

Refer to Powertrain Control Module Replacement in Engine Controls.

Did you complete the replacement?

--

Go to Step 17

--

17

Perform the following procedure in order to verify the repair:

  1. Select DTC.
  2. Select Clear Info.
  3. Ensure the following conditions are met:
  4. • The engine is running.
    • The PC duty cycle is 2-95%.
  5. Select Specific DTC.
  6. Enter DTC P0748.

Has the test run and passed?

--

System OK

Go to Step 1