GM Service Manual Online
For 1990-2009 cars only
Figure 1:

Module Power, Ground, Serial Data and MIL


Object Number: 756890  Size: FS
Master Electrical Component List
Powertrain Control Module Description
Engine Data Sensors: Pressure and Temperature
OBD II Symbol Description Notice
Lighting and Battery Fuses
Ignition A, Ignition B Fuses, and Ignition Switch
ECM B, Horn, and A/C Fuses
ECM 1 and Ignition E Fuses - 4.3L
ECM 1 and Ignition E Fuses - 4.3L
G101 - Gasoline Engines
Ignition A, Ignition B Fuses, and Ignition Switch
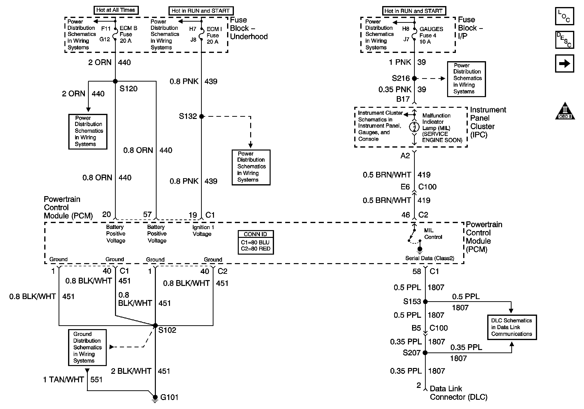
Data Link Connector (DLC)
Gages Fuse
Headlamp Switch, Instrument Cluster, Park/Neutral Position Switch
Figure 2:

Engine Data Sensors: Pressure and Temperature


Object Number: 756907  Size: FS
Master Electrical Component List
Powertrain Control Module Description
Fuel Controls: EVAP Controls
Fuel Controls: Fuel Pump Controls
OBD II Symbol Description Notice
Figure 3:

Engine Data Sensors: MAF and VSS


Object Number: 756912  Size: FS
Master Electrical Component List
Powertrain Control Module Description
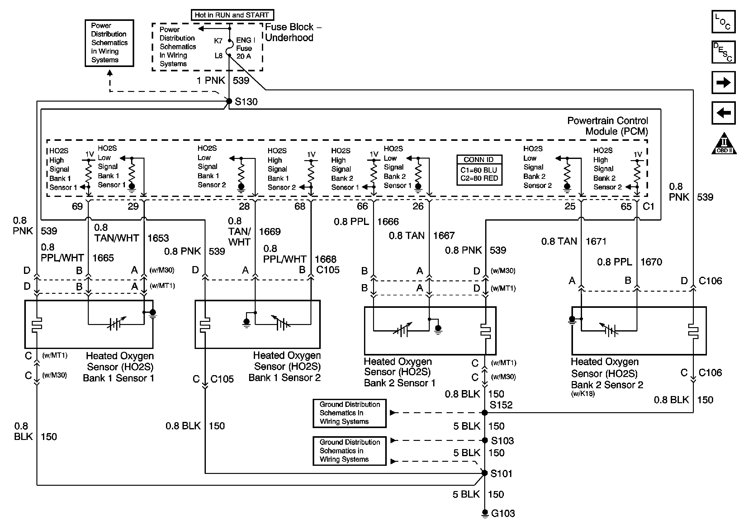
Engine Data Sensors: Heated Oxygen Sensors
Engine Data Sensors: Pressure and Temperature
OBD II Symbol Description Notice
Gages
Engine 1 Fuse - 4.3L, 5.0L, and 5.7L
Ignition A, Ignition B Fuses, and Ignition Switch
G101 - Gasoline Engines
PWR and VSS Controls
Switches And VSS
Figure 4:

Engine Data Sensors: Heated Oxygen Sensors


Object Number: 756910  Size: FS
Master Electrical Component List
Powertrain Control Module Description
Device Controls
Fuel Controls: Fuel Injectors
OBD II Symbol Description Notice
Engine 1 Fuse - 4.3L, 5.0L, and 5.7L
Ignition A, Ignition B Fuses, and Ignition Switch
Components through S152 to G103 - Gasoline Engines
G103 - 4.3L, 5.0L, and 5.7L Engines
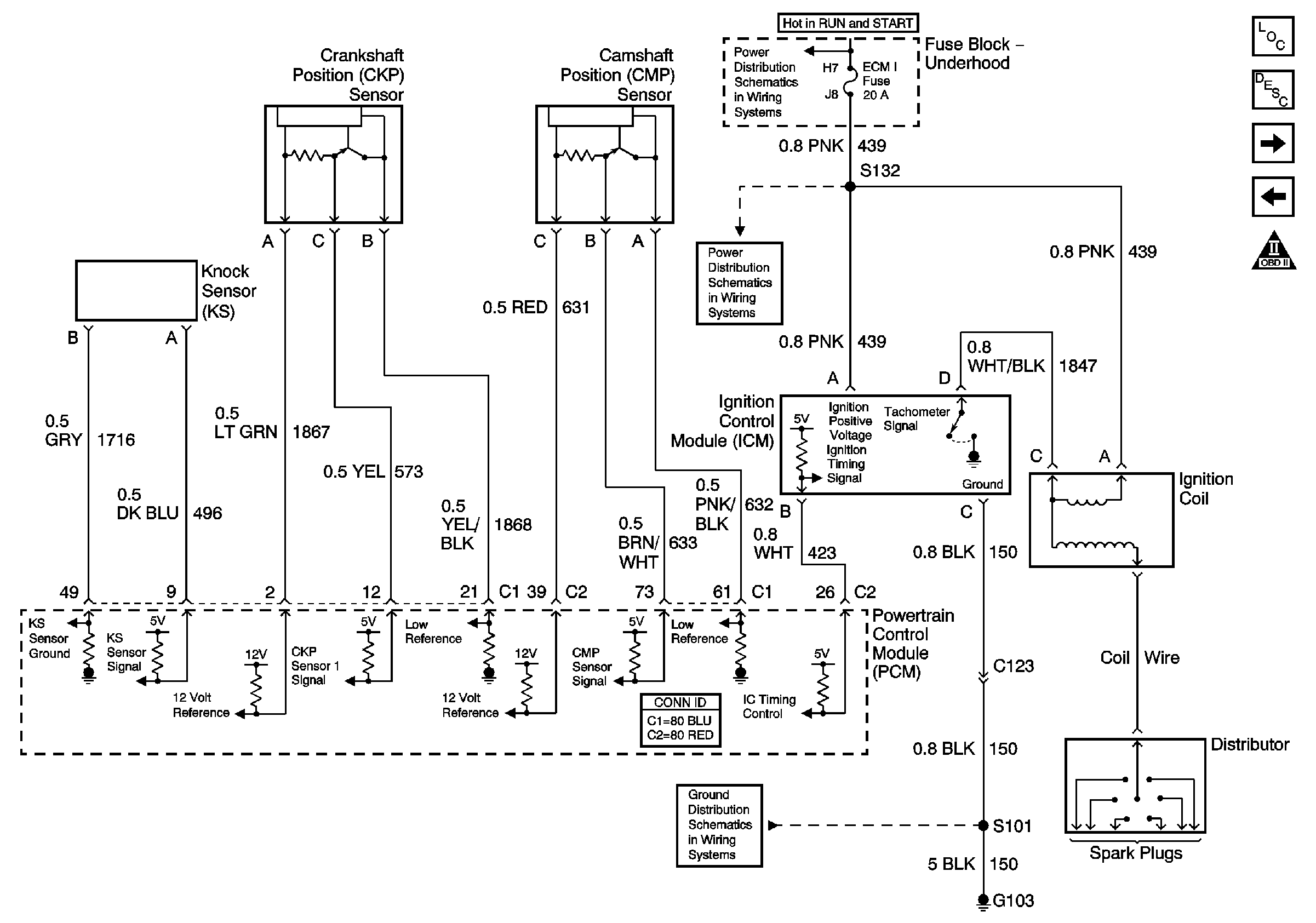
Figure 5:

Ignition Controls


Object Number: 756898  Size: FS
Master Electrical Component List
Powertrain Control Module Description
Fuel Controls: Fuel Pump Controls
Engine Data Sensors: Heated Oxygen Sensors
OBD II Symbol Description Notice
Ignition A, Ignition B Fuses, and Ignition Switch
ECM 1 and Ignition E Fuses - 4.3L
G103 - 4.3L, 5.0L, and 5.7L Engines
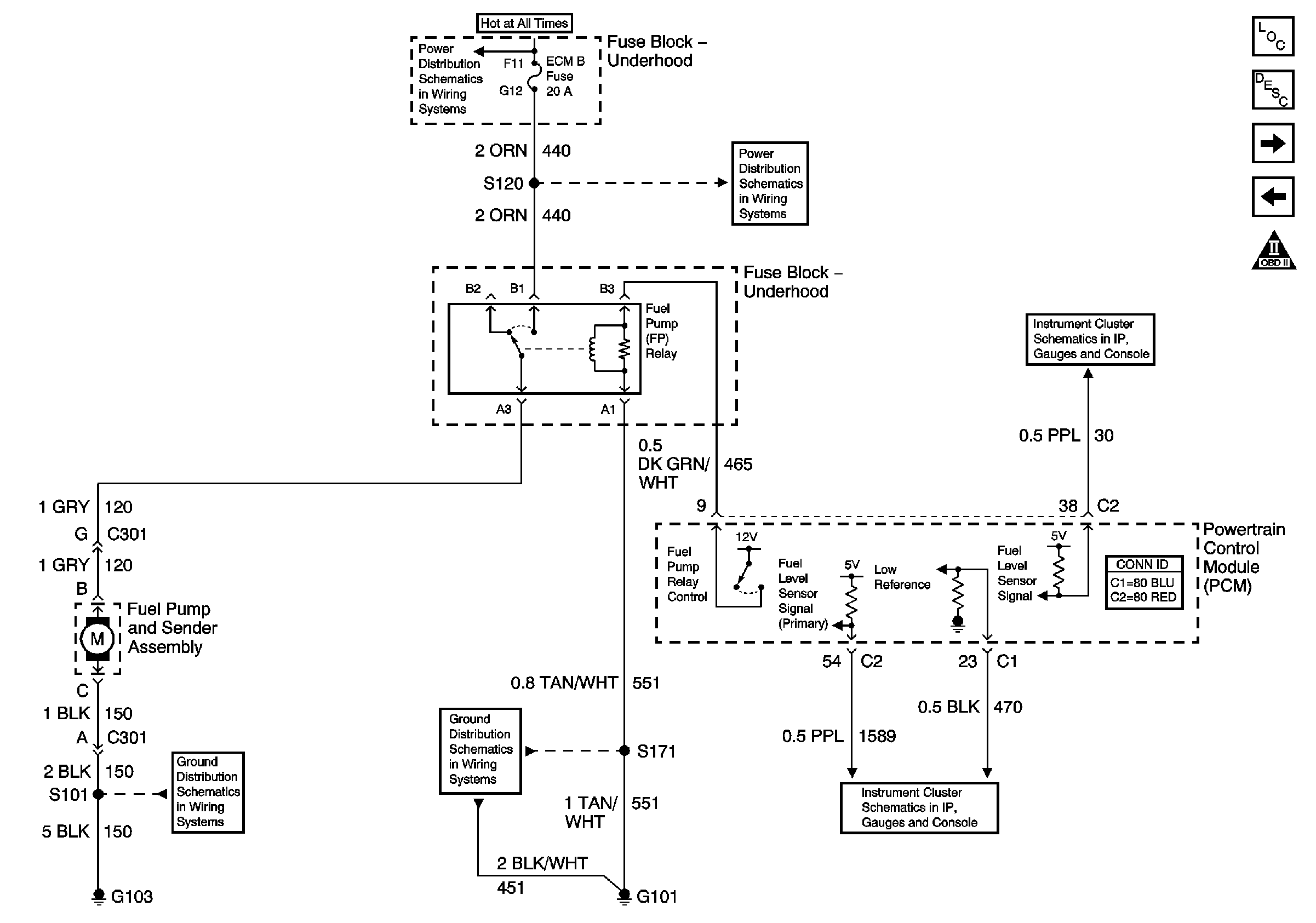
Figure 6:

Fuel Controls: Fuel Pump Controls


Object Number: 756901  Size: FS
Master Electrical Component List
Powertrain Control Module Description
Fuel Controls: Fuel Injectors
Ignition Controls
OBD II Symbol Description Notice
Lighting and Battery Fuses
ECM B, Horn, and A/C Fuses
G103 - 4.3L, 5.0L, and 5.7L Engines
G101 - Gasoline Engines
Gages
Gages
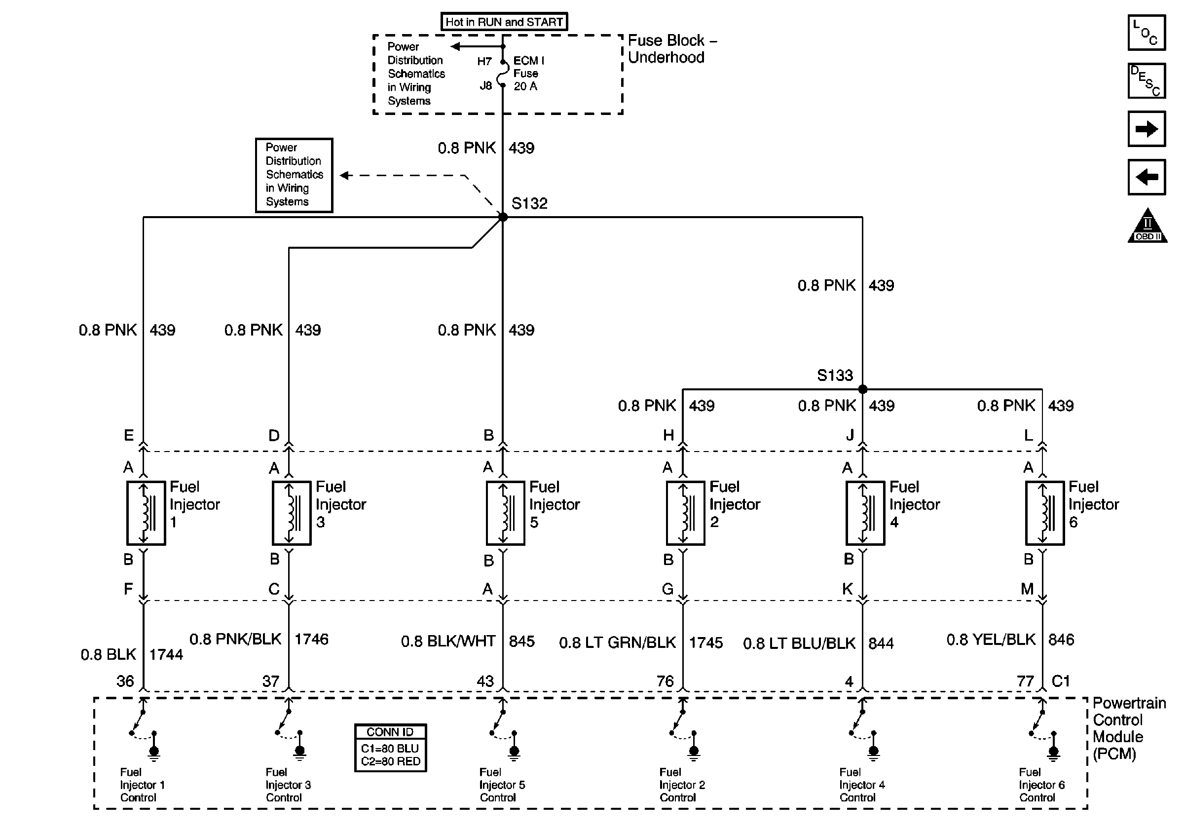
Figure 7:

Fuel Controls: Fuel Injectors


Object Number: 756905  Size: FS
Master Electrical Component List
Powertrain Control Module Description
Fuel Controls: EVAP Controls
Fuel Controls: Fuel Pump Controls
OBD II Symbol Description Notice
Ignition A, Ignition B Fuses, and Ignition Switch
ECM 1 and Ignition E Fuses - 4.3L
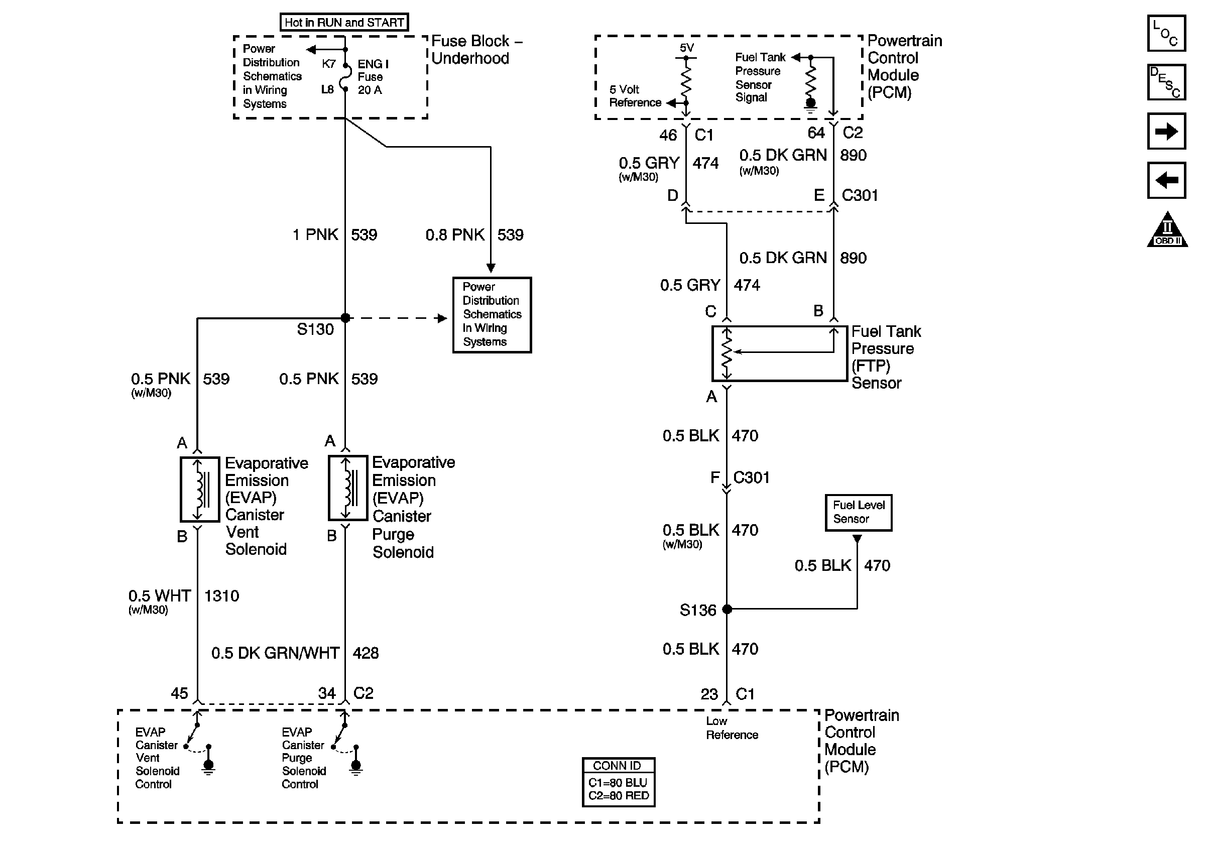
Figure 8:

Fuel Controls: EVAP Controls


Object Number: 756908  Size: FS
Master Electrical Component List
Powertrain Control Module Description
Device Controls
Fuel Controls: Fuel Pump Controls
OBD II Symbol Description Notice
Ignition A, Ignition B Fuses, and Ignition Switch
Engine 1 Fuse - 4.3L, 5.0L, and 5.7L
Gages
Figure 9:

Device Controls


Object Number: 756914  Size: FS
Master Electrical Component List
Powertrain Control Module Description
Controlled/Monitored Subsystem References
Fuel Controls: EVAP Controls
OBD II Symbol Description Notice
Ignition A, Ignition B Fuses, and Ignition Switch
Battery, Auxiliary Battery, and Underhood Fuse/Relay Center
Engine 1 Fuse - 4.3L, 5.0L, and 5.7L
G103 - 4.3L, 5.0L, and 5.7L Engines
Components through S152 to G103 - Gasoline Engines
Figure 10:

Controlled/Monitored Subsystem References


Object Number: 756921  Size: FS
Master Electrical Component List
Powertrain Control Module Description
Automatic Transmission Control References 4L60-E
OBD II Symbol Description Notice
4.3L, 5.0L and 5.7L Engines
Wheel Speed Sensors, VSS and Brake Pressure Switch
Charging System: Gasoline Engines
A/C Fuses, ECM-B, IGN-E, Compressor Clutch, A/C Compressor Low Pressure Cutout Switch, G101, G103 (Gasoline Engines)
A/C Fuses, ECM-B, IGN-E, Compressor Clutch, A/C Compressor Low Pressure Cutout Switch, G101, G103 (Gasoline Engines)
Figure 11:

Automatic Transmission Control References 4L60-E


Object Number: 756919  Size: FS
Master Electrical Component List
Powertrain Control Module Description
Automatic Transmission Control References 4L80-E
Controlled/Monitored Subsystem References
OBD II Symbol Description Notice
PWR and Solenoids
Switches And VSS
Figure 12:

Automatic Transmission Control References 4L80-E


Object Number: 756920  Size: FS
Master Electrical Component List
Powertrain Control Module Description
Automatic Transmission Control References 4L60-E
OBD II Symbol Description Notice
Solenoid and TCC/Brake Switch Controls
Sensor, Solenoid and GND Controls