GM Service Manual Online
For 1990-2009 cars only

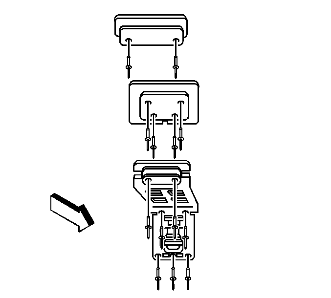
Roof Console and Bracket Replacement Luxury Y91

Removal Procedure


    Object Number: 746163  Size: SH
  1. Remove the front headliner from the vehicle. Refer to Headlining Front Trim Panel Replacement .
  2. Remove the rear headliner from the vehicle. Refer to Headlining Rear Trim Panel Replacement .
  3. Caution: Eye protection must be worn when drilling rivets to reduce the chance of personal injury.

  4. Drill out the rivets retaining the overhead console brackets to the roof structure.
  5. Remove the overhead console brackets from the vehicle.

Installation Procedure


    Object Number: 746163  Size: SH
  1. Install the overhead console brackets to the vehicle.
  2. Install the rivets in order to retain the overhead console brackets to the roof structure.
  3. Install the rear headliner to the vehicle. Refer to Headlining Rear Trim Panel Replacement .
  4. Install the front headliner to the vehicle. Refer to cell Headlining Front Trim Panel Replacement .