GM Service Manual Online
For 1990-2009 cars only

For vehicles with a rear heating and air-conditioning system, it maintains the temperature, fan speed and air delivery for the rear-seat passengers only. It also works with the main climate-control system in the vehicle.

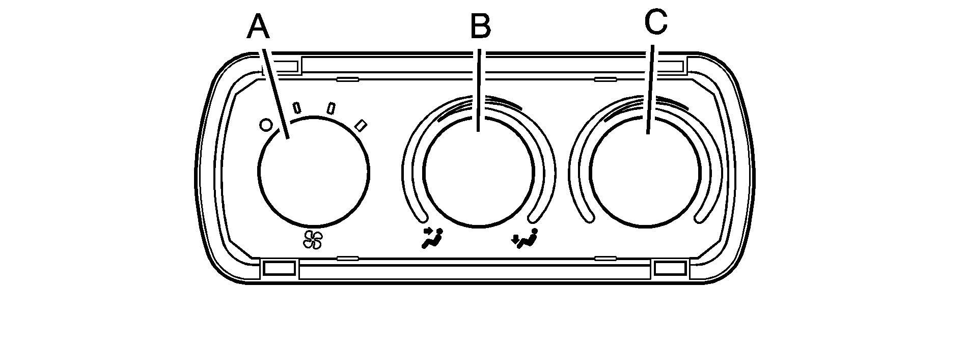
Front Climate Control Panel


Object Number: 2043600  Size: B1

Use this control panel to maintain a separate temperature setting. Adjust the direction of the airflow or adjust the fan speed for the rear seat passenger(s).

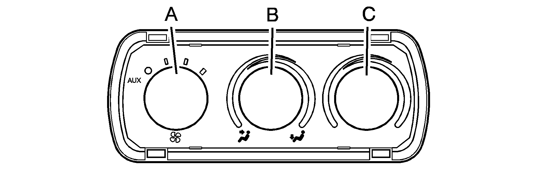
Rear Climate Control Panel


Object Number: 2043602  Size: B1
  1. Fan Control

  2. Air Delivery Mode Control

  3. Temperature Control

If the vehicle has a 135 inch (343 cm) wheelbase, a rear control panel for this system is located in the second row behind the driver in the rear of the vehicle. The temperature, air delivery mode, and the fan speed can be adjusted for the rear seating area by a rear seat passenger.

AUX (Auxiliary): Turn the fan knob on the front climate control panel to AUX to let rear seat passengers use the control panel in the rear seating area. This disables the front control panel. To return control to the front panel, move the fan knob out of AUX.

Turns the system off.

(Fan Control): Turn clockwise or counterclockwise to increase or decrease the fan speed in the rear-seating area.

Temperature Control: Turn clockwise or counterclockwise to increase or decrease the temperature in the rear-seating area. The air-conditioning system on the main climate control panel must be turned on to direct cooled air to the rear of the vehicle. If it is not on, then the temperature in the rear of the vehicle remains at cabin temperature.

Air Delivery Mode Control: Turn clockwise or counterclockwise to change the direction of the airflow in the rear seating area. To change the current mode, select one of the following:

(Vent): Air is directed to the upper outlets, with some directed to the floor outlets.

(Floor): Air is directed to the floor outlets.

Be sure to keep the area under the front seats clear of any objects so that the air inside of the vehicle can circulate effectively.

For information on how to use the main climate control system, see Climate Control System. For information on ventilation, see Outlet Adjustment.