GM Service Manual Online
For 1990-2009 cars only

    Object Number: 2135432  Size: SH
  1. Install the NEW oil filter adapter O-ring seal (1) into the groove in the oil filter adapter.

  2. Object Number: 2135431  Size: SH
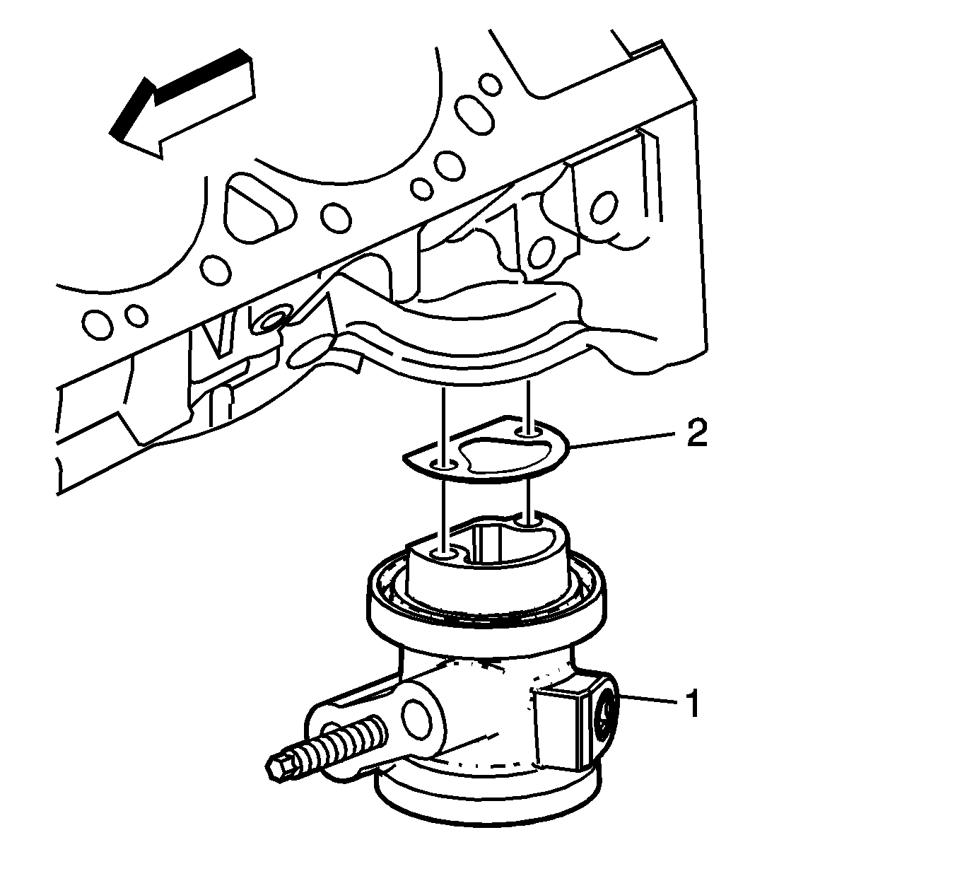
  3. Install the oil filter adapter (1) and NEW oil filter adapter gasket (2).
  4. Caution: Refer to Fastener Caution in the Preface section.


    Object Number: 2135430  Size: SH
  5. Install the oil filter adapter bolts (1) and tighten to 21 N·m (15 lb ft).