GM Service Manual Online
For 1990-2009 cars only

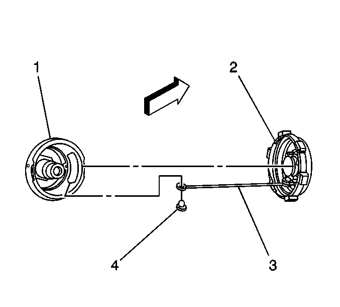
Removal Procedure


    Object Number: 728531  Size: SH
  1. Remove fill valve cover (2) from the mounting cup (1).
  2. Remove the fill valve cover tether (3) hold down pin (4) from the mounting cup (1).

Installation Procedure


    Object Number: 728531  Size: SH
  1. Install the fill valve cover tether (3) with the hold down pin (4) into the mounting cup (1).
  2. Install the fill valve cover (2) to the mounting cup (1).