GM Service Manual Online
For 1990-2009 cars only

Removal Procedure

  1. Remove the CNG fuel tanks. Refer to Fuel Tank Replacement .

  2. Object Number: 728550  Size: SH
  3. Release the exhaust pipe hanger (5) from the frame bracket (1).

  4. Object Number: 728554  Size: SH
  5. Remove the front tank mounting frame bracket (6) bolts (7).
  6. Remove the tank mounting frame bracket (3) nuts (4).

  7. Object Number: 731202  Size: SH
  8. Remove the tank mounting frame bracket nuts and bolts (2, 4) from the side plates (3).

  9. Object Number: 731203  Size: SH
  10. While supporting the tank mounting frame (4) remove the remaining nuts (5).
  11. Lower the tank mounting frame (4) from the vehicle (1).

  12. Object Number: 728532  Size: SH
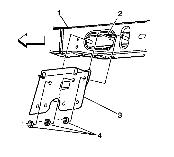
  13. Remove the nuts (4) from the stud plates (2).
  14. Lower the side mounting plates (3) from the vehicle (1).

  15. Object Number: 728560  Size: SH
  16. Remove the stud plates (3) from the vehicle frame (1).

Installation Procedure


    Object Number: 728560  Size: SH
  1. Install the stud plates (3) into the vehicle frame (1).

  2. Object Number: 728532  Size: SH
  3. Raise the side mounting plates (3) into the vehicle  (1) placing the studs (2) through the side mounting plates (3).
  4. Notice: Use the correct fastener in the correct location. Replacement fasteners must be the correct part number for that application. Fasteners requiring replacement or fasteners requiring the use of thread locking compound or sealant are identified in the service procedure. Do not use paints, lubricants, or corrosion inhibitors on fasteners or fastener joint surfaces unless specified. These coatings affect fastener torque and joint clamping force and may damage the fastener. Use the correct tightening sequence and specifications when installing fasteners in order to avoid damage to parts and systems.

  5. Install the nuts (4) onto the studs (2).
  6. Tighten
    Tighten the nuts to 100 N·m (72 lb ft).


    Object Number: 731203  Size: SH
  7. Raise the tank mounting frame (4) into the vehicle (1).
  8. While supporting the tank mounting frame (4) install the upper nuts (5) onto the side mounting plate (2) studs.
  9. Tighten
    Tighten the nuts to 100 N·m (72 lb ft).


    Object Number: 731202  Size: SH
  10. Install the tank mounting frame bracket nuts and bolts (2,4) through the side plates (3) and the tank mounting frame (5).
  11. Tighten
    Tighten the nuts to 100 N·m (72 lb ft).


    Object Number: 728554  Size: SH
  12. Install the front tank mounting frame bracket (6) bolts (7).
  13. Tighten
    Tighten the bolts to 24 N·m (18 lb ft).

  14. Install the tank mounting frame bracket (3) nuts (4).
  15. Tighten
    Tighten the nuts to 100 N·m (72 lb ft).


    Object Number: 728550  Size: SH
  16. Install the exhaust pipe hanger (5) into the frame bracket (1).
  17. Install the CNG fuel tanks. Refer to Fuel Tank Replacement .