GM Service Manual Online
For 1990-2009 cars only

Fuel Tank Replacement - Rear Passenger/Cargo

Tools Required

    • J 45878 Combustible Gas Detector
    • J 45397 CNG Dual Tank Lifting Kit
    • J 45529 CNG Tank Lifting Bar

Removal Procedure

  1. Relieve the CNG fuel system pressure. Refer to Fuel Pressure Relief .
  2. Caution: Unless directed otherwise, the ignition and start switch must be in the OFF or LOCK position, and all electrical loads must be OFF before servicing any electrical component. Disconnect the negative battery cable to prevent an electrical spark should a tool or equipment come in contact with an exposed electrical terminal. Failure to follow these precautions may result in personal injury and/or damage to the vehicle or its components.

  3. Disconnect the negative battery cable. Refer to Battery Negative Cable Disconnection and Connection in Engine Electrical in the G/H Van Service Manual.
  4. Raise and properly support the vehicle. Refer to Lifting and Jacking the Vehicle in General Information in the G/H Van Service Manual.
  5. Remove the fuel tank cover. Refer to Fuel Tank Cover Replacement .

  6. Object Number: 893549  Size: SH
  7. Disconnect the fuel outlet line (4) from the high pressure lock-off (HPL) solenoid.

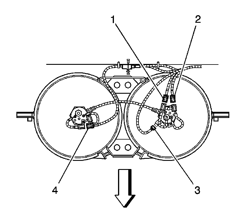
  8. Object Number: 893547  Size: SH
  9. Disconnect the electrical connectors (1,2,4) at the high pressure lock-off solenoids.

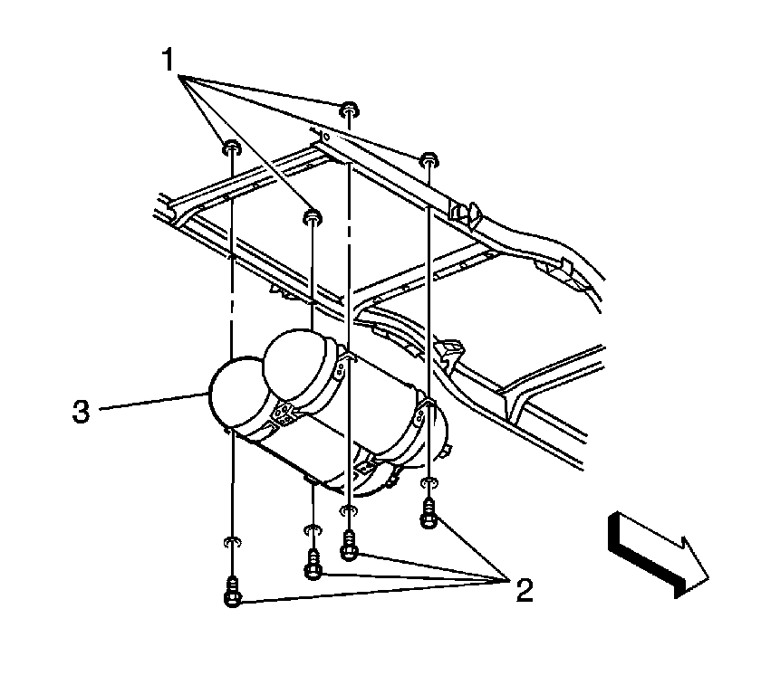
  10. Object Number: 1201802  Size: SH
  11. Attach the J 45397 (2) to a transmission jack (3).
  12. Support the tank assembly (1) with the J 45397 and transmission jack.
  13. Remove the exhaust tailpipe from the hanger.

  14. Object Number: 893868  Size: SH
  15. Remove all of the tank assembly retaining nuts (2).
  16. Lower the tank assembly from the vehicle with the transmission jack.

Dissassembly Procedure


    Object Number: 1201804  Size: SH
  1. Fasten the tank assembly to the J 45397 (3) with a suitable strap (2,5). Ensure the strap captures both tanks and the J 45397 . The strap should not interfere with removal of the tank assembly from the transmission jack.

  2. Object Number: 893549  Size: SH
  3. Remove the tank to tank fuel line.

  4. Object Number: 1201806  Size: SH
  5. Remove the tank strap mounting bolts (1) while holding the appropriate nut with a wrench (2).

  6. Object Number: 1201804  Size: SH
  7. Attach an overhead lifting device (1) to the tank assembly frame.
  8. Remove the mounting hardware (4) that attaches the J 45397 (3) to the transmission jack.
  9. Raise the tank and J 45397 assembly (3) from the transmission jack and place the assembly on the floor.
  10. Remove the strap (2,5).

  11. Object Number: 893869  Size: SH

    Important: The tandem fuel tanks are not interchangeable. Mark the tank location and fuel line orientation prior to removal.

  12. Remove the tank strap (4) clevis pin clips (5) and pins (3).
  13. Remove the tank straps (4).
  14. Slide the tank away from the mounting frame.

  15. Object Number: 1201808  Size: SH
  16. Attach the J 45529 (1) straps (2) around the tank.
  17. Lift the tank from the J 45397 (3) using the J 45529 (1) and a suitable overhead lifting device.
  18. Vent the CNG fuel from the CNG fuel tank if necessary. Refer to Fuel Tank Venting .

Assembly Procedure


    Object Number: 1201808  Size: SH
  1. Lower the tank onto the J 45397 (3) with the J 45529 (1) and a suitable overhead lifting device.
  2. Rotate the tank in order to align the fuel line fittings.
  3. Slide the tank against the mounting frame.

  4. Object Number: 893869  Size: SH
  5. Attach the tank straps (4) to the mounting frame with the clevis pins (3) and clips (5).

  6. Object Number: 1201804  Size: SH
  7. Fasten the tank assembly to the J 45397 (3) with a suitable strap (2,5). Ensure the strap captures both tanks and the J 45397 . The strap should not interfere with installation of the tank assembly to the transmission jack.
  8. Attach an overhead lifting device (1) to the tank assembly frame.
  9. Raise the tank and J 45397 assembly (3) from the floor and place the assembly on the transmission jack (4).
  10. Attach the J 45397 (3) to the transmission jack (4).

  11. Object Number: 1201806  Size: SH

    Notice: Use the correct fastener in the correct location. Replacement fasteners must be the correct part number for that application. Fasteners requiring replacement or fasteners requiring the use of thread locking compound or sealant are identified in the service procedure. Do not use paints, lubricants, or corrosion inhibitors on fasteners or fastener joint surfaces unless specified. These coatings affect fastener torque and joint clamping force and may damage the fastener. Use the correct tightening sequence and specifications when installing fasteners in order to avoid damage to parts and systems.

  12. Install the tank strap mounting bolts (1) while holding the appropriate nut with a wrench (2).
  13. Tighten
    Tighten the bolts to 39 N·m (29 lb ft).


    Object Number: 893549  Size: SH
  14. Install the tank to tank fuel line (2,3) with new O-rings. Lubricate the O-rings with petroleum jelly prior to installation.
  15. Tighten
    Tighten the fuel line fittings to 37 N·m (27 lb ft).

Installation Procedure

  1. Position the tank assembly beneath the vehicle.
  2. Raise the tank assembly onto the tank frame studs.

  3. Object Number: 893868  Size: SH
  4. Install the mounting nuts.
  5. Tighten
    Tighten the mounting nuts to 85 N·m (63 lb ft).


    Object Number: 893549  Size: SH
  6. Connect the fuel outlet line (4) to the high pressure lock-off using a new O-ring. Lubricate the O-ring with petroleum jelly or equivalent.
  7. Tighten
    Tighten the fitting to 37 N·m (27 lb ft).


    Object Number: 893547  Size: SH
  8. Connect the electrical connectors (1,2,4) at the high pressure lock-off solenoids.
  9. Connect the negative battery cable. Refer to Battery Negative Cable Disconnection and Connection in Engine Electrical in the G/H Van Service Manual.
  10. Prime the CNG fuel system by cycling the ignition ON and OFF several times.
  11. Start the engine and use the J 45878 in order to inspect for CNG fuel system leaks at each serviced fitting.
  12. Install the fuel tank cover. Refer to Fuel Tank Cover Replacement .

Fuel Tank Replacement - Rear Cutaway

Tools Required

    • J 45878 Combustible Gas Detector
    • J 45397 CNG Dual Tank Lifting Kit
    • J 45529 CNG Tank Lifting Bar

Removal Procedure

  1. Relieve the CNG fuel system pressure. Refer to Fuel Pressure Relief .
  2. Caution: Unless directed otherwise, the ignition and start switch must be in the OFF or LOCK position, and all electrical loads must be OFF before servicing any electrical component. Disconnect the negative battery cable to prevent an electrical spark should a tool or equipment come in contact with an exposed electrical terminal. Failure to follow these precautions may result in personal injury and/or damage to the vehicle or its components.

  3. Disconnect the negative battery cable. Refer to Battery Negative Cable Disconnection and Connection in Engine Electrical in the G/H Van Service Manual.
  4. Raise and properly support the vehicle. Refer to Lifting and Jacking the Vehicle in General Information in the G/H Van Service Manual.
  5. Remove the fuel tank cover. Refer to Fuel Tank Cover Replacement .

  6. Object Number: 893542  Size: SH
  7. Disconnect the electrical connectors (1-4) at the high pressure lock-off solenoids.

  8. Object Number: 893543  Size: SH
  9. Disconnect the fuel outlet line (2) from the high pressure lock-off (HPL) solenoid.

  10. Object Number: 1201802  Size: SH
  11. Attach the J 45397 (2) to a transmission jack (3).
  12. Support the tank assembly (1) with the J 45397 and transmission jack.

  13. Object Number: 893876  Size: SH
  14. Remove the tank assembly retaining nuts (1) and bolts (2).
  15. Lower the tank assembly from the vehicle with the transmission jack.

Dissassembly Procedure


    Object Number: 1201804  Size: SH
  1. Fasten the tank assembly to the J 45397 (3) with a suitable strap (2,5). Ensure the strap captures both tanks and the J 45397 . The strap should not interfere with removal of the tank assembly from the transmission jack.

  2. Object Number: 1201806  Size: SH
  3. Remove the tank strap mounting bolts (1) while holding the appropriate nut with a wrench (2).

  4. Object Number: 1201804  Size: SH
  5. Attach an overhead lifting device (1) to the tank assembly frame.
  6. Remove the mounting hardware (4) that attaches the J 45397 to the transmission jack.
  7. Raise the tank and J 45397 assembly from the transmission jack and place the assembly on the floor.
  8. Remove the strap (2,5).

  9. Object Number: 893543  Size: SH
  10. Remove the tank to tank fuel line (3,4).

  11. Object Number: 893875  Size: SH

    Important: Mark the tank location and fuel line orientation prior to removal.

  12. Remove the tank strap (5) clevis pin clips (6) and pins (4).
  13. Remove the tank straps (5).
  14. Slide the tank away from the mounting frame.

  15. Object Number: 1201808  Size: SH
  16. Attach the J 45529 (1) straps (2) around the tank.
  17. Lift the tank from the J 45397 (3) using the J 45529 and a suitable overhead lifting device.
  18. Vent the CNG fuel from the CNG fuel tank if necessary. Refer to Fuel Tank Venting .

Assembly Procedure


    Object Number: 1201808  Size: SH
  1. Lower the tank onto the J 45397 (3) with the J 45529 (1) and a suitable overhead lifting device.
  2. Rotate the tank in order to align the fuel line fittings.
  3. Slide the tank against the mounting frame.

  4. Object Number: 893875  Size: SH
  5. Attach the tank straps (5) to the mounting frame with the clevis pins (4) and clips (6).

  6. Object Number: 1201804  Size: SH
  7. Fasten the tank assembly to the J 45397 (3) with a suitable strap (2,5). Ensure the strap captures both tanks and the J 45397 . The strap should not interfere with installation of the tank assembly to the transmission jack.
  8. Attach an overhead lifting device (1) to the tank assembly frame.
  9. Raise the tank and J 45397 assembly from the floor and place the assembly on the transmission jack.
  10. Attach the J 45397 (3) to the transmission jack (4).

  11. Object Number: 1201806  Size: SH

    Notice: Use the correct fastener in the correct location. Replacement fasteners must be the correct part number for that application. Fasteners requiring replacement or fasteners requiring the use of thread locking compound or sealant are identified in the service procedure. Do not use paints, lubricants, or corrosion inhibitors on fasteners or fastener joint surfaces unless specified. These coatings affect fastener torque and joint clamping force and may damage the fastener. Use the correct tightening sequence and specifications when installing fasteners in order to avoid damage to parts and systems.

  12. Install the tank strap mounting bolts (1) while holding the appropriate nut with a wrench (2).
  13. Tighten
    Tighten the bolts to 39N·m (29 lb ft).


    Object Number: 893543  Size: SH
  14. Install the tank to tank fuel line (3,4) with new O-rings. Lubricate the O-rings with petroleum jelly prior to installation.
  15. Tighten
    Tighten the fuel line fittings to 37N·m (27 lb ft).

Installation Procedure

  1. Position the tank assembly beneath the vehicle.
  2. Raise the tank assembly onto the tank frame studs.

  3. Object Number: 893876  Size: SH
  4. Install the mounting nuts (1) and bolts (2).
  5. Tighten
    Tighten the mounting nuts to 81 N·m (60 lb ft).


    Object Number: 893543  Size: SH
  6. Connect the fuel outlet line (4) to the high pressure lock-off (2) using new O-rings. Lubricate the O-rings with petroleum jelly or equivalent.
  7. Tighten
    Tighten the fitting to 37 N·m (27 lb ft).


    Object Number: 893542  Size: SH
  8. Connect the electrical connectors (1-4) at the high pressure lock-off solenoids as necessary.
  9. Connect the negative battery cable. Refer to Battery Negative Cable Disconnection and Connection in Engine Electrical in the G Van Service Manual.
  10. Prime the CNG fuel system by cycling the ignition ON and OFF several times.
  11. Start the engine and use the J 45878 in order to inspect for CNG fuel system leaks at each serviced fitting.
  12. Install the fuel tank cover. Refer to Fuel Tank Cover Replacement .