GM Service Manual Online
For 1990-2009 cars only

Removal Procedure

    Caution: Refer to Approved Equipment for Collision Repair Caution in the Preface section.

  1. Disable the SIR system. Refer to SIR Disabling and Enabling .
  2. Disconnect the negative battery cable. Refer to Battery Negative Cable Disconnection and Connection .
  3. Take note of the gap sizes along the perimeter of the roof panel to the headers, the glass, and the doors.

  4. Object Number: 1581848  Size: SH

    Important: Save the original panel. Measure and note the antenna hole locations.

  5. Remove all related panels and components.
  6. Repair as much of the damaged area as possible. Refer to Dimensions - Body .
  7. Note the location and remove the sealers and anti-corrosion materials from the repair area, as necessary. Refer to Anti-Corrosion Treatment and Repair .

  8. Object Number: 1641131  Size: SH
  9. Remove the nuts retaining the roof side reinforcements to the vehicle.

  10. Object Number: 1581865  Size: SH
  11. Locate and drill out all the necessary factory welds along the front and rear headers.

  12. Object Number: 1581877  Size: SH
  13. Drill through the roof panel along the perimeter of the roof reinforcements.

  14. Object Number: 1641117  Size: SH
  15. Cut along the holes created in the previous step.

  16. Object Number: 1641126  Size: SH
  17. Remove the center section of the roof panel.

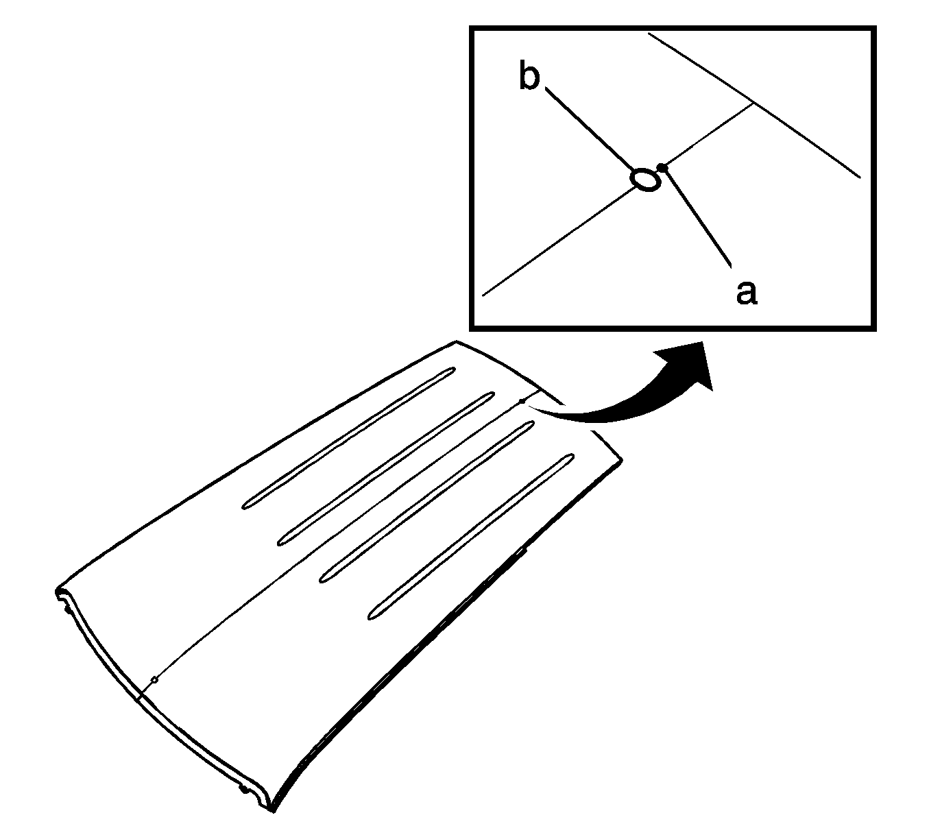
  18. Object Number: 1641133  Size: SH
  19. Bend back the remaining portion of the roof panel (a) to expose the top side of the roof reinforcement (b).

  20. Object Number: 1581860  Size: SH
  21. Use a small flame from an oxy-acetylene torch to aid in releasing the roof reinforcement bond to the vehicle.
  22. Separate the adhesive holding the roof panel to the vehicle. Note the location of the adhesive for installation of the service roof panel.

  23. Object Number: 1581862  Size: SH
  24. Remove the damaged roof panel.

Installation Procedure


    Object Number: 1581865  Size: SH

    Important: Do not drill holes in the panel along the body side of the roof rail. Use adhesive bond only.

    Important: If the location of the original plug weld holes cannot be determined, space the plug weld holes every 40 mm (1½ in) apart.

  1. Drill 8 mm (5/16 in) plug weld holes along the front and rear edge of the service part as necessary in the corresponding locations noted on the original panel.

  2. Object Number: 1581868  Size: SH

    Important: The following steps are for a roof panel that has the XM radio and/or OnStar® antenna.

  3. To locate the center line (1) on the roof panel, measure across the front and rear portion of the panel a short distance in from the front and rear edges of the panel. Mark the center line with a pencil or other non-permanent marking tool.

  4. Object Number: 1581871  Size: SH
  5. On the original panel, measure forward along the center line of the panel to the center of the holes. Note the measurements.
  6. Measure forward along the center line of the service panel the distance noted on the original panel. Mark the location with a pencil or other non-permanent marking tool.
  7. Verify the measurements and the hole configuration.

  8. Object Number: 1581874  Size: SH
  9. Drill out the holes from the following steps.
  10. • a = 5.0 mm (7/32 in) hole
    • b = 19.5 mm (3/4 in) hole

    Object Number: 1581875  Size: SH
  11. Grind the surface of the body mating flanges at the same location as the original structural adhesive to bare steel.

  12. Object Number: 1581876  Size: SH
  13. Grind the service panel mating flanges to remove the e-coating. Do not damage the corners or thin the metal during the grinding process.
  14. Clean the mating surfaces.
  15. Prepare all mating surfaces for welding as necessary
  16. Apply 3M Weld-Thru Coating P/N 05916 or equivalent to all welded mating surfaces only.

  17. Object Number: 1581875  Size: SH

    Important: The adhesive has a working time of 40-50 minutes. Do not allow the adhesive to totally cure off the vehicle, as proper alignment of the panel to the body will be difficult.

  18. Apply a bead of metal bonding adhesive to all areas noted earlier as having structural adhesive. Use GM P/N 12378566/7 (Canadian P/N 88901674/5) or equivalent to a thickness of 3-6 mm (1/8-1/4 in) to both mating surfaces.
  19. Use a small acid brush to spread a coat of adhesive to cover all of the bare metal surfaces to ensure corrosion protection.

  20. Object Number: 1581848  Size: SH

    Important: Do not pull the panels apart after the panels have been joined together. Slide the panels against each other to realign the panels.

  21. Install the service panel to the vehicle.
  22. Verify the fit of the roof panel to the front edge of the front header panel and to the rear edge of the rear header panel.
  23. Verify the fit of the roof panel at the gap along the top of the door frame to the roof panel. Adjust the panel if necessary. Clamp the panel into place.
  24. Use lacquer thinner to remove the excess adhesive from the panel area.
  25. Allow the adhesive adequate cure time.

  26. Object Number: 1581881  Size: SH
  27. Plug weld accordingly along the front and rear weld flange.
  28. Remove the clamps.
  29. Clean and prepare all of the welded surfaces.
  30. Apply the sealers and anti-corrosion materials to the repair area, as necessary. Refer to Anti-Corrosion Treatment and Repair .
  31. Paint the repair area. Refer to Basecoat/Clearcoat Paint Systems .
  32. Install all related panels and components.
  33. Connect the negative battery cable. Refer to Battery Negative Cable Disconnection and Connection .
  34. Enable the SIR system. Refer to SIR Disabling and Enabling .