GM Service Manual Online
For 1990-2009 cars only

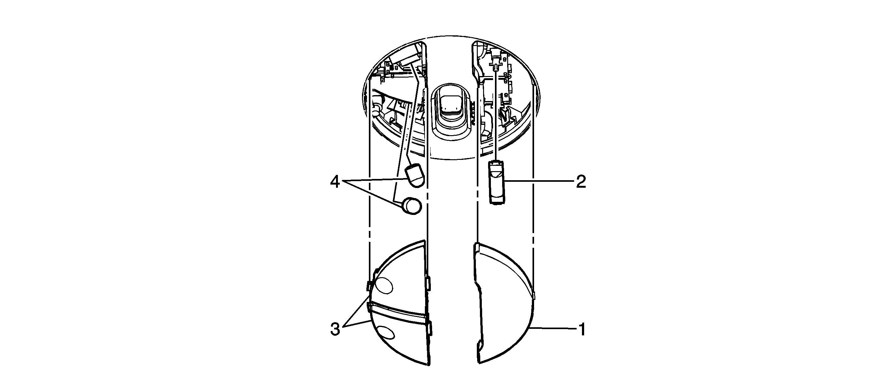
Object Number: 1616857  Size: SF

Callout

Component Name

Fastener Tightening Specifications: Refer to Fastener Tightening Specifications.

1

Lens, Dome Lamp

2

Bulb, Dome Lamp

3

Lens, Dome and Reading Lamp

4

Bulb, Reading Lamp