GM Service Manual Online
For 1990-2009 cars only

Before you begin to drive, move the shoulder belt height adjuster to the height that is right for you.

Adjust the height so that the shoulder portion of the belt is centered on your shoulder. The belt should be away from your face and neck, but not falling off your shoulder. Improper shoulder belt height adjustment could reduce the effectiveness of the safety belt in a crash.


Object Number: 1534873  Size: A3

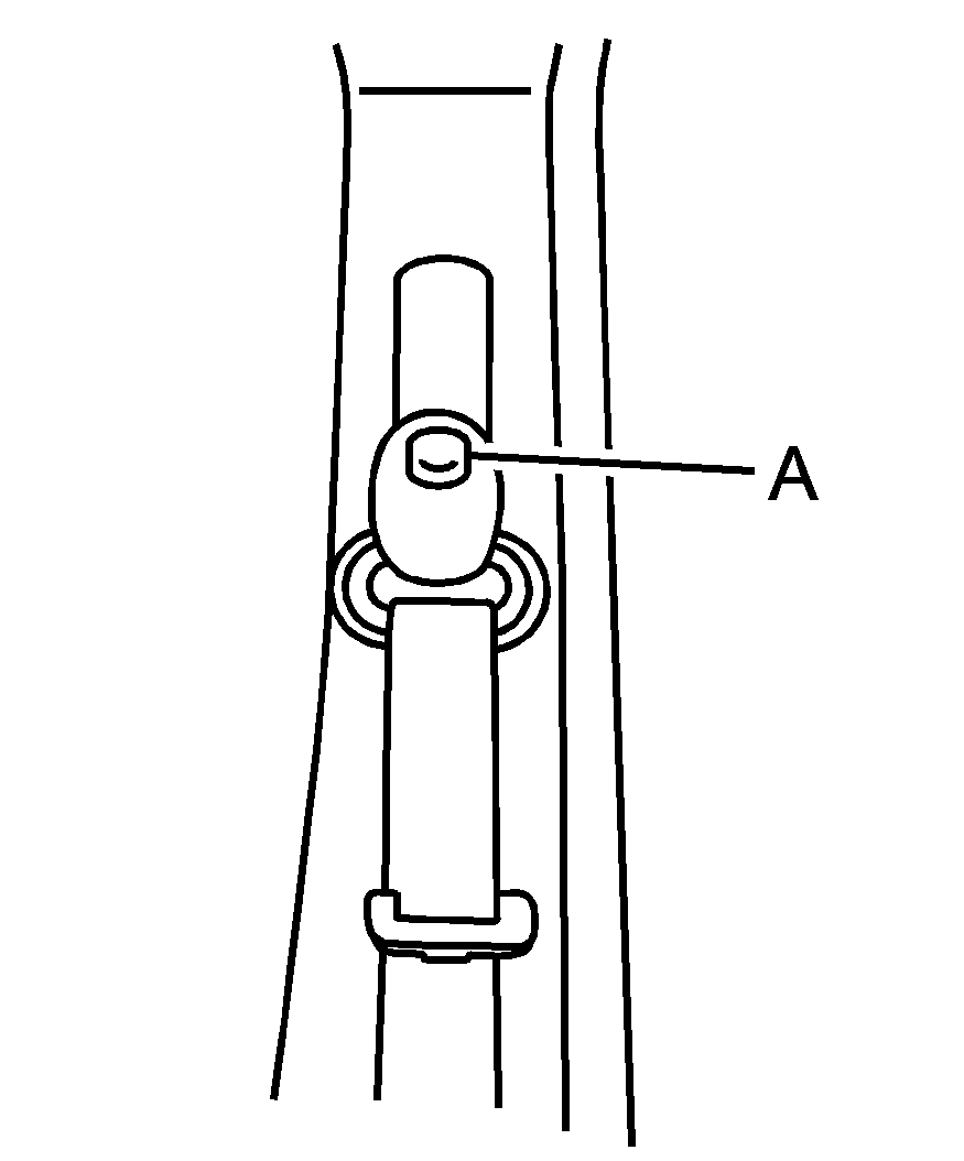
To move it down, press the release button (A) and move the height adjuster to the desired position. You can move the height adjuster up just by pushing up on the shoulder belt guide.

After you move the height adjuster to where you want it, try to move it down without pressing the release button to make sure it has locked into position.