GM Service Manual Online
For 1990-2009 cars only
Figure 1:

TCM, Power, and Ground


Object Number: 1769332  Size: FS
Master Electrical Component List
Electronic Component Description
Control Module References
Transmission Solenoid and VSS
Body Control Module - RAP, DRIVER DOOR UNLOCK PCB, DOOR UNLOCK PCB, DOOR LOCK PCB, and INTERIOR LAMPS PCB Relays, RDO, PWR WINDW, DR LCK, INT LIGHT, ECM/TCM, SDM, S ROOF and SPARE Fuses
Power, Ground, MIL and DLC
Power, Ground, MIL and DLC
Underhood Fuse Block - RUN/CRANK Relay, I/P IGN, PRK/NEUT, HTD/SEAT/BKC/UP, ABS (10A), ECM TRANS, ABS (30A), EPS, BCM2, BCM3, FRT AUX PWR OUTLET, S-BAND Fuses
Power, Ground, MIL, and DLC
Power, Ground, MIL and DLC
Transmission Solenoid and VSS
High Speed GMLAN
Center High Mounted Stop Lamp, B+
G103, G105, G107, G108
Figure 2:

Transmission Solenoids and VSS


Object Number: 1769348  Size: FS
Master Electrical Component List
Electronic Component Description
Control Module References
Transmission Switches, TFT and A/T ISS Sensors
TCM Power, Ground
TCM Power, Ground
Automatic Transmission Schematic Icons
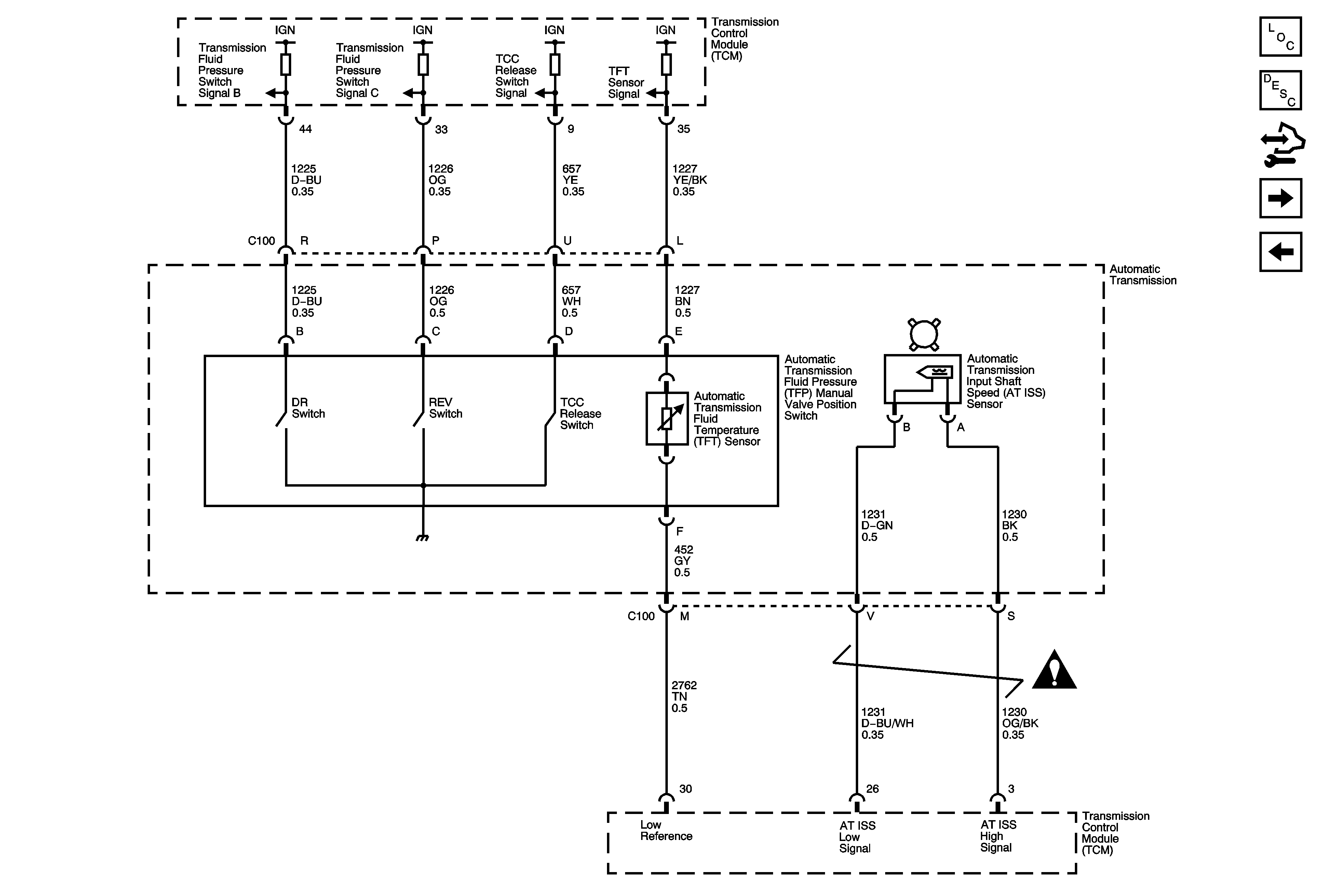
Figure 3:

Transmission Switches, TFT, and A/T ISS Sensors


Object Number: 1769350  Size: FS
Master Electrical Component List
Electronic Component Description
Control Module References
PNP Switch
Transmission Solenoid and VSS
Automatic Transmission Schematic Icons
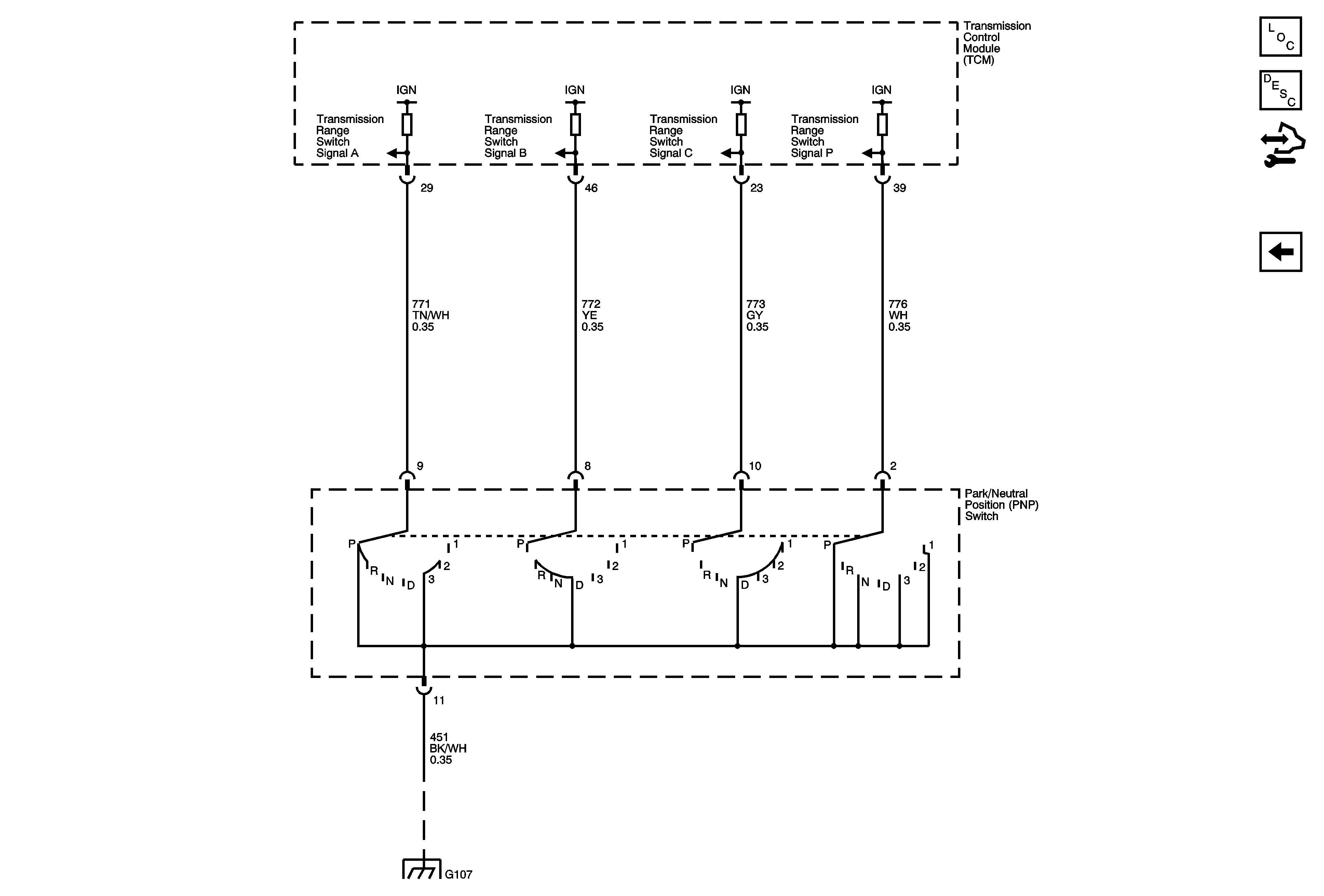
Figure 4:

PNP Switch


Object Number: 1769352  Size: FS
Master Electrical Component List
Electronic Component Description
Control Module References
Transmission Switches, TFT and A/T ISS Sensors
G103, G105, G107, G108