GM Service Manual Online
For 1990-2009 cars only

Object Number: 1629255  Size: SF

Callout

Component Name

Preliminary Procedures

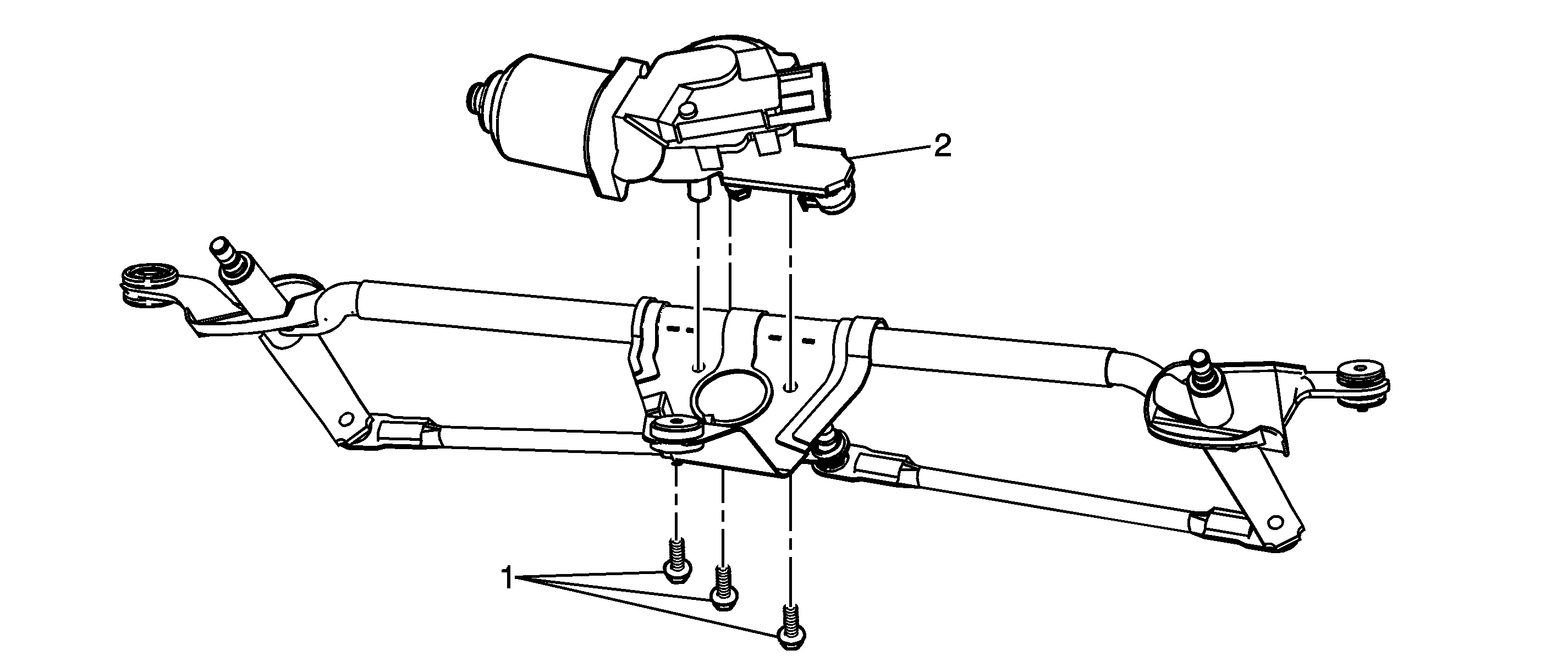
  1. Remove the wiper transmission assembly. Refer to Windshield Wiper Transmission Replacement.
  2. Disconnect the wiper motor electrical connector.

1

Windshield Wiper Motor Bolt (Qty: 3)

Notice: Refer to Fastener Notice in the Preface section.

Tighten
6 N·m (53 lb in)

2

Windshield Washer Wiper Motor

Procedure

  1. Do not apply electrical power to a new wiper motor prior to installation of that motor.
  2. Use the J 39232 or equivalent to separate the transmission arm from the wiper motor crank arm pivot.
  3. Use the J 39529 or equivalent to install the transmission arm onto the wiper motor crank arm pivot.
  4. Align the wiper motor crank arm in alignment with the transmission arm links.

Special Tools

    • J 39232 Wiper Linkage Separator
    • J 39529 Wiper Linkage Installer