GM Service Manual Online
For 1990-2009 cars only

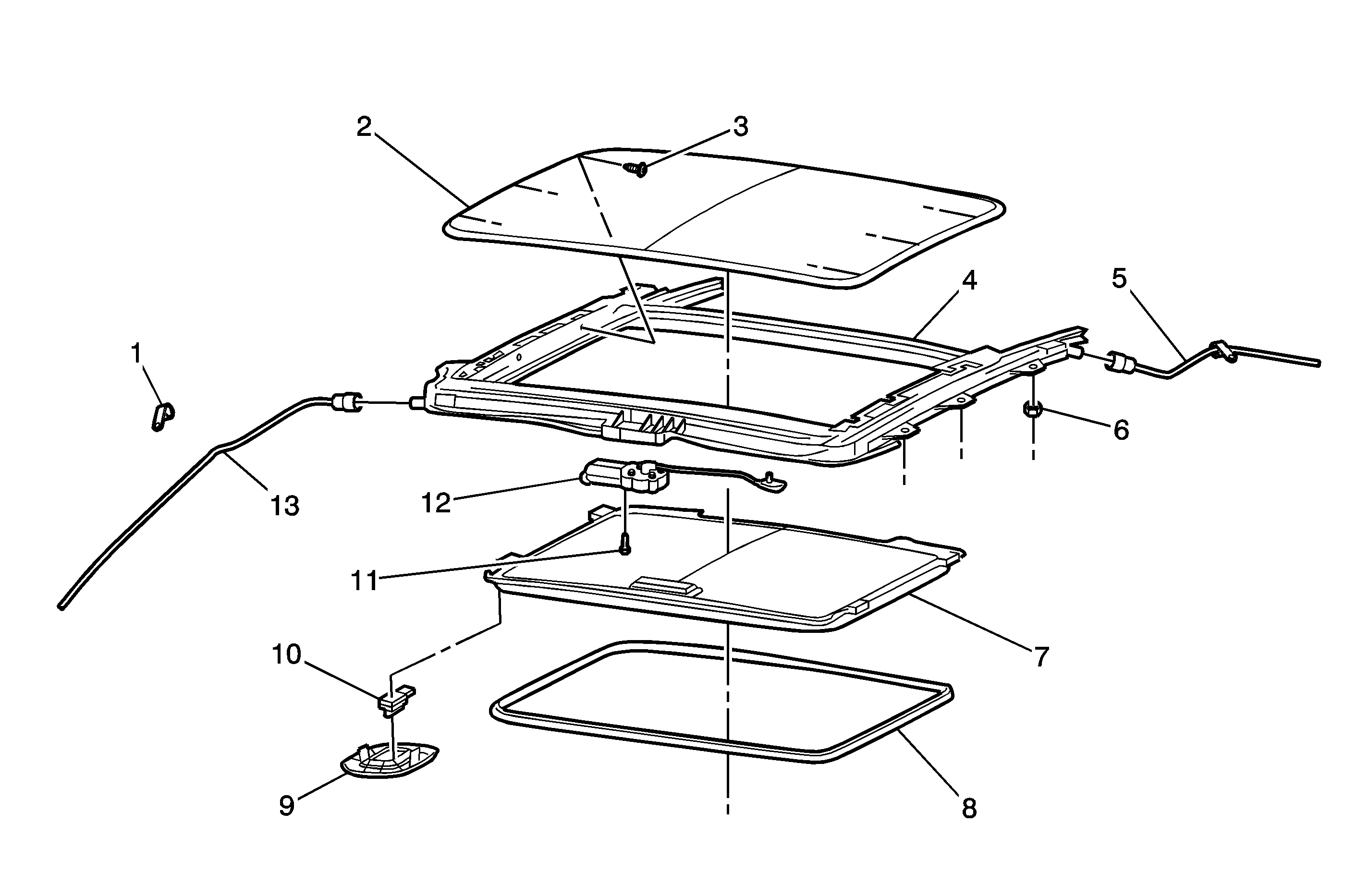
Power Sunroof Disassembled View


Object Number: 1547316  Size: MF
(1)Sunroof Drain Hose Retainer
(2)Sunroof Window Panel
(3)Sunroof Window Bolt/Screw
(4)Sunroof Module Assembly
(5)Sunroof Rear Drain Hose
(6)Sunroof Module Assembly to Roof Nut
(7)Sunroof Sunshade
(8)Sunroof Opening Bezel/Lace
(9)Sunroof Switch Bezel
(10)Sunroof Switch
(11)Sunroof Motor/Actuator Bolt/Screw
(12)Sunroof Motor/Actuator
(13)Sunroof Front Drain Hose