GM Service Manual Online
For 1990-2009 cars only

Removal Procedure


    Object Number: 1825842  Size: SH
  1. Remove the camshaft position intake actuator. Refer to Camshaft Position Intake Actuator Replacement.
  2. Remove the high pressure fuel pump. Refer to High Pressure Fuel Pump Replacement.
  3. Note: Remove each bolt on each cap one turn at a time until there is no spring tension pushing on the camshaft.

  4. Mark the camshaft bearing caps to ensure they are installed in the same position.
  5. Remove the camshaft bearing cap bolts and caps.

  6. Object Number: 1825970  Size: SH
  7. Remove the valve lifter follower.

  8. Object Number: 1825969  Size: SH
  9. Remove the cylinder head opening plate bolts and plate.

  10. Object Number: 1825845  Size: SH
  11. Remove the rear bearing cap bolts and cap.

  12. Object Number: 1825846  Size: SH
  13. Remove the intake camshaft.

  14. Object Number: 1825994  Size: SH

    Note: Keep all of the roller followers and hydraulic valve lash adjusters in order so that they can be reinstalled in their respective locations.

  15. Remove the valve rocker arms.

  16. Object Number: 1825995  Size: SH
  17. Remove the hydraulic valve lash adjusters.

Installation Procedure


    Object Number: 1825995  Size: SH
  1. Install the hydraulic valve lash adjusters into their bores in the cylinder head.
  2. Lubricate the hydraulic lash adjusters. Refer to Adhesives, Fluids, Lubricants, and Sealers.

  3. Object Number: 1403895  Size: SH
  4. Lubricate the valve tips. Refer to Adhesives, Fluids, Lubricants, and Sealers.

  5. Object Number: 1825994  Size: SH

    Note: Used valve rocker arms MUST be returned to their original position on the camshaft. If the camshaft is being replaced, the rocker arms MUST also be replaced.

  6. Position the valve rocker arms on the tip of the valve stem and on the valve lash adjuster. Lubricate the rocker arms. Refer to Adhesives, Fluids, Lubricants, and Sealers.

  7. Object Number: 1825846  Size: SH
  8. Install the intake camshaft. Lubricate the camshaft. Refer to Adhesives, Fluids, Lubricants, and Sealers.

  9. Object Number: 1825847  Size: SH
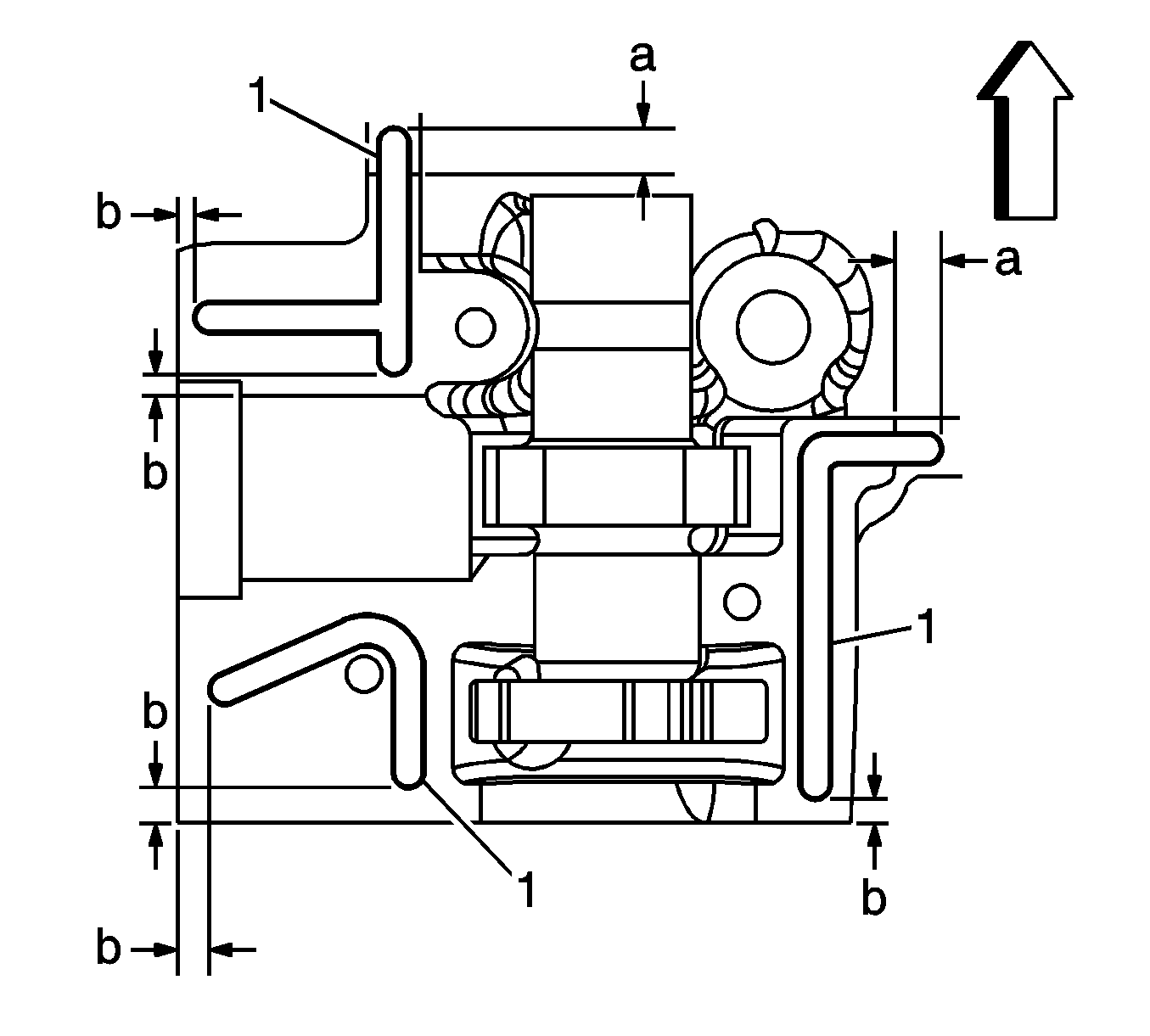
  10. Apply a 3.5 mm (0.138 in) bead of sealer (1) to the cylinder head. Refer to Adhesives, Fluids, Lubricants, and Sealers.
  11. In areas were the rear bearing cap ends on the perimeter rail, extend the bead of sealer 4.0 mm (0.1575 in) beyond the edge of the cap (a).
  12. Run the bead of sealer to within 4.0 mm (0.1575 in) of end points (b).
  13. Caution: Refer to Fastener Caution in the Preface section.


    Object Number: 1825845  Size: SH
  14. Install the rear bearing cap and bolts.
  15. Tighten
    Tighten the bolts to 10 N·m (89 lb in).


    Object Number: 1825969  Size: SH
  16. Install the cylinder head opening plate and bolts.
  17. Tighten
    Tighten the bolts to 10 N·m (89 lb in).


    Object Number: 1825970  Size: SH
  18. Install the valve lifter follower.

  19. Object Number: 1825842  Size: SH

    Note: The caps should be installed on the cylinder head in sequence as shown on top of the bearing caps.

  20. Position the camshaft bearing caps. Install the bearing cap bolts hand tight.
  21. Tighten the bearing cap bolts in increments of 3 turns until they are seated.
  22. Tighten
    Tighten the bolts to 10 N·m (89 lb in).

  23. Install the high pressure fuel pump. Refer to High Pressure Fuel Pump Replacement.
  24. Install the camshaft position intake actuator. Refer to Camshaft Position Intake Actuator Replacement.