GM Service Manual Online
For 1990-2009 cars only

Front Floor Console Flood Lamp Replacement w/o Sunroof


Object Number: 1616870  Size: MF

Callout

Component Name

Fastener Tightening Specifications: Refer to Fastener Tightening Specifications.

Preliminary Procedure

Lower the front of the headliner enough to gain access to the floor console flood lamp retainer clip. Refer to Headlining Trim Panel Replacement.

1

Clip, Front Floor Console Flood Lamp Retainer

2

Housing, Front Floor Console Flood Lamp

3

Lamp Assembly, Front Floor Console Flood

Tip
Disconnect the electrical connector.

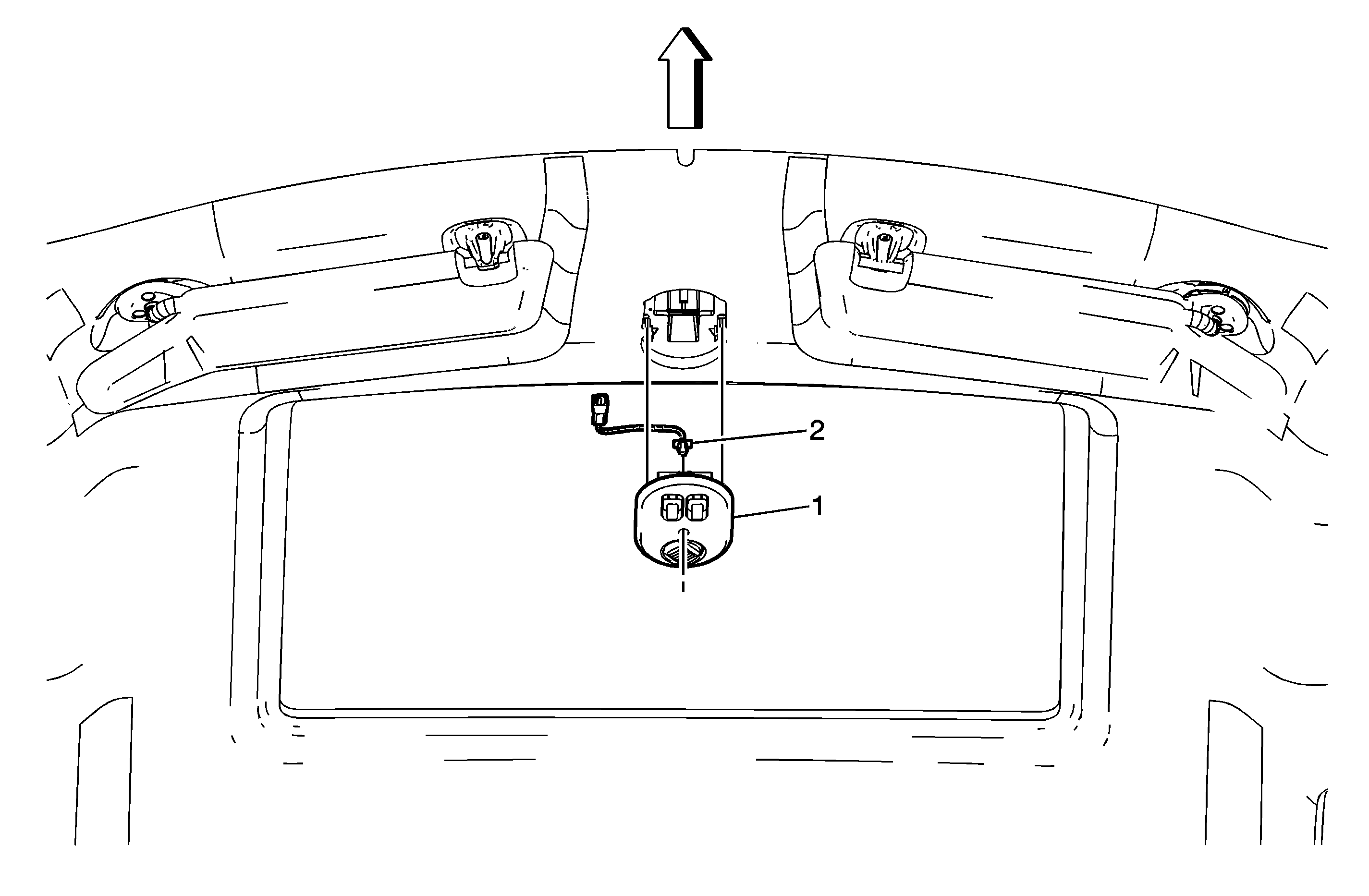
Front Floor Console Flood Lamp Replacement with Sunroof


Object Number: 1616902  Size: MF

Callout

Component Name

Fastener Tightening Specifications: Refer to Fastener Tightening Specifications.

Preliminary Procedure

Lower the front of the headliner enough to gain access to the floor console flood lamp retainer clip. Refer to Headlining Trim Panel Replacement.

1

Switch Assembly, Sunroof

Refer to Sunroof Switch Replacement.

2

Lamp Assembly, Front Floor Console Flood

Tip
Disconnect the electrical connector.