GM Service Manual Online
For 1990-2009 cars only
Connector 1: 1-2 Shift Solenoid (SS) Valve (MN5)
Connector 2: 2-3 Shift Solenoid (SS) Valve (MN5)
Connector 3: A/C Compressor Clutch
Connector 4: A/C Refrigerant Pressure Sensor
Connector 5: Accelerator Pedal Position (APP) Sensor
Connector 6: Accessory Power Outlet - Center Console
Connector 7: Accessory Power Outlet - Rear (Panel Van)
Connector 8: Air Temperature Actuator
Connector 9: Ambient Air Temperature Sensor
Connector 10: Ambient Light Sensor
Connector 11: Audio Amplifier X1 (UQ3)
Connector 12: Audio Amplifier X2 (UQ3)
Connector 13: Audio Amplifier X3 (UQ3)
Connector 14: Automatic Transmission Fluid Pressure Manual Valve Position Switch (MN5)
Connector 15: Automatic Transmission Input Shaft Speed (ISS) Sensor (MN5)
Connector 16: Automatic Transmission Shift Lever
Connector 17: Backup Lamp - Left
Connector 18: Backup Lamp - Right
Connector 19: Backup Lamp Switch (M86)
Connector 20: Battery (-)
Connector 21: Battery (+)
Connector 22: Battery Current Sensor (without LNF)
Connector 23: Blower Motor
Connector 24: Blower Motor Resistor Assembly
Connector 25: Body Control Module (BCM) X1
Connector 26: Body Control Module (BCM) X2
Connector 27: Body Control Module (BCM) X3
Connector 28: Body Control Module (BCM) X4
Connector 29: Brake Booster Vacuum Sensor
Connector 30: Brake Fluid Level Switch
Connector 31: Brake Pedal Position (BPP) Sensor
Connector 32: Camshaft Position (CMP) Actuator Solenoid - Exhaust
Connector 33: Camshaft Position (CMP) Actuator Solenoid - Intake
Connector 34: Camshaft Position (CMP) Sensor - Exhaust
Connector 35: Camshaft Position (CMP) Sensor - Intake
Connector 36: Cellular Microphone (UE1)
Connector 37: Center High Mounted Stop Lamps (CHMSL)
Connector 38: Cigar Lighter (DT4)/Power Outlet (without DT4)
Connector 39: Clutch Pedal Position (CPP) Sensor (M86)
Connector 40: Crankshaft Position (CKP) Sensor
Connector 41: Data Link Connector (DLC)
Connector 42: Digital Radio Receiver (U2K)
Connector 43: Dome Lamp
Connector 44: Dome/Reading Lamps - Front (without CF5)
Connector 45: Dome/Reading Lamps - Rear
Connector 46: Door Jamb Switch - Left Front
Connector 47: Door Jamb Switch - Left Rear (without Panel Van)
Connector 48: Door Jamb Switch - Right Front
Connector 49: Door Jamb Switch - Right Rear (without Panel Van)
Connector 50: Door Latch - Driver
Connector 51: Door Latch - Left Rear (without Panel Van)
Connector 52: Door Latch - Liftgate
Connector 53: Door Latch - Passenger
Connector 54: Door Latch - Right Rear (without Panel Van)
Connector 55: Door Lock Switch - Driver
Connector 56: Door Lock Switch - Passenger
Connector 57: Door Lock Switch - Rear (Panel Van)
Connector 58: Driver Information Display (DIC) (UAF)
Connector 59: Driver Rear Access Panel Switch - Left Rear Panel (Panel Van)
Connector 60: Driver Rear Access Panel Switch - Right Rear Panel (Panel Van)
Connector 61: Electronic Brake Control Module (EBCM) (JL4)
Connector 62: Engine Control Module (ECM) X1 (LE8/LE9)
Connector 63: Engine Control Module (ECM) X1 (LNF)
Connector 64: Engine Control Module (ECM) X2 (LE8/LE9)
Connector 65: Engine Control Module (ECM) X2 (LNF)
Connector 66: Engine Coolant Temperature (ECT) Sensor (LE8/LE9)
Connector 67: Engine Coolant Temperature (ECT) Sensor (LNF)
Connector 68: Engine Cooling Fan (LE8/LE9)
Connector 69: Engine Cooling Fan Module X1 (LNF)
Connector 70: Engine Cooling Fan Module X2 (LNF)
Connector 71: Engine Oil Pressure (EOP) Switch
Connector 72: Evaporative Emission (EVAP) Canister Purge Solenoid Valve
Connector 73: Evaporative Emission (EVAP) Canister Vent Solenoid Valve
Connector 74: Fog Lamp - Left Front (T37 without LNF)
Connector 75: Fog Lamp - Left Front (T37 with LNF)
Connector 76: Fog Lamp - Right Front (T37 without LNF)
Connector 77: Fog Lamp - Right Front (T37 with LNF)
Connector 78: Fog Lamp Switch (T37)
Connector 79: Fuel Injector 1 (LE8/LE9)
Connector 80: Fuel Injector 1 (LNF)
Connector 81: Fuel Injector 2 (LE8/LE9)
Connector 82: Fuel Injector 2 (LNF)
Connector 83: Fuel Injector 3 (LE8/LE9)
Connector 84: Fuel Injector 3 (LNF)
Connector 85: Fuel Injector 4 (LE8/LE9)
Connector 86: Fuel Injector 4 (LNF)
Connector 87: Fuel Pump and Sender Assembly
Connector 88: Fuel Rail Pressure Sensor (FPS) (LNF)
Connector 89: Fuel Tank Pressure (FTP) Sensor
Connector 90: Fuse Holder - BCM - 50 AMP
Connector 91: Fuse Holder - Provisional
Connector 92: Generator X1
Connector 93: Generator X2
Connector 94: Hazard Switch
Connector 95: Headlamp - Left
Connector 96: Headlamp - Right
Connector 97: Heated Oxygen Sensor (HO2S) 1 (LE8/LE9)
Connector 98: Heated Oxygen Sensor (HO2S) 1 (LNF)
Connector 99: Heated Oxygen Sensor (HO2S) 2 (LE8/LE9)
Connector 100: Heated Oxygen Sensor (HO2S) 2 (LNF)
Connector 101: Heated Seat Control Module - Driver (KA1)
Connector 102: Heated Seat Control Module - Passenger (KA1)
Connector 103: Heated Seat Element - Driver Back (KA1)
Connector 104: Heated Seat Element - Driver Cushion (KA1)
Connector 105: Heated Seat Element - Passenger Back (KA1)
Connector 106: Heated Seat Element - Passenger Cushion (KA1)
Connector 107: High Pressure Fuel Pump (LNF)
Connector 108: Hood Ajar Switch (AP3)
Connector 109: Horn
Connector 110: Horn Switch
Connector 111: HVAC Control Assembly X1
Connector 112: HVAC Control Assembly X2
Connector 113: HVAC Control Assembly X3
Connector 114: Ignition Coil Module 1
Connector 115: Ignition Coil Module 2
Connector 116: Ignition Coil Module 3
Connector 117: Ignition Coil Module 4
Connector 118: Ignition Lock Solenoid (MN5)
Connector 119: Ignition Switch
Connector 120: Inflatable Restraint Front End Sensor
Connector 121: Inflatable Restraint Front Passenger Presence System (PPS) Module
Connector 122: Inflatable Restraint Front Passenger Presence System (PPS) Sensor
Connector 123: Inflatable Restraint I/P Module X1
Connector 124: Inflatable Restraint I/P Module X2
Connector 125: Inflatable Restraint I/P Module Indicator
Connector 126: Inflatable Restraint Passenger Seat Belt Tension Sensor
Connector 127: Inflatable Restraint Roof Rail Module - Left (ASF)
Connector 128: Inflatable Restraint Roof Rail Module - Right (ASF)
Connector 129: Inflatable Restraint Sensing and Diagnostic Module (SDM)
Connector 130: Inflatable Restraint Side Impact Sensor (SIS) - Left (ASF)
Connector 131: Inflatable Restraint Side Impact Sensor (SIS) - Right (ASF)
Connector 132: Inflatable Restraint Steering Wheel Module X1
Connector 133: Inflatable Restraint Steering Wheel Module X2
Connector 134: Inflatable Restraint Steering Wheel Module Coil X1
Connector 135: Inflatable Restraint Steering Wheel Module Coil X2
Connector 136: Inflatable Restraint Steering Wheel Module Coil X3
Connector 137: Inflatable Restraint Vehicle Rollover Sensor
Connector 138: Inside Rearview Mirror (DD8)
Connector 139: Instrument Panel (I/P) Dimmer Switch
Connector 140: Instrument Panel Cluster (IPC)
Connector 141: Intake Air Pressure and Temperature Sensor (LNF)
Connector 142: Knock Sensor (KS) (LE8/LE9)
Connector 143: Knock Sensor (KS) 1 (LNF)
Connector 144: Knock Sensor (KS) 2 (LNF)
Connector 145: License Lamp - Left
Connector 146: License Lamp - Right
Connector 147: Liftgate Release Switch
Connector 148: Lumbar Adjuster Switch - Driver (AJ6)
Connector 149: Manifold Absolute Pressure (MAP) Sensor
Connector 150: Marker Lamp - Left Front
Connector 151: Marker Lamp - Left Rear
Connector 152: Marker Lamp - Right Front
Connector 153: Marker Lamp - Right Rear
Connector 154: Mass Air Flow (MAF)/Intake Air Temperature (IAT) Sensor
Connector 155: Mode Actuator
Connector 156: Overhead Console Courtesy/Reading Lamps (CF5)
Connector 157: Outside Rearview Mirror Motor - Driver
Connector 158: Outside Rearview Mirror Motor - Passenger
Connector 159: Outside Rearview Mirror Switch
Connector 160: Park Brake Switch
Connector 161: Park/Neutral Position (PNP) Switch (MN5)
Connector 162: Park/Turn Signal/DRL Lamp - Left Front
Connector 163: Park/Turn Signal/DRL Lamp - Right Front
Connector 164: Passenger Rear Access Panel Switch - Right Rear (Panel Van)
Connector 165: Power Steering Control Module (PSCM) X1 (LE8/LE9)
Connector 166: Power Steering Control Module (PSCM) X1 (LNF)
Connector 167: Power Steering Control Module (PSCM) X2 (LE8/LE9)
Connector 168: Power Steering Control Module (PSCM) X2 (LNF)
Connector 169: Power Steering Control Module (PSCM) X3 (LE8/LE9)
Connector 170: Power Steering Control Module (PSCM) X3 (LNF)
Connector 171: Power Steering Control Module (PSCM) X4 (LNF)
Connector 172: Power Steering Control Module (PSCM) X5 (LNF)
Connector 173: Pressure Control Solenoid Valve (MN5)
Connector 174: Radio X1 (UQ3)
Connector 175: Radio X1 (UW5)
Connector 176: Radio X2 (UQ3)
Connector 177: Radio X2 (UW5)
Connector 178: Rear Access Panel Latch - Left Rear (Panel Van)
Connector 179: Rear Access Panel Latch - Right Rear (Panel Van)
Connector 180: Rear Window Defogger Grid X1
Connector 181: Rear Window Defogger Grid X2
Connector 182: Rear Window Wiper Motor
Connector 183: Rear Wiper/Washer Switch
Connector 184: Recirculation Actuator
Connector 185: Remote Control Door Lock Receiver (RCDLR)
Connector 186: Seat Adjuster Switch - Driver (AJ6)
Connector 187: Seat Belt Pretensioner - Left
Connector 188: Seat Belt Pretensioner - Right
Connector 189: Seat Belt Switch - Left
Connector 190: Seat Belt Switch - Right
Connector 191: Seat Front Vertical Motor - Driver (AJ6)
Connector 192: Seat Horizontal Motor - Driver (AJ6)
Connector 193: Seat Lumbar Motor - Driver (AJ6)
Connector 194: Seat Rear Vertical Motor - Driver (AJ6)
Connector 195: Speaker - Left Front Door (UQ3)
Connector 196: Speaker - Left Front Door (UW5)
Connector 197: Speaker - Left Front Tweeter
Connector 198: Speaker - Left Rear Door (UQ3)
Connector 199: Speaker - Left Rear Door (UW5)
Connector 200: Speaker - Right Front Door (UQ3)
Connector 201: Speaker - Right Front Door (UW5)
Connector 202: Speaker - Right Front Tweeter
Connector 203: Speaker - Right Rear Door (UQ3)
Connector 204: Speaker - Right Rear Door (UW5)
Connector 205: Speaker - Subwoofer (UQ3)
Connector 206: Starter X1
Connector 207: Starter X2 (to Fuseblock - Underhood - X5)
Connector 208: Starter X2 (To Generator)
Connector 209: Steering Angle Sensor (without JL9)
Connector 210: Steering Wheel Controls - Left
Connector 211: Steering Wheel Controls - Right (UK3)
Connector 212: Sunroof Control Module (CF5)
Connector 213: Sunroof Switch (CF5)
Connector 214: Tail/Stop and Turn Signal Lamp - Left
Connector 215: Tail/Stop and Turn Signal Lamp - Right
Connector 216: Theft Deterrent Control Module
Connector 217: Throttle Body
Connector 218: Torque Converter Clutch Pulse Width Modulated (TCC PWM) Solenoid Valve (MN5)
Connector 219: Traction Control Switch (JL4/JL9)
Connector 220: Transmission Control Module (TCM) (MN5)
Connector 221: Turbo Bypass Valve Solenoid (LNF)
Connector 222: Turbocharger Wastegate Solenoid (LNF)
Connector 223: Turn Signal/Multifunction Switch X1
Connector 224: Turn Signal/Multifunction Switch X2
Connector 225: Vehicle Communication Interface Module (VCIM) X1 (UE1)
Connector 226: Vehicle Communication Interface Module (VCIM) X2 (UE1)
Connector 227: Vehicle Communication Interface Module (VCIM) X3 (UE1)
Connector 228: Vehicle Speed Sensor (VSS) (MN5)
Connector 229: Vehicle Speed Sensor (VSS) (M86)
Connector 230: Vehicle Speed Sensor (VSS) (MU3)
Connector 231: Wheel Speed Sensor (WSS) - Left Front
Connector 232: Wheel Speed Sensor (WSS) - Left Rear
Connector 233: Wheel Speed Sensor (WSS) - Right Front
Connector 234: Wheel Speed Sensor (WSS) - Right Rear
Connector 235: Window Motor - Driver
Connector 236: Window Motor - Left Rear (without Panel Van)
Connector 237: Window Motor - Passenger
Connector 238: Window Motor - Right Rear (without Panel Van)
Connector 239: Window Switch - Driver X1
Connector 240: Window Switch - Driver X2
Connector 241: Window Switch - Passenger
Connector 242: Window Switch - Left Rear (without Panel Van)
Connector 243: Window Switch - Right Rear (without Panel Van)
Connector 244: Windshield Washer Fluid Pump
Connector 245: Windshield Wiper Motor Assembly
Connector 246: Windshield Wiper/Washer Switch
Connector 247: Yaw and Lateral Acceleration Sensor (JL4)

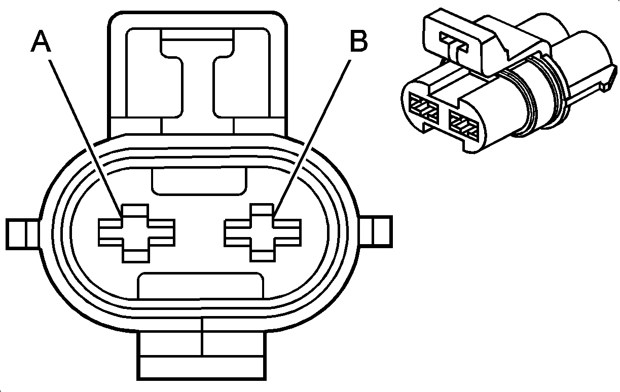
1-2 Shift Solenoid (SS) Valve (MN5)


Object Number: 82337  Size: CH

Connector Part Information

  • OEM: 12162201
  • Service: Service as Harness
  • Description: 2-Way F Metri-Pack 150.2 Series P2S (NA)

Terminal Part Information

  • Terminal/Tray: Service as Harness
  • Core/Insulation Crimp: N/A
  • Release Tool/Test Probe: N/A

1-2 Shift Solenoid (SS) Valve (MN5)

Pin

Wire

Circuit

Function

A

0.35 RD

839

Ignition 1 Voltage

B

0.35 L-GN

1222

1-2 Shift Solenoid Valve Control

2-3 Shift Solenoid (SS) Valve (MN5)


Object Number: 82337  Size: CH

Connector Part Information

  • OEM: 12162201
  • Service: Non-Serviceable
  • Description: 2-Way F Metri-Pack 150.2 Series P2S (NA)

Terminal Part Information

  • Terminal/Tray: Non-Serviceable
  • Core/Insulation Crimp: Non-Serviceable
  • Release Tool/Test Probe: Non-Serviceable

2-3 Shift Solenoid (SS) Valve (MN5)

Pin

Wire

Circuit

Function

A

0.35 RD

839

Ignition 1 Voltage

B

0.35 YE

1223

2-3 Shift Solenoid Valve Control

A/C Compressor Clutch


Object Number: 1334534  Size: CH

Connector Part Information

  • OEM: 12162017
  • Service: 12101937
  • Description: 2-Way F Metri-Pack 150 Series Sealed (GY)

Terminal Part Information

  • Terminal/Tray: 12048074/2
  • Core/Insulation Crimp: E/1
  • Release Tool/Test Probe: 12094429/J-35616-2A (GY)

A/C Compressor Clutch

Pin

Wire

Circuit

Function

A

0.5 D-GN

59

A/C Compressor Clutch Supply Voltage

B

0.5 BK

150

Ground

A/C Refrigerant Pressure Sensor


Object Number: 1519475  Size: CH

Connector Part Information

  • OEM: 13532244
  • Service: 88988301
  • Description: 3-Way F GT 150 Series Sealed (BK)

Terminal Part Information

  • Terminal/Tray: 15326267/19
  • Core/Insulation Crimp: E/4
  • Release Tool/Test Probe: 15315247/J-35616-2A (GY)

A/C Refrigerant Pressure Sensor

Pin

Wire

Circuit

Function

1

0.5 TN

5514

Low Reference (LNF)

0.5 PU/WH

6256

Low Reference (LE8/LE9)

2

0.5 GY

2700

5-Volt Reference (LNF)

6255

5-Volt Reference (LE8/LE9)

3

0.5 OG/BK

380

A/C Refrigerant Pressure Sensor Signal

Accelerator Pedal Position (APP) Sensor


Object Number: 1468854  Size: CH

Connector Part Information

  • OEM: 6-929264-1
  • Service: 89046653
  • Description: 6-Way F MT2 Housing (BK)

Terminal Part Information

  • Terminal/Tray: 4-969005-1/16
  • Core/Insulation Crimp: E/1
  • Release Tool/Test Probe: J-38125-560/J-35616-33 (YE)

Accelerator Pedal Position (APP) Sensor

Pin

Wire

Circuit

Function

1

0.35 TN

1274

5-Volt Reference

2

0.35 WH/BK

1164

5-Volt Reference

3

0.35 D-BU

1161

APP Sensor (1) Signal

4

0.35 BN

1271

Low Reference

5

0.35 PU

1272

Low Reference

6

0.35 L-BU

1162

APP Sensor (2) Signal

Accessory Power Outlet - Center Console


Object Number: 320518  Size: CH

Connector Part Information

  • OEM: 12176446
  • Service: 15305923
  • Description: 3-Way F Metri-Pack 280 Series (BK)

Terminal Part Information

  • Pins: A, C
  • Terminal/Tray: 12110844/4
  • Core/Insulation Crimp: C/A
  • Release Tool/Test Probe: 15315247/J-35616-4A (PU)
  • Pins: B
  • Terminal/Tray: See Terminal Repair Kit
  • Core/Insulation Crimp: See Terminal Repair Kit
  • Release Tool/Test Probe: See Terminal Repair Kit

Accessory Power Outlet - Center Console

Pin

Wire

Circuit

Function

A

1 RD/WH

240

Battery Positive Voltage

B

--

--

Not Used

C

0.8 BK

1250

Ground

Accessory Power Outlet - Rear (Panel Van)


Object Number: 320518  Size: CH

Connector Part Information

  • OEM: 12176446
  • Service: 15305923
  • Description: 3-Way F Metri-Pack 280 Series (BK)

Terminal Part Information

  • Terminal/Tray: 12110844/4
  • Core/Insulation Crimp: C/A
  • Release Tool/Test Probe: 15315247/J-35616-4A (PU)

Accessory Power Outlet - Rear (Panel Van)

Pin

Wire

Circuit

Function

A

1 RD/WH

1840

Battery Positive Voltage

B

--

--

Not Used

C

0.8 BK

450

Ground

Air Temperature Actuator


Object Number: 280764  Size: CH

Connector Part Information

  • OEM: 12064993
  • Service: 12102485
  • Description: 6-Way F Micro-Pack 100 Series (BK)

Terminal Part Information

  • Terminal/Tray: 12146447/ 3
  • Core/Insulation Crimp: E/C
  • Release Tool/Test Probe: 12031876-1/J-35616-6 (BN)

Air Temperature Actuator

Pin

Wire

Circuit

Function

5

0.35 PK

339

Ignition 1 Voltage

6

0.35 WH/BK

1236

Auxiliary Air Temperature Door Control

7

0.35 BK/WH

550

Ground

8

--

--

Not Used

9

0.35 D-BU

1646

Auxiliary Air Temperature Door Position Signal

10

0.35 L-BU/BK

1688

5-Volt Reference

Ambient Air Temperature Sensor


Object Number: 635009  Size: CH

Connector Part Information

  • OEM: 12052641
  • Service: 12102747
  • Description: 2-Way F Metri-Pack 150 Series (BK)

Terminal Part Information

  • Terminal/Tray: 12048074/2
  • Core/Insulation Crimp: E/1
  • Release Tool/Test Probe: 12094429/J-35616-2A (GY)

Ambient Air Temperature Sensor

Pin

Wire

Circuit

Function

A

0.35 D-GN/WH

636

Ambient Air Temperature Sensor Signal

B

0.35 YE

61

Low Reference

Ambient Light Sensor


Object Number: 82383  Size: CH

Connector Part Information

  • OEM: 12059249
  • Service: 12085535
  • Description: 2-Way F Metri-Pack 150 Series (NA)

Terminal Part Information

  • Terminal/Tray: 12064971/5
  • Core/Insulation Crimp: E/C
  • Release Tool/Test Probe: 12094429/J-35616-2A (GY)

Ambient Light Sensor

Pin

Wire

Circuit

Function

A

0.35 L-GN/BK

1137

DRL Ambient Light Sensor Signal

B

0.35 YE/BK

1138

DRL Ambient Light Sensor Low Reference

Audio Amplifier X1 (UQ3)


Object Number: 1608393  Size: CH

Connector Part Information

  • OEM: 6098-4713
  • Service: 88988659
  • Description: 8-Way F (BK)

Terminal Part Information

  • Pins: 1-4
  • Terminal/Tray: 8100-4443/22
  • Core/Insulation Crimp: E/A
  • Release Tool/Test Probe: 15315247/J-35616-35 (VT)
  • Pins: 5, 8
  • Terminal/Tray: 8100-4445/22
  • Core/Insulation Crimp: 4/4
  • Release Tool/Test Probe: 15315247/J-35616-35 (VT)

Audio Amplifier X1 (UQ3)

Pin

Wire

Circuit

Function

1

0.5 D-BU/WH

346

Rear Subwoofer Speaker Output (+)

2

0.5 L-GN/BK

1794

Rear Subwoofer Speaker Output (-)

3

0.5 D-GN

1795

Rear Subwoofer Speaker Output (+)

4

0.5 L-BU/BK

315

Rear Subwoofer Speaker Output (-)

5

2 BK/WH

751

Ground

6-7

--

--

Not Used

8

2 RD/WH

640

Battery Positive Voltage

Audio Amplifier X2 (UQ3)


Object Number: 1592558  Size: CH

Connector Part Information

  • OEM: 7283-6453-60
  • Service: 88952777
  • Description: 16-Way M 1.5 Series Sealed (GN)

Terminal Part Information

  • Pins: 2
  • Terminal/Tray: 7116-4100-08/9
  • Core/Insulation Crimp: E/C
  • Release Tool/Test Probe: 12094430/J-35616-2A (GY)
  • Pins: 1, 3, 4, 9-12
  • Terminal/Tray: 7116-4101-08/9
  • Core/Insulation Crimp: Pins 1, 3, 4, 11, 12 - E/A
  • Core/Insulation Crimp: Pins 9, 10 - C/A
  • Release Tool/Test Probe: 12094430/J-35616-2A (GY)

Audio Amplifier X2 (UQ3)

Pin

Wire

Circuit

Function

1

0.8 YE

116

Left Rear Speaker Output (-)

2

0.5 BN

199

Left Rear Speaker Output (+)

3

1 D-BU

46

Right Rear Speaker Output (+)

4

1 L-BU

115

Right Rear Speaker Output (-)

5-8

--

--

Not Used

9

2 D-GN

117

Right Front Speaker Output (-)

10

2 L-GN

200

Right Front Speaker Output (+)

11

1 TN

201

Left Front Speaker Output (+)

12

1 GY

118

Left Front Speaker Output (-)

13-16

--

--

Not Used

Audio Amplifier X3 (UQ3)


Object Number: 850856  Size: CH

Connector Part Information

  • OEM: 7283-9076-30
  • Service: 15136073
  • Description: 16-Way F Micro-Pack 64 Unsealed (BK)

Terminal Part Information

  • Terminal/Tray: 7116-4618-02/14
  • Core/Insulation Crimp: P/P
  • Release Tool/Test Probe: J-38125-215/J-35616-64B (L-BU)

Audio Amplifier X3 (UQ3)

Pin

Wire

Circuit

Function

1

0.35 BN

1999

Left Rear Low Level Audio Signal (-)

2

0.35 TN

1946

Right Rear Low Level Audio Signal (-)

3

0.35 BN/WH

599

Left Rear Low Level Audio Signal (+)

4

0.35 D-BU

546

Right Rear Low Level Audio Signal (+)

5-7

--

--

Not Used

8

0.35 PK

314

Radio On Signal

9

0.35 L-GN/WH

512

Right Front Low Level Audio Signal (+)

10

0.35 D-GN

1947

Left Front Low Level Audio Signal (-)

11

0.35 L-GN

1948

Right Front Low Level Audio Signal (-)

12

0.35 TN

511

Left Front Low Level Audio Signal (+)

13-15

--

--

Not Used

16

0.35 L-GN

1011

Remote Radio Control Signal

Automatic Transmission Fluid Pressure Manual Valve Position Switch (MN5)


Object Number: 73215  Size: CH

Connector Part Information

  • OEM: 12146095
  • Service: Service as Harness
  • Description: 6-Way F Metri-Pack 150.2 Series P2S (NA)

Automatic Transmission Fluid Pressure Manual Valve Position Switch (MN5)

Pin

Wire

Circuit

Function

A

--

--

Not Used

B

0.35 D-BU

1225

TFP Switch Signal B

C

0.35 OG

1226

TFP Switch Signal C

D

0.35 WH

1804

Torque Converter Clutch Release Switch Signal

E

0.35 BN

1227

Transmission Fluid Temperature (TFT) Sensor Signal

F

0.35 GY

452

Low Reference

Automatic Transmission Input Shaft Speed (ISS) Sensor (MN5)


Object Number: 82337  Size: CH

Connector Part Information

  • OEM: 12162201
  • Service: Service as Harness
  • Description: 2-Way F Metri-Pack 150.2 Series P2S (NA)

Automatic Transmission Input Shaft Speed (ISS) Sensor (MN5)

Pin

Wire

Circuit

Function

A

0.35 BK

1230

Input Speed Sensor (ISS) High Signal

B

0.35 D-GN

1231

ISS Low Signal

Automatic Transmission Shift Lever


Object Number: 810080  Size: CH

Connector Part Information

  • OEM: 12162083
  • Service: 8901283
  • Description: 2-Way F Lamp Socket Bulb Base Type W2 Axial (BK)

Terminal Part Information

  • Terminal/Tray: See Terminal Repair Kit
  • Core/Insulation Crimp: See Terminal Repair Kit
  • Release Tool/Test Probe: See Terminal Repair Kit

Automatic Transmission Shift Lever

Pin

Wire

Circuit

Function

A

0.35 GY

8

Instrument Panel Lamps Dimmer Switch Signal

B

0.35 BK

1250

Ground

Backup Lamp - Left


Object Number: 68721  Size: CH

Connector Part Information

  • OEM: 15300027
  • Service: 12101855
  • Description: 2-Way F Metri-Pack 280 Series Sealed (BK)

Terminal Part Information

  • Terminal/Tray: 12077411/2
  • Core/Insulation Crimp: 2/5
  • Release Tool/Test Probe: 12094430/J-35616-4A (PU)

Backup Lamp - Left

Pin

Wire

Circuit

Function

A

0.5 L-GN

24

Backup Lamp Supply Voltage

B

0.5 BK

750

Ground

Backup Lamp - Right


Object Number: 68721  Size: CH

Connector Part Information

  • OEM: 15300027
  • Service: 12101855
  • Description: 2-Way F Metri-Pack 280 Series Sealed (BK)

Terminal Part Information

  • Terminal/Tray: 12077411/2
  • Core/Insulation Crimp: 2/5
  • Release Tool/Test Probe: 12094430/J-35616-4A (PU)

Backup Lamp - Right

Pin

Wire

Circuit

Function

A

0.5 L-GN

24

Backup Lamp Supply Voltage

B

0.5 BK

850

Ground

Backup Lamp Switch (M86)


Object Number: 635009  Size: CH

Connector Part Information

  • OEM: 12052641
  • Service: 12102747
  • Description: 2-Way F Metri-Pack 150 Series (BK)

Terminal Part Information

  • Terminal/Tray: 12048074/2
  • Core/Insulation Crimp: E/1
  • Release Tool/Test Probe: 12094429/J-35616-2A (GY)

Backup Lamp Switch (M86)

Pin

Wire

Circuit

Function

A

0.5 PK

539

Ignition 1 Voltage

B

0.5 L-GN

24

Backup Lamp Supply Voltage

Battery (-)

Terminal Part Information

  • Terminal: R61014-002
  • Core/Insulation Crimp: N/A
  • Description: Battery Terminal

Battery (-)

Pin

Wire

Circuit

Function

-

32 BK

50

Ground

Battery (+)

Terminal Part Information

  • Terminal: R3311-033
  • Core/Insulation Crimp: N/A
  • Description: Battery Terminal

Battery (+)

Pin

Wire

Circuit

Function

+

32 RD

1

Battery Positive Voltage

8 RD

1

Battery Positive Voltage

Battery Current Sensor (without LNF)


Object Number: 646415  Size: CH

Connector Part Information

  • OEM: 15326808
  • Service: 15306388
  • Description: 3-Way F GT 150 Series Sealed (BK)

Terminal Part Information

  • Terminal/Tray: 12191819/8
  • Core/Insulation Crimp: E/A
  • Release Tool/Test Probe: 15315247/J-35616-2A (GY)

Battery Current Sensor (without LNF)

Pin

Wire

Circuit

Function

A

0.35 GY

596

5-Volt Reference

B

0.35 BK/WH

851

Ground

C

0.35 WH

5075

Current Sensor Signal

Blower Motor


Object Number: 704047  Size: CH

Connector Part Information

  • OEM: 12064749
  • Service: 12101888
  • Description: 2-Way F Metri-Pack 150 Series (BK)

Terminal Part Information

  • Terminal/Tray: See Terminal Repair Kit
  • Core/Insulation Crimp: See Terminal Repair Kit
  • Release Tool/Test Probe: See Terminal Repair Kit

Blower Motor

Pin

Wire

Circuit

Function

A

3 OG

52

High Blower Motor Control

B

3 BN

141

Run Ignition 3 Voltage

Blower Motor Resistor Assembly


Object Number: 816184  Size: CH

Connector Part Information

  • OEM: 12129566
  • Service: 15306069
  • Description: 4-Way F Metri-Pack 280 Series Sealed (GY)

Terminal Part Information

  • Terminal/Tray: See Terminal Repair Kit
  • Core/Insulation Crimp: See Terminal Repair Kit
  • Release Tool/Test Probe: See Terminal Repair Kit

Blower Motor Resistor Assembly

Pin

Wire

Circuit

Function

A

2 TN

63

Medium Blower Motor Control (1)

B

2 L-BU

72

Medium 2 Blower Motor Control

C

3 OG

52

High Blower Motor Control

D

2 YE

60

Low Blower Motor Control

Body Control Module (BCM) X1


Object Number: 1376257  Size: CH

Connector Part Information

  • OEM: 15393122
  • Service: 88987847
  • Description: 72-Way F Micro-64 Unsealed (GY)

Terminal Part Information

  • Terminal/Tray: 15359541/4
  • Core/Insulation Crimp: M/M
  • Release Tool/Test Probe: 15381651-2/J-35616-64B (L-BU)

Body Control Module (BCM) X1

Pin

Wire

Circuit

Function

1

0.5 L-BU/BK

747

Left Rear Door Ajar Switch Signal

2

0.35 L-BU/BK

6656

Left Rear Access Panel Control

3

0.5 PU

5531

Hood Closed Switch Signal (AP3)

4

0.5 PK/BK

109

Hood Ajar Switch Signal (AP3)

5

0.5 TN

755

Sunroof Enable Signal (CF5)

6

0.5 WH

682

Door Lock Lock/Unlock Signal

7

0.5 WH/BK

682

Door Lock Lock/Unlock Signal

8

0.5 WH/RD

1080

Park Lamp Relay Control

9

0.5 YE

5456

Rear Wiper Park Signal

10-12

--

--

Not Used

13

0.5 PK

849

Brake Fluid Level Sensor Signal (1)

14

0.5 L-BU

1134

Park Brake Switch Signal

15

0.5 YE

5199

Run/Crank Relay Coil Control

16

0.5 WH

193

Rear Defog Relay Control

17

0.5 D-BU

15

Right Turn Signal Lamp Supply Voltage

18

0.5 D-GN

5060

Low Speed GMLAN Serial Data (U2K)

19

0.5 TN/WH

746

Right Front Door Ajar Switch Signal

20

0.5 L-GN/BK

748

Right Rear Door Ajar Switch Signal

21

--

--

Not Used

22

0.5 GY/BK

745

Left Front Door Ajar Switch Signal

23-32

--

--

Not Used

33

0.5 D-GN/WH

1135

A/T Shift Interlock Solenoid Supply Voltage (MN5)

34

--

--

Not Used

35

0.5 L-BU

14

Left Turn Signal Lamp Supply Voltage

36

0.5 D-GN

5060

Low Speed GMLAN Serial Data (UE1)

37-39

--

--

Not Used

40

0.35 L-BU

1788

Traction Control Switch Signal (JL4/JL9)

41-43

--

--

Not Used

44

0.5 TN/WH

1969

Headlamp High Beam Relay Control

45-46

--

--

Not Used

47

0.5 YE

196

Windshield Wiper Motor Park Switch Signal

48-50

--

--

Not Used

51

0.5 D-GN

113

Windshield Wiper Switch Signal 2

52-53

--

--

Not Used

54

0.5 YE

317

Fog Lamp Relay Control

55

0.5 PK/BK

1303

Liftgate Ajar Switch Signal

56

0.35 L-BU

1344

Liftgate Release Relay Control

57

0.35 D-BU

5876

Passenger Door Lock Actuator Lock Control

58

0.5 L-GN

2270

Rear Window Washer Relay Control

59

0.5 GY

391

Rear Window Wiper Switch Signal

60

0.5 TN

28

Horn Relay Control

61

0.5 BK/WH

1251

Signal Ground

62

0.5 RD/WH

1340

Battery Positive Voltage

63

0.5 GY

596

5-Volt Reference

64

0.5 BK/WH

851

Signal Ground

65

--

-

Not Used

66

--

--

Not Used

67

0.5 YE

61

Low Reference

68

0.5 WH

5075

Current Sensor Signal

69

0.5 WH/BK

1221

Liftgate Release Switch Signal

70

0.5 D-GN/WH

636

Ambient Air Temperature Sensor Signal

71

0.5 L-GN/BK

592

DRL Relay Control

72

--

--

Not Used

Body Control Module (BCM) X2


Object Number: 1376254  Size: CH

Connector Part Information

  • OEM: 15393121
  • Service: 88987848
  • Description: 72-Way F Micro-64 Unsealed (GY)

Terminal Part Information

  • Terminal/Tray: 15359541/4
  • Core/Insulation Crimp: M/M
  • Release Tool/Test Probe: 15381651-2/J-35616-64B (L-BU)

Body Control Module (BCM) X2

Pin

Wire

Circuit

Function

1

0.5 TN/BK

2500

High Speed GMLAN Serial Data Bus (+)

2

0.5 TN/BK

2500

High Speed GMLAN Serial Data Bus (+)

3

0.5 YE

10

Headlamp Switch Signal

4

0.5 PU

524

Headlamp Dimmer Switch High Beam Signal

5

0.5 BN/WH

301

Park Lamp Switch On Signal

6

--

--

Not Used

7

0.35 TN/BK

6658

Rear Access Panel Release Switch Signal - Right Rear

8

--

--

Not Used

9

0.5 WH

111

Hazard Switch Signal

10

--

--

Not Used

11

0.5 D-GN

264

Security Indicator Supply Voltage

12-13

--

--

Not Used

14

0.5 TN

28

Horn Relay Control

15

0.5 WH

103

Headlamp Switch On Signal

16

0.5 OG

192

Front Fog Lamp Switch Signal (T37)

17

0.5 PU/WH

549

Headlamp Switch Headlamps Off Signal

18

--

--

Not Used

19

0.5 TN

2501

High Speed GMLAN Serial Data (-)

20

0.5 TN

2501

High Speed GMLAN Serial Data (-)

21

--

--

Not Used

22

0.35 L_GN/BK

5703

Driver Door Lock Actuator Lock Control

23-25

--

--

Not Used

26

0.5 D-GN

44

Instrument Panel Lamp Dimmer Switch Signal

27-37

--

--

Not Used

38

0.5 L-GN/BK

5060

Low Speed GMLAN Serial Data

39-43

--

--

Not Used

44

0.5 L-GN/BK

1137

DRL Ambient Light Sensor Signal

45-46

--

--

Not Used

47

0.5 YE/BK

1138

DRL Ambient Light Sensor Low Reference

48-50

--

--

Not Used

51

0.5 BN

1356

Flash To Pass Switch Signal

52-53

--

--

Not Used

54

--

--

Not Used

55

--

--

Not Used

56

0.5 WH

1390

Off/Run/Crank Voltage

57

0.5 GY

112

Windshield Wiper Switch Signal 1

58

0.5 PU

719

Low Reference

59-60

--

--

Not Used

61

0.5 GY

1884

Cruise Control Switch Signal

62

0.5 WH/BK

1073

Ignition Key Resistor Signal

63

--

--

Not Used

64

0.5 WH

2283

Rear Wiper/Washer Switch Supply Voltage

65

--

--

Not Used

66

0.5 YE/BK

1418

Left Rear Turn Signal Switch Signal

67

0.5 D-GN/WH

1419

Right Rear Turn Signal Switch Signal

68

0.5 L-BU

292

Rear Defog Switch Signal

69

0.5 L-GN

66

A/C Request Signal

70

--

--

Not Used

71

0.5 PU

5234

Passenger Seat Belt Indicator

72

0.5 WH

193

Rear Defog Relay Control

Body Control Module (BCM) X3


Object Number: 1362564  Size: CH

Connector Part Information

  • OEM: 15492675
  • Service: 15404825
  • Description: 41-Way F Micro-64 Unsealed (RD)

Terminal Part Information

  • Pins: A1-A5, A7-A10, A12, B1, D4, B3, B5, B12, C12, D7
  • Pins: C3 (Panel Van)
  • Terminal/Tray: 12110844/4
  • Core/Insulation Crimp: Pins A1-A5, A7-A10, A12, B1, D4 - E/A
  • Core/Insulation Crimp: Pins B3, B5, B12, C12, D7 - E/C
  • Core/Insulation Crimp: Pins C3 - C/A
  • Release Tool/Test Probe: 15315247/J-35616-4A (PU)
  • Pins: C5, D1, D6, D10-D12
  • Terminal/Tray: 12110842/4
  • Core/Insulation Crimp: Pins C5, D11 - A/B
  • Core/Insulation Crimp: Pins D1, D6, D10, D12 - F/G
  • Release Tool/Test Probe: 15315247/J-35616-4A (PU)

Body Control Module (BCM) X3

Pin

Wire

Circuit

Function

A1

0.5 TN

294

Door Lock Actuator Unlock Control

0.5 TN

294

Door Lock Actuator Unlock Control

A2

0.5 TN

294

Door Lock Actuator Unlock Control

A3

0.5 D-BU/WH

149

Courtesy Lamp Supply Voltage

A4

0.5 GY/BK

295

Door Lock Actuator Lock Control

0.5 GY/BK

295

Door Lock Actuator Lock Control

A5

0.5 GY

295

Door Lock Actuator Lock Control

0.5 GY

295

Door Lock Actuator Lock Control

A6

--

--

Not Used

A7

0.5 BN

9

Park Lamp Supply Voltage

A8

0.5 PK

339

Ignition 1 Voltage

A9

0.5 YE

18

Left Rear Stop/Turn Lamp Supply Voltage

A10

0.5 GY

157

Courtesy Lamp Control

A11

--

--

Not Used

A12

0.5 D-GN

19

Right Rear Stop/Turn Lamp Supply Voltage

B1

0.5 TN/BK

694

Driver Door Lock Actuator Unlock Control

B2

--

--

Not Used

B3

0.5 RD/WH

1340

Battery Positive Voltage

0.35 RD/WH

1340

Battery Positive Voltage (UE1)

B4

--

--

Not Used

B5

0.5 BN

4

Accessory Voltage

0.5 BN

4

Accessory Voltage (MN5)

B6-B7

--

--

Not Available

B8-B11

--

--

Not Used

B12

0.5 GY

8

Instrument Panel Lamps Dimmer Switch Signal

C1-C2

--

--

Not Available

C3

0.8 D-GN

1301

RAP Fuse Supply Voltage (Panel Van)

C4

--

--

Not Used

C5

--

--

Not Used

C6-C7

--

--

Not Available

C8-C11

--

--

Not Used

C12

0.5 OG

228

Windshield Washer Pump Control

D1

5 RD/BK

142

Battery Positive Voltage

D2

--

--

Not Available

D3

--

--

Not Used

D4

0.5 RD/WH

840

Battery Positive Voltage

D5

--

--

Not Used

D6

1 PK

739

Ignition 1 Voltage

1 PK

739

Ignition 1 Voltage (Panel Van)

D7

0.5 PK

1339

Ignition 1 Voltage

0.5 PK

1339

Ignition 1 Voltage (-ASF)

D8-D9

--

--

Not Used

D10

3 RD/BK

442

Battery Positive Voltage

D11

2 RD/WH

640

Battery Positive Voltage (UQ3)

D12

3 RD/BK

242

Battery Positive Voltage

Body Control Module (BCM) X4


Object Number: 697044  Size: CH

Connector Part Information

  • OEM: 15492668
  • Service: 88988776
  • Description: 68-Way F Micro-64 Unsealed (L-GY)

Terminal Part Information

  • Pins: E12
  • Terminal/Tray: 12110842/4
  • Core/Insulation Crimp: A/B
  • Release Tool/Test Probe: 15315247/J-35616-4A (PU)
  • Pins: D4, D10
  • Terminal/Tray: 12110842/4
  • Core/Insulation Crimp: Pins D4 - F/G
  • Core/Insulation Crimp: Pins D10 - See Terminal Repair Kit
  • Release Tool/Test Probe: 15315247/J-35616-4A (PU)
  • Pins: B1, B2, C2, C8, C11, C12, D1, D3, E6, F1, F3, F9, F9, C1, E1, F4-F6
  • Terminal/Tray: 12110844/4
  • Core/Insulation Crimp: Pins B1, B2, C2 C8, C11, C12, D1, D3, E6, F1, F3, F9 - E/C
  • Core/Insulation Crimp: Pins A2, C1, E1, F4-F6 - E/A
  • Release Tool/Test Probe: 15315247/J-35616-4A (PU)

Body Control Module (BCM) X4

Pin

Wire

Circuit

Function

A1

--

--

Not Used

A2

0.5 GY

157

Courtesy Lamp Control

A3-A12

--

--

Not Used

B1

0.5 OG

228

Windshield Washer Pump Control

B2

0.5 GY

8

Instrument Panel Lamps Dimmer Switch Signal

B3-B12

--

--

Not Used

C1

0.5 RD/WH

1440

Battery Positive Voltage

0.5 RD/WH

1440

Battery Positive Voltage

C2

0.5 GY

8

Instrument Panel Lamps Dimmer Switch Signal

C3-C5

--

--

Not Used

C6-C7

--

--

Not Available

C8

0.5 BN

4

Accessory Voltage (MN5)

0.5 BN

4

Accessory Voltage (-MN5)

0.5 BN

4

Accessory Voltage (-MN5)

C9-C10

--

--

Not Used

C11

0.5 GY

8

Instrument Panel Lamps Dimmer Switch Signal

0.5 GY

8

Instrument Panel Lamps Dimmer Switch Signal

C12

0.5 GY

8

Instrument Panel Lamps Dimmer Switch Signal

D1

0.5 RD/WH

1040

Battery Positive Voltage

D2

--

--

Not Used

D3

0.5 YE

5199

Run/Crank Relay Coil Control

D4

3 BN

141

Run Ignition 3 Voltage

D5

--

--

Not Used

D6-D7

--

--

Not Available

D8

0.35 YE

43

RAP Fuse Supply Voltage

D9

--

--

Not Used

D10

0.5 RD/WH

1140

Battery Positive Voltage

1 RD/WH

1140

Battery Positive Voltage

D11-D12

--

--

Not Used

E1

0.5 RD/WH

140

Battery Positive Voltage

E2-E5

--

--

Not Used

E6

0.5 PK

439

Ignition 1 Voltage

E7-E9

--

--

Not Used

E10

0.5 RD/WH

1340

Battery Positive Voltage (U2K)

E11

--

--

Not Used

E12

2 BK

550

Ground

F1

0.5 RD/WH

1540

Battery Positive Voltage

0.5 RD/WH

1540

Battery Positive Voltage

F2

0.35 GY

8

Instrument Panel Lamp Dimmer Switch Signal (JL4/JL9)

F3

0.5 GY

8

Instrument Panel Lamp Dimmer Switch Signal (T37)

0.5 GY

8

Instrument Panel Lamp Dimmer Switch Signal

F4

0.5 PK

339

Ignition 1 Voltage

F5

0.5 PK

339

Ignition 1 Voltage

F6

0.5 PK

339

Ignition 1 Voltage

0.5 PK

339

Ignition 1 Voltage (UAF)

F7-F8

--

--

Not Used

F9

0.5 PK

1539

Ignition 1 Voltage

0.5 PK

1539

Ignition 1 Voltage

F10-F12

--

--

Not Used

Brake Booster Vacuum Sensor


Object Number: 1331443  Size: CH

Connector Part Information

  • OEM: 1928403966
  • Service:88988583
  • Description: 3-Way F Kompakt 280 Series, Sealed (BK)

Terminal Part Information

  • Terminal/Tray: See 1928498056/ 8
  • Core/Insulation Crimp: E/1
  • Release Tool/Test Probe: J-38125-561/J-35616-35 (VT)

Brake Booster Vacuum Sensor

Pin

Wire

Circuit

Function

1

0.5 L-GN

6257

5-Volt Reference

2

0.5 L-GN/BK

6258

Low Reference

3

0.5 D-BU

1809

Brake Booster Vacuum Signal

Brake Fluid Level Switch


Object Number: 1538760  Size: CH

Connector Part Information

  • OEM: 15449028
  • Service: 88987978
  • Description: 2-Way F 150 GT Series Sealed (BK)

Terminal Part Information

  • Terminal/Tray: 15326267/19
  • Core/Insulation Crimp: E/4
  • Release Tool/Test Probe: 15315247/J-35616-2A (GY)

Brake Fluid Level Switch

Pin

Wire

Circuit

Function

A

0.35 PK

849

Brake Fluid Level Sensor Signal

B

0.35 BK/WH

1251

Ground

Brake Pedal Position (BPP) Sensor


Object Number: 1243663  Size: CH

Connector Part Information

  • OEM: 15332132
  • Service: 88953364
  • Description: 3-Way F GT150 Series (BK)

Terminal Part Information

  • Terminal/Tray: 12191812/19
  • Core/Insulation Crimp: E/C
  • Release Tool/Test Probe:15315247/J-35616-2A (GY)

Brake Pedal Position (BPP) Sensor

Pin

Wire

Circuit

Function

A

0.35 BN

5360

Low Reference

B

0.35 YE

5361

BPP Sensor Signal

C

0.35 WH

5359

Reference Voltage

Camshaft Position (CMP) Actuator Solenoid - Exhaust


Object Number: 646406  Size: CH

Connector Part Information

  • OEM: 15336004
  • Service: 15306187
  • Description: 2-Way F GT 150 Series Sealed (BK)

Terminal Part Information

  • Terminal/Tray: 15326267/19
  • Core/Insulation Crimp: E/4
  • Release Tool/Test Probe: 15315247/J-35616-2A (GY)

Camshaft Position (CMP) Actuator Solenoid - Exhaust

Pin

Wire

Circuit

Function

A

0.5 L-GN

5282

CMP Actuator Solenoid Control Exhaust (LE8/LE9)

0.5 PK/BK

5293

Powertrain Main Relay Fused Supply (LNF)

B

0.5 BN/WH

6754

Low Reference (LE8/LE9

0.5 L-GN

5282

CMP Actuator Solenoid Control Exhaust (LNF)

Camshaft Position (CMP) Actuator Solenoid - Intake


Object Number: 646403  Size: CH

Connector Part Information

  • OEM: 15335987
  • Service: 15306430
  • Description: 2-Way F GT 150 Series Sealed (BK)

Terminal Part Information

  • Terminal/Tray: 15326267/19
  • Core/Insulation Crimp: E/4
  • Release Tool/Test Probe: 15315247/J-35616-2A (GY)

Camshaft Position (CMP) Actuator Solenoid - Intake

Pin

Wire

Circuit

Function

A

0.5 PU

5284

CMP Actuator Solenoid Control Intake (LE8/LE9)

0.5 PK/BK

5293

Powertrain Main Relay Fused Supply (LNF)

B

0.5 BN

6753

Low Reference (LE8/LE9)

0.5 PU

5284

CMP Actuator Solenoid Control Intake (LNF)

Camshaft Position (CMP) Sensor - Exhaust


Object Number: 646415  Size: CH

Connector Part Information

  • OEM: 15326808
  • Service: 15306388
  • Description: 3-Way F GT 150 Series Sealed (BK)

Terminal Part Information

  • Terminal/Tray: 12191819/8
  • Core/Insulation Crimp: E/A
  • Release Tool/Test Probe: 15315247/J-35616-2A (GY)

Camshaft Position (CMP) Sensor - Exhaust

Pin

Wire

Circuit

Function

A

0.5 YE/BK

5297

5-Volt Reference (LE8/LE9)

0.5 GY

705

5-Volt Reference 2 (LNF)

B

0.5 GY

5296

Low Reference (LE8/LE9)

0.5 TN

552

Low Reference (LNF)

C

0.5 D-GN

5273

CMP Sensor Signal

Camshaft Position (CMP) Sensor - Intake


Object Number: 646415  Size: CH

Connector Part Information

  • OEM: 15326808
  • Service: 15306388
  • Description: 3-Way F GT 150 Series Sealed (BK)

Terminal Part Information

  • Terminal/Tray: 12191819/8
  • Core/Insulation Crimp: E/A
  • Release Tool/Test Probe: 15315247/J-35616-2A (GY)

Camshaft Position (CMP) Sensor - Intake

Pin

Wire

Circuit

Function

A

0.5 D-BU

5300

5-Volt Reference (LE8/LE9)

0.5 GY

705

5-Volt Reference 2 (LNF)

B

0.5 TN

5301

Low Reference (LE8/LE9)

552

Low Reference (LNF)

C

0.5 OG

5275

CMP Sensor Signal

Cellular Microphone (UE1)


Object Number: 35441  Size: CH

Connector Part Information

  • OEM: 12048457
  • Service: 12085481
  • Description: 2-Way M Metri-Pack 150 Series (BK)

Terminal Part Information

  • Terminal/Tray: 12047581/2
  • Core/Insulation Crimp: E/C
  • Release Tool/Test Probe: 12094429/J-35616-3 (GY)

Cellular Microphone (UE1)

Pin

Wire

Circuit

Function

A

0.5 Bare

1489

Drain Wire

B

0.35 GY

655

Cellular Microphone Signal

Center High Mounted Stop Lamps (CHMSL)


Object Number: 877923  Size: CH

Connector Part Information

  • OEM: 15332129
  • Service: 16530675
  • Description: 2-Way Socket (GY)

Terminal Part Information

  • Terminal/Tray: 12191812/19
  • Core/Insulation Crimp: E/C
  • Release Tool/Test Probe: 15315247/J-35616-2A (GY)

Center High Mounted Stop Lamps (CHMSL)

Pin

Wire

Circuit

Function

A

0.35 BN

20

Stop Lamp Supply Voltage

B

0.35 BK/WH

850

Ground

Cigar Lighter (DT4)/Power Outlet (without DT4)


Object Number: 362748  Size: CH

Connector Part Information

  • OEM: 12176836
  • Service: 15305923
  • Description: 3-Way F Metri-Pack 280 Series (GY)

Terminal Part Information

  • Terminal/Tray: 12110844/4
  • Core/Insulation Crimp: E/A
  • Release Tool/Test Probe: 15315247/J-35616-4A (PU)

Cigar Lighter (DT4)/Power Outlet (without DT4)

Pin

Wire

Circuit

Function

A

0.8 RD/WH

40

Battery Positive Voltage

B

--

--

Not Used

C

0.8 BK

550

Ground

Clutch Pedal Position (CPP) Sensor (M86)


Object Number: 1243663  Size: CH

Connector Part Information

  • OEM: 15332132
  • Service: 88953364
  • Description: 3-Way F GT 150 Series (BK)

Terminal Part Information

  • Terminal/Tray: 12191812/19
  • Core/Insulation Crimp: E/C
  • Release Tool/Test Probe: 15315247/J-35616-2A (GY)

Clutch Pedal Position (CPP) Sensor (M86)

Pin

Wire

Circuit

Function

A

0.5 TN

2759

Low Reference

B

0.35 L-GN

6338

Clutch Position Sensor Signal

C

0.5 GY

2709

5-Volt Reference

Crankshaft Position (CKP) Sensor


Object Number: 1664596  Size: CH

Connector Part Information

  • OEM: 31403-3710
  • Service: 88988337
  • Description: 3-Way F Mixed 64 Series Sealed (BK)

Terminal Part Information

  • Terminal/Tray: 33467-0003/23
  • Core/Insulation Crimp: H/H
  • Release Tool/Test Probe: J-38125-213/J-35616-64B (L-BU)

Crankshaft Position (CKP) Sensor

Pin

Wire

Circuit

Function

1

0.5 L-GN

2867

5-Volt Reference

2

0.5 PU

574

Low Reference

3

0.5 YE

573

Crankshaft Position Sensor Signal

Data Link Connector (DLC)


Object Number: 68793  Size: CH

Connector Part Information

  • OEM: 12110250
  • Service: 19177614
  • Description: 16-Way F Metri-Pack 150 Series (BK)

Terminal Part Information

  • Terminal/Tray: 12129484/19
  • Core/Insulation Crimp: E/C
  • Release Tool/Test Probe: 12094429/J-35616-2A (GY)

Data Link Connector (DLC)

Pin

Wire

Circuit

Function

1

0.35 D-GN/YE

5060

Low Speed GMLAN Serial Data

2-3

--

--

Not Used

4

0.5 BK

550

Ground

5

0.5 BK/WH

651

Signal Ground

6

0.35 TN/BK

2500

High Speed GMLAN Serial Data Bus (+)

7-13

--

--

Not Used

14

0.35 TN

2501

High Speed GMLAN Serial Data Bus (-)

15

--

--

Not Used

16

0.8 RD/WH

40

Battery Positive Voltage

Digital Radio Receiver (U2K)


Object Number: 1711013  Size: CH

Connector Part Information

  • OEM: 7283-9076-30
  • Service: 15394150
  • Description: 16-Way F Kaizen 64 Series (BK)

Terminal Part Information

  • Terminal/Tray: SAIT-A03T-M064/14
  • Core/Insulation Crimp: P/P
  • Release Tool/Test Probe: J-38125-215A/J-35616-64B (L-BU)

Digital Radio Receiver (U2K)

Pin

Wire

Circuit

Function

1

--

--

Not Used

2

0.35 BN/WH

367

Left Audio Signal (+)

3

0.35 D-GN/WH

368

Radio Right Audio Signal (+)

4

--

--

Not Used

5

0.35 D-GN

5060

Low Speed GMLAN Serial Data

6

--

--

Not Used

7-8

--

--

Not Used

9

0.5 BK/WH

851

Ground

10

0.35 TN/WH

372

Audio Common

11

0.5 Bare

814

Drain Wire

12-15

--

--

Not Used

16

0.5 RD/WH

1340

Battery Positive Voltage

Dome Lamp


Object Number: 333035  Size: CH

Connector Part Information

  • OEM: 12047781
  • Service: 12101864
  • Description: 3-Way F Metri-Pack 150 Series (BK)

Terminal Part Information

  • Terminal/Tray: 15326030/2
  • Core/Insulation Crimp: E/C
  • Release Tool/Test Probe: 12094429/J-35616-14 (GN)

Dome Lamp

Pin

Wire

Circuit

Function

A

0.5 GY

157

Interior Lamp Control

B

0.5 D-BU/WH

149

Courtesy Lamp Supply Voltage

C

--

--

Not Used

Dome/Reading Lamps - Front (without CF5)


Object Number: 333035  Size: CH

Connector Part Information

  • OEM: 12047781
  • Service: 12101864
  • Description: 3-Way F Metri-Pack 150 Series (BK)

Terminal Part Information

  • Terminal/Tray: 15326030/2
  • Core/Insulation Crimp: E/C
  • Release Tool/Test Probe: 12094429/J-35616-14 (GN)

Dome/Reading Lamps - Front (without CF5)

Pin

Wire

Circuit

Function

A

0.5 GY

157

Interior Lamp Control

B

0.5 D-BU/WH

149

Courtesy Lamp Supply Voltage

C

0.5 BK

750

Ground

Dome/Reading Lamps - Rear


Object Number: 333035  Size: CH

Connector Part Information

  • OEM: 12047781
  • Service: 12101864
  • Description: 3-Way F Metri-Pack 150 Series (BK)

Terminal Part Information

  • Terminal/Tray: 15326030/2
  • Core/Insulation Crimp: E/C
  • Release Tool/Test Probe: 12094429/J-35616-14 (GN)

Dome/Reading Lamps - Rear

Pin

Wire

Circuit

Function

A

0.5 GY

157

Interior Lamp Control

B

0.5 D-BU/WH

149

Courtesy Lamp Supply Voltage

C

0.5 BK

750

Ground

Door Jamb Switch - Left Front


Object Number: 1538760  Size: CH

Connector Part Information

  • OEM: 15449028
  • Service: 88987978
  • Description: 2-Way F 150 GT Series Sealed (BK)

Terminal Part Information

  • Terminal/Tray: 15326267/19
  • Core/Insulation Crimp: E/4
  • Release Tool/Test Probe: 15315247/J-35616-2A (GY)

Door Jamb Switch - Left Front

Pin

Wire

Circuit

Function

A

0.35 GY/BK

745

Left Front Door Ajar Switch Signal

B

0.35 BK/WH

1251

Ground

Door Jamb Switch - Left Rear (without Panel Van)


Object Number: 1538760  Size: CH

Connector Part Information

  • OEM: 15449028
  • Service: 88987978
  • Description: 2-Way F 150 GT Series Sealed (BK)

Terminal Part Information

  • Terminal/Tray: 15326267/19
  • Core/Insulation Crimp: E/4
  • Release Tool/Test Probe: 15315247/J-35616-2A (GY)

Door Jamb Switch - Left Rear (without Panel Van)

Pin

Wire

Circuit

Function

A

0.35 L-BU/BK

747

Left Rear Door Ajar Switch Signal

B

0.35 BK/WH

1251

Ground

Door Jamb Switch - Right Front


Object Number: 1538760  Size: CH

Connector Part Information

  • OEM: 15449028
  • Service: 88987978
  • Description: 2-Way F 150 GT Series Sealed (BK)

Terminal Part Information

  • Terminal/Tray: 15326267/19
  • Core/Insulation Crimp: E/4
  • Release Tool/Test Probe: 15315247/J-35616-2A (GY)

Door Jamb Switch - Right Front

Pin

Wire

Circuit

Function

A

0.35 TN/WH

746

Right Front Door Ajar Switch Signal

B

0.35 BK/WH

1551

Ground

Door Jamb Switch - Right Rear (without Panel Van)


Object Number: 1538760  Size: CH

Connector Part Information

  • OEM: 15449028
  • Service: 88987978
  • Description: 2-Way F 150 GT Series Sealed (BK)

Terminal Part Information

  • Terminal/Tray: 15326267/19
  • Core/Insulation Crimp: E/4
  • Release Tool/Test Probe: 15315247/J-35616-2A (GY)

Door Jamb Switch - Right Rear (without Panel Van)

Pin

Wire

Circuit

Function

A

0.35 L-GN/BK

748

Right Rear Door Ajar Switch Signal

B

0.35 BK/WH

1551

Ground

Door Latch - Driver


Object Number: 872584  Size: CH

Connector Part Information

  • OEM: 15398831
  • Service: 89046629
  • Description: 4-Way F Timer Micro 3 Sealed (BK)

Terminal Part Information

  • Terminal/Tray: 964274-2/16
  • Core/Insulation Crimp: E/1
  • Release Tool/Test Probe: J-38125-560/J-35616-33 (YE)

Door Latch - Driver

Pin

Wire

Circuit

Function

1

--

--

Not Used

2

0.5 TN

694

Driver Door Lock Actuator Unlock Control

3

0.35 GY

295

Door Lock Actuator Lock Control

4

--

--

Not Used

Door Latch - Left Rear (without Panel Van)


Object Number: 872584  Size: CH

Connector Part Information

  • OEM: 15398831
  • Service: 89046629
  • Description: 4-Way F Timer Micro 3 Sealed (BK)

Terminal Part Information

  • Terminal/Tray: 964274-2/16
  • Core/Insulation Crimp: E/1
  • Release Tool/Test Probe: J-38125-560/J-35616-33 (YE)

Door Latch - Left Rear (without Panel Van)

Pin

Wire

Circuit

Function

1

--

--

Not Used

2

0.5 TN

294

Door Lock Actuator Unlock Control

3

0.5 GY

295

Door Lock Actuator Lock Control

4

--

--

Not Used

Door Latch - Liftgate


Object Number: 1626671  Size: CH

Connector Part Information

  • OEM: 15476199
  • Service: 88988358
  • Description: 6-Way F GT 150 Series (GN)

Terminal Part Information

  • Terminal/Tray: 15304719/19
  • Core/Insulation Crimp: Pins 1 - 2/5
  • Core/Insulation Crimp: Pins 3, 5, 6 - E/5
  • Release Tool/Test Probe: 15315247/J-35616-4A (PU)

Door Latch - Liftgate

Pin

Wire

Circuit

Function

1

0.8 TN/WH

56

Rear Compartment Lid Release Actuator

2

--

--

Not Used

3

0.5 BK

850

Ground

4

--

--

Not Used

5

0.35 BK

850

Ground

6

0.35 PK/BK

1303

Liftgate Ajar Switch Signal (1)

Door Latch - Passenger


Object Number: 872584  Size: CH

Connector Part Information

  • OEM: 15398831
  • Service: 89046629
  • Description: 4-Way F Timer Micro 3 Sealed (BK)

Terminal Part Information

  • Terminal/Tray: 964274-2/16
  • Core/Insulation Crimp: E/1
  • Release Tool/Test Probe: J-38125-560/J-35616-33 (YE)

Door Latch - Passenger

Pin

Wire

Circuit

Function

1

--

--

Not Used

2

0.5 TN

294

Door Lock Actuator Unlock Control

3

0.5 GY

295

Door Lock Actuator Lock Control

4

--

--

Not Used

Door Latch - Right Rear (without Panel Van)


Object Number: 872584  Size: CH

Connector Part Information

  • OEM: 15398831
  • Service: 89046629
  • Description: 4-Way F Timer Micro 3 Sealed (BK)

Terminal Part Information

  • Terminal/Tray: 964274-2/16
  • Core/Insulation Crimp: E/1
  • Release Tool/Test Probe: J-38125-560/J-35616-33 (YE)

Door Latch - Right Rear (without Panel Van)

Pin

Wire

Circuit

Function

1

--

--

Not Used

2

0.5 TN

294

Door Lock Actuator Unlock Control

3

0.5 GY

295

Door Lock Actuator Lock Control

4

--

--

Not Used

Door Lock Switch - Driver


Object Number: 62469  Size: CH

Connector Part Information

  • OEM: 12064998
  • Service: 15306189
  • Description: 8-Way F Metri-Pack 280 Series (BK)

Terminal Part Information

  • Terminal/Tray: 12034046/2
  • Core/Insulation Crimp: E/A
  • Release Tool/Test Probe: 12094430/J-35616-4A (PU)

Door Lock Switch - Driver

Pin

Wire

Circuit

Function

A

0.5 WH

682

Door Lock Lock/Unlock Signal

B-D

--

--

Not Used

E

0.35 BK/WH

1251

Ground

F

0.35 BK/WH

1251

Ground

G

0.35 GY

8

Instrument Panel Lamps Dimmer Switch Signal

H

--

--

Not Used

Door Lock Switch - Passenger


Object Number: 62469  Size: CH

Connector Part Information

  • OEM: 12064998
  • Service: 15306189
  • Description: 8-Way F Metri-Pack 280 Series (BK)

Terminal Part Information

  • Terminal/Tray: 12034046/2
  • Core/Insulation Crimp: E/A
  • Release Tool/Test Probe: 12094430/J-35616-4A (PU)

Door Lock Switch - Passenger

Pin

Wire

Circuit

Function

A

0.5 WH

682

Door Lock Lock/Unlock Signal

B-D

--

--

Not Used

E

0.35 BK/WH

1551

Ground

F

0.35 BK/WH

1551

Ground

G

0.35 GY

8

Instrument Panel Lamps Dimmer Switch Signal

H

--

--

Not Used

Door Lock Switch - Rear (Panel Van)


Object Number: 1376712  Size: CH

Connector Part Information

  • OEM: 15417063
  • Service: 88987857
  • Description: 3-way F Micro-Pack 064 Series (BK)

Terminal Part Information

  • Terminal/Tray: 12177007/ 19
  • Core/Insulation Crimp: E/2
  • Release Tool/Test Probe: 12180559-1/J-35616-64B (L-BU)

Door Lock Switch - Rear (Panel Van)

Pin

Wire

Circuit

Function

A

0.35 BK/WH

1551

Ground

B

--

--

Not Used

C

0.5 WH

682

Rear Door Lock Switch Signal

Driver Information Display (DIC) (UAF)


Object Number: 646374  Size: CH

Connector Part Information

  • OEM:15332145
  • Service: 15306407
  • Description: 8-Way F GT 150 Series (BK)

Terminal Part Information

  • Terminal/Tray:12191812/ 19
  • Core/Insulation Crimp: E/C
  • Release Tool/Test Probe: 15315247/J-35616-2A (GY)

Driver Information Display (DIC) (UAF)

Pin

Wire

Circuit

Function

A

0.35 TN/BK

2500

High-Speed GMLAN Serial Data Bus (+)

B

0.35 TN

2501

Low Speed GMLAN Serial Data Bus (-)

C-D

--

--

Not Used

E

0.35 TN/BK

2500

High-Speed GMLAN Serial Data Bus (+)

F

0.35 TN

2501

Low Speed GMLAN Serial Data Bus (-)

Driver Rear Access Panel Switch - Left Rear Panel (Panel Van)


Object Number: 39660  Size: CH

Connector Part Information

  • OEM: 12047785
  • Service: 12102900
  • Description: 4-Way F Metri-Pack 150 Series (BK)

Terminal Part Information

  • Terminal/Tray: 12064971/5
  • Core/Insulation Crimp: E/C
  • Release Tool/Test Probe: 12094429/J-35616-2A (GY)

Driver Rear Access Panel Switch - Left Rear Panel (Panel Van)

Pin

Wire

Circuit

Function

A

0.35 BK/WH

1251

Ground

B

--

--

Not Used

C

0.35 L-BU/BK

6656

Rear Access Panel Release Switch Signal - Left Rear

D

0.35 GY

8

Instrument Panel Lamps Dimmer Switch Signal

Driver Rear Access Panel Switch - Right Rear Panel (Panel Van)


Object Number: 1283883  Size: CH

Connector Part Information

  • OEM: 15419483
  • Service: 89046742
  • Description: 4-Way F Metri-Pack 150 Series (BK)

Terminal Part Information

  • Terminal/Tray: 12064971/5
  • Core/Insulation Crimp: E/C
  • Release Tool/Test Probe: 12094429/J-35616-2A (GY)

Driver Rear Access Panel Switch - Right Rear Panel (Panel Van)

Pin

Wire

Circuit

Function

A

0.35 BK/WH

1251

Ground

B

--

--

Not Used

C

0.35 TN/BK

6658

Rear Access Panel Release Switch Signal - Right Rear

D

0.35 GY

8

Instrument Panel Lamps Dimmer Switch Signal

Electronic Brake Control Module (EBCM) (JL4)


Object Number: 1830966  Size: CH

Connector Part Information

  • OEM: 8-1355628-3
  • Service: See Catalog
  • Description: 47-Way F MK25/60 (BK)

Terminal Part Information

  • Pins: 1, 16, 32, 47
  • Terminal/Tray:7116-4141-02/10
  • Core/Insulation Crimp: 4/3
  • Release Tool/Test Probe: 12094430/J-35616-42 (RD)
  • Pins: 2-15, 17-31, 33- 46
  • Terminal/Tray: 638551-1/16
  • Core/Insulation Crimp: J/J
  • Release Tool/Test Probe: 15315247/J-35616-64B (L-BU)

Electronic Brake Control Module (EBCM) (JL4)

Pin

Wire

Circuit

Function

1

3 RD/BK

542

Battery Positive Voltage

2-4

--

--

Not Used

5

0.35 GY

1056

Steering Wheel Position Sensor 5-Volt Reference Voltage (LNF)

6-7

--

--

Not Used

8

0.5 PK

1439

Ignition 1 Voltage

9-10

--

--

Not Used

11

0.35 TN/BK

2500

High Speed GMLAN Serial Data Bus+

12

0.35 TN/BK

2500

High Speed GMLAN Serial Data Bus+

13

0.35 TN

2501

High Speed GMLAN Serial Data Bus-

14

0.35 TN

2501

High Speed GMLAN Serial Data Bus-

15

--

--

Not Used

16

3 BK

350

Ground

17

--

--

Not Used

18

0.5 PK/BK

6434

CAN Bus High 2 Serial Data

19

0.5 GY/BK

6435

CAN Bus Low 2 Serial Data

20-21

--

--

Not Used

22

0.5 D-GN

2087

Steering Wheel Position Sensor 5-Volt Reference

23-25

--

--

Not Used

26

0.5 L-GN

6257

5-Volt Reference (LNF)

27

0.5 L-GN/BK

6258

Low Reference (LNF)

28

--

--

Not Used

29

0.5 L-BU

2088

Steering Wheel Position Sensor Low Reference

30-31

--

--

Not Used

32

2 RD/WH

740

Battery Positive Voltage

33

0.5 TN

833

Right Front Wheel Speed Sensor Low Reference

34

0.5 D-GN

872

Right Front Wheel Speed Sensor Signal

35

--

--

Not Used

36

0.5 TN

884

Left Rear Wheel Speed Sensor Signal

37

0.5 OG

885

Left Rear Wheel Speed Sensor Low Reference

38-39

--

--

Not Used

40

0.35 OG/BK

556

Steering Wheel Position Sensor Low Reference (-LNF)

41

0.5 D-BU

1809

Brake Booster Vacuum Sensor Signal (LNF)

42

0.5 WH

883

Right Rear Wheel Speed Sensor Low Reference

43

0.5 BN

882

Right Rear Wheel Speed Sensor Signal

44

--

--

Not Used

45

0.5 L-BU

830

Left Front Wheel Speed Sensor Signal

46

0.5 YE

873

Left Front Wheel Speed Sensor Low Reference

47

--

--

Not Used

Engine Control Module (ECM) X1 (LE8/LE9)


Object Number: 1673472  Size: CH

Connector Part Information

  • OEM: CA34566-1393
  • Service: 88988931
  • Description: 73-Way F MX 123 Series (BK)

Terminal Part Information

  • Pins 1-72
  • Terminal/Tray: 33467-0003/ 23
  • Core/Insulation Crimp: H/H
  • Release Tool/Test Probe: J-38125-213/J-35616-64B (L-BU)
  • Pins 73
  • Terminal/Tray: 7116-4151-02/9
  • Core/Insulation Crimp: E/1
  • Release Tool/Test Probe: 12094430/J-35616-4A (PU)

Engine Control Module (ECM) X1 (LE8/LE9)

Pin

Wire

Circuit

Function

1

0.35 D-BU

1161

APP Sensor 1 Signal

2

--

--

Not Used

3

0.35 BN

4

Accessory Voltage

4

--

--

Not Used

5

0.35 D-GN

335

Low Speed Cooling Fan Relay Control

6

0.35 L-GN/WH

465

Fuel Pump Relay Control (-Primary)

7-10

--

--

Not Used

11

0.35 OG/D-GN

7360

Manual Transmission Clutch Position Sensor Return

12

--

--

Not Used

13

0.35 YE

5991

Powertrain Relay Control

14-17

--

--

Not Used

18

0.35 L-BU

1162

APP Sensor 2 Signal

19

0.5 PK/BK

1039

Ignition 1 Voltage

20

0.5 RD/WH

840

Battery Positive Voltage

21

0.35 PU

1272

Low Reference

22-23

--

--

Not Used

24

0.35 TN

2759

Low Reference

25

0.35 OG/BK

380

A/C Refrigerant Pressure Sensor Signal

26

--

--

Not Used

27

0.35 BN/WH

419

MIL Control

28-29

--

--

Not Used

30

0.35 D-GN/WH

459

A/C Compressor Clutch Relay Control

31

--

--

Not Used

32

0.35 PU/WH

6386

Starter Enable Relay Control

33

--

--

Not Used

34

0.35 PU/WH

6356

VSS Signal Low

35-36

--

--

Not Used

37

0.35 YE

492

Mass Air Flow Sensor Signal

38

--

--

Not Used

39

0.35 PU

1589

Fuel Level Sensor Signal (+Primary)

40

--

--

Not Used

41

0.35 BN

1271

Low Reference

42

0.35 D-GN

890

Fuel Tank Pressure Sensor Signal

43

0.35 TN/BK

2500

High Speed GMLAN Serial Data (+)

44

0.35 TN

2501

High Speed GMLAN Serial Data (-)

45

0.35 D-BU/WH

7361

Manual Transmission Clutch Position Sensor Supply

46

--

--

Not Used

47

0.35 WH/BK

1164

5-Volt Reference -1 to APP Sensor

48-53

--

--

Not Used

54

0.35 BN/WH

6354

VSS Signal High

55

0.5 L-BU

20

Stop Lamp Supply Voltage

56

--

--

Not Used

57

0.35 D-GN

6307

Clutch Start Neutral Start Signal

58

0.35 L-BU

6289

Intake Air Temperature Sensor Signal

59-60

--

--

Not Used

61

0.35 L-GN

6338

Manual Transmission Clutch Position Sensor Signal Position

62-65

--

--

Not Used

66

0.35 GY

2709

5-Volt Reference -1 to FTP Sensor

67

0.35 TN

1274

5-Volt Reference -1 to APP Sensor

68-69

--

--

Not Used

70

0.5 WH

1310

EVAP Canister Vent Solenoid Control

71-72

--

--

Not Used

73

0.8 PK/BK

5290

Ignition 1 Voltage

Engine Control Module (ECM) X1 (LNF)


Object Number: 1826274  Size: CH

Connector Part Information

  • OEM: 1928404781
  • Service: 19149311
  • Description: 96-Way (BK)

Terminal Part Information

  • Terminal/Tray: See Terminal Repair Kit
  • Core/Insulation Crimp: See Terminal Repair Kit
  • Release Tool/Test Probe: See Terminal Repair Kit

Engine Control Module (ECM) X1 (LNF)

Pin

Wire

Circuit

Function

1

0.35 L-GN

5282

Camshaft Phaser Exhaust Solenoid Control

2

0.5 PU

5284

Camshaft Phaser Intake Solenoid Control

3-4

--

--

Not Used

5

1 YE

7301

High Pressure Fuel Pump Actuator High Control

6

0.5 D-GN/WH

428

EVAP Canister Purge Solenoid Control

7

0.5 OG

5275

Camshaft Position Intake Sensor Signal

8-9

--

--

Not Used

10

0.35 OG

225

Generator Turn On Signal

11-12

--

--

Not Used

13

0.35 BN/WH

2130

Low Reference

14

--

--

Not Used

15

0.5 GY

705

5-Volt Reference 2

16

0.5 D-GN

6391

Turbo Bypass Valve Control

17

0.5 TN/BK

231

Oil Pressure Switch Signal

18

0.5 YE

258

Wastegate Solenoid Control

19-23

--

--

Not Used

24

0.8 YE

581

TAC Motor Control - 1

25

0.35 TN

891

Boost Gauge Signal

26

1 L-BU

4804

Direct Fuel Injector (DFI) High Voltage Control Cylinder 4

27

1 L-BU/WH

4904

Direct Fuel Injector (DFI) High Voltage Supply Cylinder 4

28

1 D-BU

4802

Direct Fuel Injector (DFI) High Voltage Control Cylinder 2

29

1 D-BU/WH

4902

Direct Fuel Injector (DFI) High Voltage Supply Cylinder 2

30

0.35 GY

23

Generator Field Duty Cycle Signal

31-33

--

--

Not Used

34

0.5 D-GN

5273

Camshaft Position Exhaust Sensor Signal

35

0.5 YE

573

CKP Sensor Signal

36

0.35 YE

2918

FRP Sensor Signal

37

0.35 L-GN

432

MAP Sensor Signal

38

0.35 GY

598

5-Volt Reference 1

39

0.35 GY

2701

5-Volt Reference 3

40

0.5 TN

407

Low Reference

41

0.5 TN

552

Low Reference

42

0.35 TN

808

Low Reference

43

0.5 GY

597

5-Volt Reference 1

44

0.35 TN

2761

Low Reference

45

0.5 L-GN

2867

Crankshaft Position Sensor Supply Voltage

46

0.5 PU

574

Low Reference

47

--

--

Not Used

48

0.8 BN

582

TAC Motor Control 2

49-50

--

--

Not Used

51

1 BN

4801

Direct Fuel Injector (DFI) High Voltage Control Cylinder 1

52

1 D-GN

4803

Direct Fuel Injector (DFI) High Voltage Control Cylinder 3

53

1 D-GN/WH

4903

Direct Fuel Injector (DFI) High Voltage Supply Cylinder 3

54

0.35 BN/WH

419

MIL Control

55

0.35 PU

2121

IC 1 Control

56

0.35 D-GN/WH

2124

IC 4 Control

57-58

--

--

Not Used

59

0.5 D-BU

496

KS 1 Signal

60

0.5 GY

2303

KS 2 Signal

61-63

--

--

Not Used

64

0.5 OG/BK

469

Low Reference

65

--

--

Not Used

66

0.5 PU

7330

Pre-Throttle Air Temp and Press (TMAP) Air Pressure Signal

67

0.5 TN/WH

3111

Heated Oxygen Sensor Low Signal Sensor 1

68

0.5 WH

5279

Heated Oxygen Sensor Pump Current Sensor 1

69-72

--

--

Not Used

73

1 PU

7300

High Pressure Fuel Pump Actuator Low Control

74

--

--

Not Used

75

1 BN/WH

4901

Direct Fuel Injector (DFI) High Voltage Supply Cylinder 1

76-77

--

--

Not Used

78

0.35 BN

2129

Low Reference

79

0.35 L-BU

2123

IC 3 Control

80

0.35 OG/WH

2122

IC 2 Control

81

--

--

Not Used

82

0.5 YE

410

ECT Sensor Signal

83

0.5 GY

1716

KS 1 Signal

84

0.5 L-BU

1876

KS 2 Signal

85

--

--

Not Used

86

0.5 L-BU

7329

Pre-Throttle Air Temp and Press (TMAP) Temperature Signal

87

--

--

Not Used

88

0.35 TN

2752

Low Reference

89

0.35 PU

486

TP Sensor 2 Signal

90

0.35 D-GN

485

TP Sensor 1 Signal

91

0.5 L-GN

5278

Heated Oxygen Sensor Input Pump Current Sensor 1

92

0.5 PU/WH

3110

Heated Oxygen Sensor High Signal Sensor 1

93-94

--

--

Not Used

95

0.5 GY

2704

5-Volt Reference 1

96

0.5 GY/WH

3113

HO2S 1 Heater Low Control

Engine Control Module (ECM) X2 (LE8/LE9)


Object Number: 1590596  Size: CH

Connector Part Information

  • OEM: 34566-1423
  • Service: 88988372
  • Description: 73-Way F MX123 34566 Series (BK)

Terminal Part Information

  • Pins 9, 13 22-24, 26, 31, 39, 40, 42, 43, 49-51, 53, 57, 59
  • Terminal/Tray: 33467-0003/23
  • Core/Insulation Crimp: H/H
  • Release Tool/Test Probe: J-38125-213/J-35616-64B (L-BU)
  • Pins 4-8, 10, 14-16, 20, 21, 30, 32-38, 41, 45-48, 54, 58, 60-68
  • Terminal/Tray: 33467-0005/23
  • Core/Insulation Crimp: J/J
  • Release Tool/Test Probe: J-38125-213/J-35616-64B (L-BU)
  • Pin 73
  • Terminal/Tray: 7116-4152-02/9
  • Core/Insulation Crimp: 2/5
  • Release Tool/Test Probe: 12094430/J-35616-35 (VT)

Engine Control Module (ECM) X2 (LE8/LE9)

Pin

Wire

Circuit

Function

1-3

--

--

Not Used

4

0.5 TN

2761

Low Reference

5

0.5 PU

574

Low Reference

6

0.5 TN

1744

Fuel Injector 1 Control

7

0.5 PK/BK

1746

Fuel Injector 3 Control

8

0.5 L-BU/BK

844

Fuel Injector 4 Control

9

0.35 BN

2129

Low Reference

10

0.5 L-GN/BK

1745

Fuel Injector 2 Control

11-12

--

--

Not Used

13

0.35 GY

2704

5-Volt Reference -1

14

0.5 L-GN

5282

Exhaust Cam Solenoid Control (LE5)

15

0.5 PU

5284

Intake Cam Solenoid Control (LE5)

16

0.5 YE

581

TAC Motor Control - 1

17-19

--

--

Not Used

20

0.5 TN

5301

Camshaft Position Intake Sensor Low Reference

21

0.5 GY

5296

Camshaft Position Exhaust Sensor Low Reference (LE5)

22

0.35 PU

2121

IC 1 Control

23

0.35 L-BU

2123

IC 3 Control

24

0.35 D-GN/WH

2124

IC 4 Control

25

--

--

Not Used

26

0.35 OG/WH

2122

IC 2 Control

27-29

--

--

Not Used

30

0.5 D-GN/WH

428

EVAP Canister Purge Solenoid Control

31

0.35 OG

225

Generator Turn On Signal

32

0.5 BN

582

TAC Motor Control - 2

33

0.5 D-BU

5300

Camshaft Position Intake Sensor Reference Voltage - 1

34

0.5 YE/BK

5297

Camshaft Position Exhaust Sensor Reference Voltage -1 (LE5)

35

0.5 GY

6255

5-Volt Reference - 1

36

--

--

Not Used

37

0.5 PU/WH

3110

HO2S Reference Voltage (Bank 1 Sensor 1)

38

0.5 PU

3120

HO2S High Signal (Bank 1 Sensor 2)

39

0.35 L-GN

432

MAP Sensor Signal

40

0.35 TN

2752

Low Reference

41

0.5 PU/WH

6256

Low Reference

42

0.35 TN

2760

Low Reference

43

0.35 GY

23

Generator Field Duty Cycle Signal

44

--

--

Not Used

45

0.5 YE

573

CKP Sensor 1 Signal

46

0.5 OG

5275

Camshaft Position Intake Sensor

47

0.5 D-GN

5273

Camshaft Position Exhaust Sensor (LE5)

48

0.5 TN/WH

3111

HO2S Low Reference (Bank 1 Sensor 1)

49

0.35 OG/BK

469

Low Reference

50

0.5 GY

1716

Knock Sensor Signal Return

51

0.5 D-BU

496

Knock Sensor Signal

52

--

--

Not Used

53

0.35 GY

2701

5-Volt Reference -2

54

0.5 L-GN

2867

5-Volt Reference -2

55-56

--

--

Not Used

57

0.35 D-GN

485

TP Sensor 1 Signal

58

0.5 YE

410

ECT Sensor Signal

59

0.35 PU

486

TP Sensor 2 Signal

60

0.5 BN

6753

Intake Cam Solenoid Return (LE5)

61

0.5 BN/WH

6754

Exhaust Cam Solenoid Return (LE5)

62-64

--

--

Not Used

65

0.5 GY/WH

3113

HO2S Heater Low Control - Bank 1 Sensor 1

66

0.5 GY/WH

3122

HO2S Heater Low Control - Bank 1 Sensor 2

67

0.5 TN/BK

231

Oil Pressure Switch Signal

68

0.5 TN/WH

3121

HO2S Heater Low Control - Bank 1 Sensor 1

69-72

--

--

Not Used

73

2 BK/WH

451

Signal Ground

Engine Control Module (ECM) X2 (LNF)


Object Number: 1360604  Size: CH

Connector Part Information

  • OEM: 1928404916
  • Service: 19115599
  • Description: 58-Way 280 Series Sealed (WH)

Terminal Part Information

  • Terminal/Tray: See Terminal Repair Kit
  • Core/Insulation Crimp: Terminal Repair Kit
  • Release Tool/Test Probe: Terminal Repair Kit

Engine Control Module (ECM) X2 (LNF)

Pin

Wire

Circuit

Function

1

0.8 BK/WH

451

Ground

2

0.8 BK/WH

451

Ground

3

0.8 PK/BK

5290

Ignition 1 Voltage

4

0.8 BK/WH

451

Ground

5

0.8 PK/BK

5290

Ignition 1 Voltage

6

0.8 PK/BK

5290

Ignition 1 Voltage

7

0.5 GY/WH

3122

Heated Oxygen Sensor Heater Low Control Sensor 2

8

--

--

Not Used

9

0.35 TN

2759

Low Reference

10

0.35 D-GN/WH

465

Fuel Pump Relay Control

11

0.35 TN

5514

A/C Refrigerant Pressure Sensor Low Reference (C60)

12

--

--

Not Used

13

0.35 YE

492

MAF Sensor Signal

14

0.35 GY

2709

5-Volt Reference 1

15

0.35 D-BU

1161

APP Sensor 1 Signal

16

--

--

Not Used

17

0.35 D-GN

6307

Park/Neutral Signal

18

--

--

Not Used

19

0.5 WH

1310

EVAP Canister Vent Solenoid Control

20

--

--

Not Used

21

--

--

Not Used

22

0.35 TN

2760

Low Reference

23

0.5 TN/WH

3121

Heated Oxygen Sensor Low Signal Sensor 2

24

--

--

Not Used

25

0.35 L-BU

1162

APP Sensor 2 Signal

26

--

--

Not Used

27

0.35 D-GN

890

Fuel Tank Pressure Sensor Signal

28-33

--

--

Not Used

34

0.35 BN

1271

Low Reference

35

0.35 GY

2700

5-Volt Reference 3 (C60)

36

0.35 PU

1589

Fuel Level Sensor Signal

37

0.35 L-GN

6338

Manual Transmission Clutch Position Sensor Signal Position

38

0.5 PU

3120

Heated Oxygen Sensor High Signal Sensor 2

39

0.35 OG/BK

380

A/C Refrigerant Pressure Sensor Signal (C60)

40

0.5 PU

401

OSS Low Signal (MA5)

41

0.35 BN

4

Accessory Voltage

42

0.35 TN/BK

2500

High Speed GMLAN Serial Data Bus (+)

43

--

--

Not Used

44

0.35 D-GN/WH

459

A/C Compressor Clutch Relay Control (C60)

45

--

--

Not Used

46

0.35 D-GN

335

Low Speed Cooling Fan Relay Control

47

0.35 PU

1272

Low Reference

48

0.35 TN

1274

5-Volt Reference 3

49

0.35 WH/BK

1164

5-Volt Reference 2

50

0.35 L-BU

6289

Induction Air Temperature Sensor Signal

51

--

--

Not Used

52

0.5 L-BU

20

Stop Lamp Supply Voltage (M82)

53

0.5 YE

400

OSS High Signal (MA5)

54

0.5 PK/BK

1039

Ignition 1 Voltage

55

0.35 TN

250

High Speed GMLAN Serial Data BUS (-)

56

0.5 RD/WH

840

Battery Positive Voltage

57

0.35 PU/WH

6386

Starter Relay Control

58

0.35 YE

5991

Powertrain Relay Coil Control

Engine Coolant Temperature (ECT) Sensor (LE8/LE9)


Object Number: 1538760  Size: CH

Connector Part Information

  • OEM: 15449028
  • Service: 88987978
  • Description: 2-Way F 150 GT Series Sealed (BK)

Terminal Part Information

  • Terminal/Tray: 15326267/19
  • Core/Insulation Crimp: E/4
  • Release Tool/Test Probe: 15315247/J-35616-2A (GY)

Engine Coolant Temperature (ECT) Sensor (LE8/LE9)

Pin

Wire

Circuit

Function

A

0.5 TN

2761

Low Reference

B

0.5 YE

410

Engine Coolant Temperature Sensor Signal

Engine Coolant Temperature (ECT) Sensor (LNF)


Object Number: 655692  Size: CH

Connector Part Information

  • OEM: 13584122
  • Service: 19152934
  • Description: 2-way F Metri-Pack 150.2 Series, Sealed (BK)

Terminal Part Information

  • Terminal/Tray: See Parts Catalog
  • Core/Insulation Crimp: See Parts Catalog
  • Release Tool/Test Probe: See Parts Catalog

Engine Coolant Temperature (ECT) Sensor (LNF)

Pin

Wire

Circuit

Function

A

0.5 TN

2761

Low Reference

B

0.5 YE

410

Engine Coolant Temperature Sensor Signal

Engine Cooling Fan (LE8/LE9)


Object Number: 523591  Size: CH

Connector Part Information

  • OEM: 12033769
  • Service: 12101917
  • Description: 2-Way F Metri-Pack 630 Series, Sealed, Pull To Seat (BK)

Terminal Part Information

  • Terminal/Tray: 12033997/8
  • Core/Insulation Crimp: D/B
  • Release Tool/Test Probe: 12094430/J-35616-42 (RD)

Engine Cooling Fan (LE8/LE9)

Pin

Wire

Circuit

Function

A

3 BK

1050

Ground

B

3 L-BU

409

Cooling Fan Motor Supply Voltage

Engine Cooling Fan Module X1 (LNF)


Object Number: 1664608  Size: CH

Connector Part Information

  • OEM: 12147067
  • Service: 89046640
  • Description: 4-Way F Mixed Series, Sealed (BK)

Terminal Part Information

  • Terminal/Tray: Service as Assembly
  • Core/Insulation Crimp: N/A
  • Release Tool/Test Probe: N/A

Engine Cooling Fan Module X1 (LNF)

Pin

Wire

Circuit

Function

A

BK

--

Ground

B

RD

--

Cooling Fan Motor Supply Voltage

Engine Cooling Fan Module X2 (LNF)


Object Number: 1745131  Size: CH

Connector Part Information

  • OEM: 7283-8496-30
  • Service: See Catalog
  • Description: 4-Way F Mixed Series, Sealed (BK)

Terminal Part Information

  • Terminal/Tray: See Terminal Repair Kit
  • Core/Insulation Crimp: See Terminal Repair Kit
  • Release Tool/Test Probe: See Terminal Repair Kit

Engine Cooling Fan Module X2 (LNF)

Pin

Wire

Circuit

Function

1

5 L-BU

409

Cooling Fan Motor Supply Voltage

2

8 BK

1050

Ground

3

--

--

Not Used

4

0.35 D-GN

335

Low Speed Cooling Fan Relay Control

Engine Oil Pressure (EOP) Switch


Object Number: 516595  Size: CH

Connector Part Information

  • OEM: 12065299
  • Service: 12085500
  • Description: 1-Way F Metri-Pack 150 Series Sealed (L-GY)

Terminal Part Information

  • Terminal/Tray: 12048074/2
  • Core/Insulation Crimp: E/1
  • Release Tool/Test Probe: 12094429/J-35616-2A (GY)

Engine Oil Pressure (EOP) Switch

Pin

Wire

Circuit

Function

A

0.5 TN/BK

231

Oil Pressure Switch Signal

Evaporative Emission (EVAP) Canister Purge Solenoid Valve


Object Number: 684795  Size: CH

Connector Part Information

  • OEM: 12052643
  • Service: 12101858
  • Description: 2-Way F Metri-Pack 150 Series Sealed (RD)

Terminal Part Information

  • Terminal/Tray: 12048074/2
  • Core/Insulation Crimp: E/1
  • Release Tool/Test Probe: 12094429/J-35616-2A (GY)

Evaporative Emission (EVAP) Canister Purge Solenoid Valve

Pin

Wire

Circuit

Function

A

0.5 PK/WH

5291

Ignition 1 Voltage

B

0.5 D-GN/WH

428

EVAP Canister Purge Solenoid Control

Evaporative Emission (EVAP) Canister Vent Solenoid Valve


Object Number: 684795  Size: CH

Connector Part Information

  • OEM: 12052643
  • Service: 12101858
  • Description: 2-Way F Metri-Pack 150 Series Sealed (RD)

Terminal Part Information

  • Terminal/Tray: 12048074/2
  • Core/Insulation Crimp: E/1
  • Release Tool/Test Probe: 12094429/J-35616-2A (GY)

Evaporative Emission (EVAP) Canister Vent Solenoid Valve

Pin

Wire

Circuit

Function

A

0.5 RD/WH

1640

Battery Positive Voltage

B

0.5 WH

1310

EVAP Canister Vent Solenoid Control

Fog Lamp - Left Front (T37 without LNF)


Object Number: 684797  Size: CH

Connector Part Information

  • OEM: 12059183
  • Service: 12101898
  • Description: 2-Way F Metri-Pack 280 Series Sealed (BK)

Terminal Part Information

  • Terminal/Tray: 12077411/2
  • Core/Insulation Crimp: 2/5
  • Release Tool/Test Probe: 12094430/J-35616-4A (PU)

Fog Lamp - Left Front (T37 without LNF)

Pin

Wire

Circuit

Function

A

0.5 PU

2234

Front Fog Lamp Supply Voltage

B

0.5 BK

150

Ground

Fog Lamp - Left Front (T37 with LNF)


Object Number: 1413064  Size: CH

Connector Part Information

  • OEM: 12124819
  • Service: 1413064
  • Description: 2-Way F Metri-Pack 280 Series Sealed (BK)

Terminal Part Information

  • Terminal/Tray: 12077411/ 2
  • Core/Insulation Crimp: 2/5
  • Release Tool/Test Probe: 12094430/J-35616-4A (PU)

Fog Lamp - Left Front (T37 with LNF)

Pin

Wire

Circuit

Function

A

0.5 PU

2234

Front Fog Lamp Supply Voltage

B

0.5 BK

150

Ground

Fog Lamp - Right Front (T37 without LNF)


Object Number: 684797  Size: CH

Connector Part Information

  • OEM: 12059183
  • Service: 12101898
  • Description: 2-Way F Metri-Pack 280 Series Sealed (BK)

Terminal Part Information

  • Terminal/Tray: 12077411/2
  • Core/Insulation Crimp: 2/5
  • Release Tool/Test Probe: 12094430/J-35616-4A (PU)

Fog Lamp - Right Front (T37 without LNF)

Pin

Wire

Circuit

Function

A

0.5 PU

2234

Front Fog Lamp Supply Voltage

B

0.5 BK

250

Ground

Fog Lamp - Right Front (T37 with LNF)


Object Number: 684797  Size: CH

Connector Part Information

  • OEM: 12059183
  • Service: 12101898
  • Description: 2-Way F Metri-Pack 280 Series Sealed (BK)

Terminal Part Information

  • Terminal/Tray: 12077411/2
  • Core/Insulation Crimp: 2/5
  • Release Tool/Test Probe: 12094430/J-35616-4A (PU)

Fog Lamp - Right Front (T37 with LNF)

Pin

Wire

Circuit

Function

A

0.5 PU

2234

Front Fog Lamp Supply Voltage

B

0.5 BK

250

Ground

Fog Lamp Switch (T37)


Object Number: 1283883  Size: CH

Connector Part Information

  • OEM: 15419483
  • Service: 89046742
  • Description: 4-Way F Metri-Pack 150 Series (BK)

Terminal Part Information

  • Terminal/Tray: 12064971/ 5
  • Core/Insulation Crimp: E/C
  • Release Tool/Test Probe: 12094429/J-35616-14 (GN)

Fog Lamp Switch (T37)

Pin

Wire

Circuit

Function

A

0.35 BK/WH

651

Ground

B

--

--

Not Used

C

0.35 OG

192

Front Fog Lamp Switch Signal

D

0.35 GY

8

Instrument Panel Lamps Dimmer Switch Signal

Fuel Injector 1 (LE8/LE9)


Object Number: 1721512  Size: CH

Connector Part Information

  • OEM: 12602480
  • Service: Service as Harness
  • Description: 2-Way F Sealed (BK)

Fuel Injector 1 (LE8/LE9)

Pin

Wire

Circuit

Function

A

0.5 PK

139

Ignition 1 Voltage

B

0.5 TN

1744

Fuel Injector 1 Control

Fuel Injector 1 (LNF)


Object Number: 784092  Size: CH

Connector Part Information

  • OEM: 12589444
  • Service: Service as Harness
  • Description: 2-Way F Kompakt 2.8 Series Sealed (BK)

Fuel Injector 1 (LNF)

Pin

Wire

Circuit

Function

1

1 BN

4801

Direct Fuel Injector (DFI) High Voltage Control Cylinder 1

2

1 BN/WH

4901

Direct Fuel Injector (DFI) High Voltage Supply Cylinder 1

Fuel Injector 2 (LE8/LE9)


Object Number: 1721512  Size: CH

Connector Part Information

  • OEM: 12602480
  • Service: Service as Harness
  • Description: 2-Way F Sealed (BK)

Fuel Injector 2 (LE8/LE9)

Pin

Wire

Circuit

Function

A

0.5 PK

139

Ignition 1 Voltage

B

0.5 L-GN/BK

1745

Fuel Injector 2 Control

Fuel Injector 2 (LNF)


Object Number: 784092  Size: CH

Connector Part Information

  • OEM: 12589444
  • Service: Service as Harness
  • Description: 2-Way F Kompakt 2.8 Series Sealed (BK)

Fuel Injector 2 (LNF)

Pin

Wire

Circuit

Function

1

1 D-BU

4802

Direct Fuel Injector (DFI) High Voltage Control Cylinder 2

2

1 D-BU/WH

4902

Direct Fuel Injector (DFI) High Voltage Supply Cylinder 2

Fuel Injector 3 (LE8/LE9)


Object Number: 1721512  Size: CH

Connector Part Information

  • OEM: 12602480
  • Service: Service as Harness
  • Description: 2-Way F Sealed (BK)

Fuel Injector 3 (LE8/LE9)

Pin

Wire

Circuit

Function

A

0.5 PK

139

Ignition 1 Voltage

B

0.5 PK/BK

1746

Fuel Injector 3 Control

Fuel Injector 3 (LNF)


Object Number: 784092  Size: CH

Connector Part Information

  • OEM: 12589444
  • Service: Service as Harness
  • Description: 2-Way F Kompakt 2.8 Series Sealed (BK)

Fuel Injector 3 (LNF)

Pin

Wire

Circuit

Function

1

1 D-GN

4803

Direct Fuel Injector (DFI) High Voltage Control Cylinder 3

2

1 D-GN/WH

4903

Direct Fuel Injector (DFI) High Voltage Supply Cylinder 3

Fuel Injector 4 (LE8/LE9)


Object Number: 1721512  Size: CH

Connector Part Information

  • OEM: 12602480
  • Service: Service as Harness
  • Description: 2-Way F Sealed (BK)

Fuel Injector 4 (LE8/LE9)

Pin

Wire

Circuit

Function

A

0.5 PK

139

Ignition 1 Voltage

B

0.5 L-BU/BK

844

Fuel Injector 4 Control

Fuel Injector 4 (LNF)


Object Number: 784092  Size: CH

Connector Part Information

  • OEM: 12589444
  • Service: Service as Harness
  • Description: 2-Way F Kompakt 2.8 Series Sealed (BK)

Fuel Injector 4 (LNF)

Pin

Wire

Circuit

Function

1

1 L-BU

4804

Direct Fuel Injector (DFI) High Voltage Control Cylinder 4

2

1 L-BU/WH

4904

Direct Fuel Injector (DFI) High Voltage Supply Cylinder 4

Fuel Pump and Sender Assembly


Object Number: 684908  Size: CH

Connector Part Information

  • OEM: 15326631
  • Service: 15306360
  • Description: 4-Way F GT 280 Series Sealed (BK)

Terminal Part Information

  • Terminal/Tray: 15304719/19
  • Core/Insulation Crimp: Pins A, D - 2/5
  • Core/Insulation Crimp: Pins B, C - E/5
  • Release Tool/Test Probe: 15315247/J-35616-4A (PU)

Fuel Pump and Sender Assembly

Pin

Wire

Circuit

Function

A

1 BK

650

Ground

B

0.35 PU

1589

Fuel Level Sensor Signal (-Primary)

C

0.5 OG/BK

510

Low Reference

D

1 GY

120

Fuel Pump Supply Voltage

Fuel Rail Pressure Sensor (FPS) (LNF)


Object Number: 1331443  Size: CH

Connector Part Information

  • OEM: 12589447
  • Service: See Catalog
  • Description: 3-Way F 2.8 Series Sealed (BK)

Terminal Part Information

  • Terminal/Tray: See Terminal Repair Kit
  • Core/Insulation Crimp: See Terminal Repair Kit
  • Release Tool/Test Probe: See Terminal Repair Kit

Fuel Rail Pressure Sensor (FPS) (LNF)

Pin

Wire

Circuit

Function

1

0.35 TN

808

Sensor Low Reference

2

0.35 YE

2918

Fuel Rail Pressure Sensor Signal

3

0.35 GY

598

5-Volt Reference 1

Fuel Tank Pressure (FTP) Sensor


Object Number: 516611  Size: CH

Connector Part Information

  • OEM: 12059595
  • Service: 88986451
  • Description: 3-Way F Metri-Pack 150 Series Sealed (BK)

Terminal Part Information

  • Terminal/Tray: 12048074/2
  • Core/Insulation Crimp: E/1
  • Release Tool/Test Probe: 12094429/J-35616-2A (GY)

Fuel Tank Pressure (FTP) Sensor

Pin

Wire

Circuit

Function

A

0.5 TN

2759

Low Reference

B

0.5 D-GN

890

Fuel Tank Pressure Sensor Signal

C

0.5 GY

2709

5-Volt Reference

Fuse Holder - BCM - 50 AMP


Object Number: 1741305  Size: CH

Connector Part Information

  • OEM: E-4326
  • Service: 88988347
  • Description: 2-Way F (BK)

Terminal Part Information

  • Terminal/Tray: See Terminal Repair Kit
  • Core/Insulation Crimp: See Terminal Repair Kit
  • Release Tool/Test Probe: See Terminal Repair Kit

Fuse Holder - BCM - 50 AMP

Pin

Wire

Circuit

Function

1

5 RD/BK

142

Battery Positive Voltage

2

55 RD

1

Battery Positive Voltage

Fuse Holder - Provisional


Object Number: 1741305  Size: CH

Connector Part Information

  • OEM: 5972-001
  • Service: 19115609
  • Description: 2-Way F (BK)

Terminal Part Information

  • Pin 1
  • Terminal/Tray: 771418-HK200/ 7
  • Core/Insulation Crimp: C/A
  • Release Tool/Test Probe: 12094430/J-35616-4A (PU)
  • Pin 2
  • Terminal/Tray: 771416-HK200/7
  • Core/Insulation Crimp: A/D
  • Release Tool/Test Probe: 12094430/J-35616-4A (PU)

Fuse Holder - Provisional

Pin

Wire

Circuit

Function

1

0.5 PK

1739

Battery Positive Voltage

2

1 PK

739

Battery Positive Voltage

Generator X1


Object Number: 1522871  Size: CH

Connector Part Information

  • OEM: 12186308
  • Service: 89046837
  • Description: 2-Way F JPT, Sealed (BK)

Terminal Part Information

  • Terminal/Tray: 4-964286-1/16
  • Core/Insulation Crimp: E/1
  • Release Tool/Test Probe: 12093647/J-35616-4A (PU)

Generator X1

Pin

Wire

Circuit

Function

1

0.35 OG

225

Generator Turn On Signal

2

0.35 GY

23

Generator Field Duty Cycle Signal

Generator X2

Terminal Part Information

  • Terminal: 12146365
  • Core/Insulation Crimp: N/A
  • Description: Ring Terminal

Generator X2

Pin

Wire

Circuit

Function

--

13 RD/BK

2

Battery Positive Voltage

Hazard Switch


Object Number: 39665  Size: CH

Connector Part Information

  • OEM: 12089248
  • Service: 12102900
  • Description: 4-Way F Metri-Pack 150 Series (WH)

Terminal Part Information

  • Terminal/Tray: 12064971/5
  • Core/Insulation Crimp: E/C
  • Release Tool/Test Probe: 12094429/J-35616-2A (GY)

Hazard Switch

Pin

Wire

Circuit

Function

A

0.35 BK/WH

651

Ground

B

0.35 GY

8

Instrument Panel Lamps Dimmer Switch Signal

C

--

--

Not Used

D

0.35 WH

111

Hazard Switch Signal

Headlamp - Left


Object Number: 1424764  Size: CH

Connector Part Information

  • OEM: 15422250
  • Service: 88987995
  • Description: 3-Way F GT 150 Series (D-GY)

Terminal Part Information

  • Terminal/Tray: 12191819/8
  • Core/Insulation Crimp: E/A
  • Release Tool/Test Probe: 15315247/J-35616-2A (GY)

Headlamp - Left

Pin

Wire

Circuit

Function

A

0.5 YE

712

Left Headlamp Low Beam Supply Voltage

B

0.35 BK

250

Ground

C

0.5 D-GN/WH

711

Left Headlamp High Beam Supply Voltage

Headlamp - Right


Object Number: 1424764  Size: CH

Connector Part Information

  • OEM: 15422250
  • Service: 88987995
  • Description: 3-Way F GT 150 Series (D-GY)

Terminal Part Information

  • Terminal/Tray: 12191819/8
  • Core/Insulation Crimp: E/A
  • Release Tool/Test Probe: 15315247/J-35616-2A (GY)

Headlamp - Right

Pin

Wire

Circuit

Function

A

0.5 TN/WH

312

Right Headlamp Low Beam Supply Voltage

B

0.5 BK

250

Ground

C

0.5 L-GN/BK

311

Right Headlamp High Beam Supply Voltage

Heated Oxygen Sensor (HO2S) 1 (LE8/LE9)


Object Number: 474210  Size: CH

Connector Part Information

  • OEM: 12176897
  • Service: 15305960
  • Description: 4-Way F Metri-Pack 150 Series Sealed (GY)

Terminal Part Information

  • Terminal/Tray: 12048074/2
  • Core/Insulation Crimp: E/1
  • Release Tool/Test Probe: 12094429/J-35616-2A (GY)

Heated Oxygen Sensor (HO2S) 1 (LE8/LE9)

Pin

Wire

Circuit

Function

A

0.5 TN/WH

3111

Heated Oxygen Sensor Low Signal Sensor 1

B

0.5 PU/WH

3110

Heated Oxygen Sensor High Signal Sensor 1

C

0.5 GY/WH

3113

Heated Oxygen Sensor Heater Low Control Sensor 1

D

0.5 PK/BK

5291

Ignition 1 Voltage

Heated Oxygen Sensor (HO2S) 1 (LNF)


Object Number: 1523693  Size: CH

Connector Part Information

  • OEM: 1 928 404 900
  • Service: See Catalog
  • Description: 6-Way F (BK)

Terminal Part Information

  • Terminal/Tray: See Terminal Repair Kit
  • Core/Insulation Crimp: See Terminal Repair Kit
  • Release Tool/Test Probe: See Terminal Repair Kit

Heated Oxygen Sensor (HO2S) 1 (LNF)

Pin

Wire

Circuit

Function

1

0.5 WH

5279

Heated Oxygen Sensor Pump Current - Sensor 1

2

0.5 TN/WH

3111

Heated Oxygen Sensor Low Signal - Sensor 1

3

0.5 GY/WH

3113

Heated Oxygen Sensor Heater Low Control - Sensor 1

4

0.5 PK/BK

5291

Ignition 1 Voltage

5

0.5 L-GN

5278

Heated Oxygen Sensor Input Pump Current - Sensor 1

6

0.5 PU/WH

3110

Heated Oxygen Sensor High Signal - Sensor 1

Heated Oxygen Sensor (HO2S) 2 (LE8/LE9)


Object Number: 280761  Size: CH

Connector Part Information

  • OEM: 12160825
  • Service: 15305801
  • Description: 4-Way M Metri-Pack 150 Series Sealed (BK)

Terminal Part Information

  • Terminal/Tray: 12045773/2
  • Core/Insulation Crimp: Pins A, B, D - E/1
  • Core/Insulation Crimp: Pins C - See Terminal Repair Kit
  • Release Tool/Test Probe: 12094429/J-35616-3 (GY)

Heated Oxygen Sensor (HO2S) 2 (LE8/LE9)

Pin

Wire

Circuit

Function

A

0.5 TN/WH

3121

Heated Oxygen Sensor Low Signal Sensor 2

B

0.5 PU

3120

Heated Oxygen Sensor High Signal Sensor 2

C

0.5 GY/WH

3122

Heated Oxygen Sensor Heater Low Control Sensor 2

D

0.5 PK/BK

5291

Ignition 1 Voltage

Heated Oxygen Sensor (HO2S) 2 (LNF)


Object Number: 806613  Size: CH

Connector Part Information

  • OEM: 15326423
  • Service: 15305960
  • Description: 4-Way M Metri-Pack 150 Series Sealed (BK)

Terminal Part Information

  • Terminal/Tray: 12045773/2
  • Core/Insulation Crimp: See Terminal Repair Kit
  • Core/Insulation Crimp: See Terminal Repair Kit
  • Release Tool/Test Probe: See Terminal Repair Kit

Heated Oxygen Sensor (HO2S) 2 (LNF)

Pin

Wire

Circuit

Function

A

0.5 TN/WH

3121

Heated Oxygen Sensor Low Signal Sensor 2

B

0.5 PU

3120

Heated Oxygen Sensor High Signal Sensor 2

C

0.5 GY/WH

3122

Heated Oxygen Sensor Heater Low Control Sensor 2

D

0.5 PK/BK

5291

Ignition 1 Voltage

Heated Seat Control Module - Driver (KA1)


Object Number: 1519708  Size: CH

Connector Part Information

  • OEM: 15-97-5121
  • Service: Serviced by Complete Seat Harness
  • Description: 12-Way F Mini Fit TPA (BK)

Heated Seat Control Module - Driver (KA1)

Pin

Wire

Circuit

Function

1

0.35 L-BU

1662

Driver Heated Seat Low Indicator Control

2

0.8 BK

1250

Ground

3

0.35 PK

1639

Ignition 1 Voltage

4

0.35 D-GN

1661

Driver Heated Seat High Indicator Control

5-7

--

--

Not Used

8

0.8 PK

2077

Driver Heated Seat Element Supply Voltage

9

0.35 PK

1501

Driver Heated Seat High/Low Signal

10

1 RD/WH

340

Battery Positive Voltage

11

0.35 BK

1250

Ground

12

0.35 YE/BK

2079

Temperature Sensor Signal

Heated Seat Control Module - Passenger (KA1)


Object Number: 1519708  Size: CH

Connector Part Information

  • OEM: 15-97-5121
  • Service: Serviced by Complete Seat Harness
  • Description: 12-Way F Mini Fit TPA (BK)

Heated Seat Control Module - Passenger (KA1)

Pin

Wire

Circuit

Function

1

0.35 D-BU/WH

1686

Passenger Heated Seat Low Indicator Control

2

0.8 BK

1550

Ground

3

0.35 PK

1639

Ignition 1 Voltage

4

0.35 BN/WH

1685

Passenger Heated Seat High Indicator Control

5-7

--

--

Not Used

8

0.8 PK

2479

Passenger Heated Seat Element Supply Voltage

9

0.35 PK/BK

1503

Passenger Heated Seat High/Low Signal

10

1 RD/WH

340

Battery Positive Voltage

11

0.35 BK

1550

Ground

12

0.35 D-BU

5475

Passenger Heated Seat Temperature Sensor Signal

Heated Seat Element - Driver Back (KA1)


Object Number: 894480  Size: CH

Connector Part Information

  • OEM: 12064778
  • Service: 12126020
  • Description: 2-Way M Metri-Pack 150 Series (GN)

Terminal Part Information

  • Terminal/Tray: See Terminal Repair Kit
  • Core/Insulation Crimp: See Terminal Repair Kit
  • Release Tool/Test Probe: See Terminal Repair Kit

Heated Seat Element - Driver Back (KA1)

Pin

Wire

Circuit

Function

A

0.35 YE

2077

Heated Seat Element Supply

B

0.35 BK

1250

Ground

Heated Seat Element - Driver Cushion (KA1)


Object Number: 39661  Size: CH

Connector Part Information

  • OEM: 12047786
  • Service: 12085536
  • Description: 4-Way M Metri-Pack 150 Series (BK)

Terminal Part Information

  • Terminal/Tray: See Terminal Repair Kit
  • Core/Insulation Crimp: See Terminal Repair Kit
  • Release Tool/Test Probe: See Terminal Repair Kit

Heated Seat Element - Driver Cushion (KA1)

Pin

Wire

Circuit

Function

A

0.8 PK

2077

Heated Seat Element Supply

B

0.8 YE

1250

Ground

C

0.35 YE/BK

2079

Heated Seat Temperature Sensor Signal

D

0.35 BK

1250

Ground

Heated Seat Element - Passenger Back (KA1)


Object Number: 894480  Size: CH

Connector Part Information

  • OEM: 12064778
  • Service: 12126020
  • Description: 2-Way M Metri-Pack 150 Series (GN)

Terminal Part Information

  • Terminal/Tray: See Terminal Repair Kit
  • Core/Insulation Crimp: See Terminal Repair Kit
  • Release Tool/Test Probe: See Terminal Repair Kit

Heated Seat Element - Passenger Back (KA1)

Pin

Wire

Circuit

Function

A

0.35 YE

2479

Heated Seat Element Supply

B

0.35 BK

1550

Ground

Heated Seat Element - Passenger Cushion (KA1)


Object Number: 39661  Size: CH

Connector Part Information

  • OEM: 12047786
  • Service: 12085536
  • Description: 4-Way M Metri-Pack 150 Series (BK)

Terminal Part Information

  • Terminal/Tray: See Terminal Repair Kit
  • Core/Insulation Crimp: See Terminal Repair Kit
  • Release Tool/Test Probe: See Terminal Repair Kit

Heated Seat Element - Passenger Cushion (KA1)

Pin

Wire

Circuit

Function

A

0.8 PK

2479

Passenger Heated Seat Element Supply Voltage

B

0.8 YE

1550

Ground

C

0.35 D-BU

5475

Passenger Heated Seat Temperature Sensor Signal

D

0.35 BK

1550

Ground

High Pressure Fuel Pump (LNF)


Object Number: 784092  Size: CH

Connector Part Information

  • OEM: 1 928 403 874
  • Service: See Catalog
  • Description: 2-Way F Kompakt 2.8 Series Sealed (BK)

Terminal Part Information

  • Terminal/Tray: See Terminal Repair Kit
  • Core/Insulation Crimp: See Terminal Repair Kit
  • Release Tool/Test Probe: See Terminal Repair Kit

High Pressure Fuel Pump (LNF)

Pin

Wire

Circuit

Function

1

1 PU

7300

High Pressure Fuel Pump Actuator Low Control

2

1 YE

7301

High Pressure Fuel Pump Actuator High Control

Hood Ajar Switch (AP3)


Object Number: 646415  Size: CH

Connector Part Information

  • OEM: 15326808
  • Service: 15306388
  • Description: 3-Way F GT 150 Series Sealed (BK)

Terminal Part Information

  • Terminal/Tray: 12191819/8
  • Core/Insulation Crimp: E/A
  • Release Tool/Test Probe: 15315247/J-35616-2A (GY)

Hood Ajar Switch (AP3)

Pin

Wire

Circuit

Function

A

0.35 PK/BK

109

Hood Ajar Switch Signal

B

0.35 PU

5531

Hood Ajar Switch Signal

C

0.35 BK

150

Ground

Horn


Object Number: 1659331  Size: CH

Connector Part Information

  • OEM: E-2157-000
  • Service: 88988054
  • Description: 2-Way F (BK)

Terminal Part Information

  • Terminal/Tray: 7116-4102-08/9
  • Core/Insulation Crimp: E/1
  • Release Tool/Test Probe: 120944307/J-35616-2A (GY)

Horn

Pin

Wire

Circuit

Function

1

0.5 BK

150

Ground

2

0.5 D-GN

29

Horn Control

Horn Switch


Object Number: 35451  Size: CH

Connector Part Information

  • OEM: 12059251
  • Service: 12101848
  • Description: 2-Way Metri-Pack 150 Series (RD)

Terminal Part Information

  • Terminal/Tray: Service as harness
  • Core/Insulation Crimp: N/A
  • Release Tool/Test Probe: N/A

Horn Switch

Pin

Wire

Circuit

Function

A

0.35 TN

28

Horn Relay Control

B

0.35 BK/WH

151

Signal Ground

0.35 BK/WH

151

Signal Ground

HVAC Control Assembly X1


Object Number: 1454407  Size: CH

Connector Part Information

  • OEM: 15416970
  • Service: 22715969
  • Description: 16-Way F Micro 64 Modular (BK)

Terminal Part Information

  • Terminal/Tray:15359541/4
  • Core/Insulation Crimp: M/M
  • Release Tool/Test Probe: 15381651-2/J-35616-64B (L-BU)

HVAC Control Assembly X1

Pin

Wire

Circuit

Function

1

0.35 L-GN

2275

Mode Door Position Signal

2-3

--

--

Not Used

4

0.35 L-BU/BK

1688

5-Volt Reference

5

0.35 L-GN/BK

1647

Recirculation Door Control A

6

0.35 PK/WH

1648

Recirculation Door Control B

7

0.35 PK

339

Ignition 1 Voltage

8

0.35 PK

339

Ignition 1 Voltage

9

0.35 D-BU

1646

Auxiliary Air Temperature Door Position Signal

10

--

--

Not Used

11

0.35 D-GN

71

Vehicle Wake Up Voltage OFF

12

0.35 L-BU/BK

1688

5-Volt Reference

13

0.35 WH/BK

1236

Auxiliary Air Temperature Door Control

14

0.35 TN

2273

Door Control

15

0.35 BK/WH

550

Ground

16

0.35 BK/WH

550

Ground

HVAC Control Assembly X2


Object Number: 1845264  Size: CH

Connector Part Information

  • OEM: 7283-9077-40
  • Service: See Catalog
  • Description: 16-Way F Kaizen 0.64 (L-GY)

Terminal Part Information

  • Terminal/Tray: SAIT-A03T-M064/14
  • Core/Insulation Crimp: P/P
  • Release Tool/Test Probe: J-38125-215A/J-35616-64B (L-BU)

HVAC Control Assembly X2

Pin

Wire

Circuit

Function

1

0.35 L-GN

66

A/C Request Signal

2

0.35 L-BU

1662

Driver Heated Seat Low Temperature Indicator Control (KA1)

3

0.35 L-BU

292

Rear Defog Switch Signal

4

0.35 PK

1501

Driver Heated Seat High/Low Signal (KA1)

5

--

--

Not Used

6

0.35 TN

1686

Passenger Heated Seat Low Temperature Control (KA1)

7

--

--

Not Used

8

0.5 PK

339

Run/Crank Ignition 1 Voltage

9

0.35 BK

550

Ground

10

0.35 RD/WH

1540

Battery Positive Voltage

11

0.35 D-GN

1661

Driver Heated Seat High Temperature Indicator Control (KA1)

12

--

--

Not Used

13

0.35 WH

193

Rear Defog Relay Control

14

0.35 GY

8

Instrument Panel Lamps Dimmer Switch Signal

15

0.35 YE

1685

Passenger Heated Seat High Temperature Control (KA1)

16

0.35 PK/BK

1503

Passenger Heated Seat High/Low Signal (KA1)

HVAC Control Assembly X3


Object Number: 62469  Size: CH

Connector Part Information

  • OEM: 12064998
  • Service: 15306189
  • Description: 8-Way F Metri-Pack 280 Series (BK)

Terminal Part Information

  • Pin A
  • Terminal/Tray: 12034046/2
  • Core/Insulation Crimp: E/A
  • Release Tool/Test Probe: 12094430/J-35616-4A (PU)
  • Pins F-H
  • Terminal/Tray: See 12015858/ 4
  • Core/Insulation Crimp: F/G
  • Release Tool/Test Probe: 12094430/J-35616-4A (PU)
  • Pin E
  • Terminal/Tray: See 12015858/Delphi 4
  • Core/Insulation Crimp: F/G
  • Release Tool/Test Probe: 12094430/J-35616-4A (PU)

HVAC Control Assembly X3

Pin

Wire

Circuit

Function

A

0.35 D-GN

71

Off Blower Motor Control

B

3 BK

550

Ground

C-D

--

--

Not Used

E

3 OG

52

High Blower Motor Control

F

2 L-BU

72

Medium 2 Blower Motor Control

G

2 TN

63

Medium Blower Motor Control (1)

H

2 YE

60

Low Blower Motor Control

Ignition Coil Module 1


Object Number: 1590069  Size: CH

Connector Part Information

  • OEM: 7283-3392-30
  • Service: 88988338
  • Description: 4-Way F GT 150 Series (BK)

Terminal Part Information

  • Terminal/Tray: 7116-4102-08/9
  • Core/Insulation Crimp: E/1
  • Release Tool/Test Probe: 12094430/J-35616-2A (GY)

Ignition Coil Module 1

Pin

Wire

Circuit

Function

1

0.8 BK

1350

Ground

2

0.35 BN

2129

Low Reference

3

0.35 PU

2121

Ignition Control (1)

4

0.5 PK/BK

5292

Ignition 1 Voltage

Ignition Coil Module 2


Object Number: 1590069  Size: CH

Connector Part Information

  • OEM: 7283-3392-30
  • Service: 88988338
  • Description: 4-Way F GT 150 Series (BK)

Terminal Part Information

  • Terminal/Tray: 7116-4102-08/9
  • Core/Insulation Crimp: E/1
  • Release Tool/Test Probe: 12094430/J-35616-2A (GY)

Ignition Coil Module 2

Pin

Wire

Circuit

Function

1

0.8 BK

1350

Ground

2

0.35 BN

2129

Low Reference (LE8/LE9)

0.35 BN/WH

2130

Low Reference (LNF)

3

0.35 OG/WH

2122

Ignition Control (2)

4

0.5 PK/BK

5292

Ignition 1 Voltage

Ignition Coil Module 3


Object Number: 1590069  Size: CH

Connector Part Information

  • OEM: 7283-3392-30
  • Service: 88988338
  • Description: 4-Way F GT 150 Series (BK)

Terminal Part Information

  • Terminal/Tray: 7116-4102-08/9
  • Core/Insulation Crimp: E/1
  • Release Tool/Test Probe: 12094430/J-35616-2A (GY)

Ignition Coil Module 3

Pin

Wire

Circuit

Function

1

0.8 BK

1350

Ground

2

0.35 BN

2129

Low Reference

3

0.35 L-BU

2123

Ignition Control (3)

4

0.5 PK/BK

5292

Ignition 1 Voltage

Ignition Coil Module 4


Object Number: 1590069  Size: CH

Connector Part Information

  • OEM: 7283-3392-30
  • Service: 88988338
  • Description: 4-Way F GT 150 Series (BK)

Terminal Part Information

  • Terminal/Tray: 7116-4102-08/9
  • Core/Insulation Crimp: E/1
  • Release Tool/Test Probe: 12094430/J-35616-2A (GY)

Ignition Coil Module 4

Pin

Wire

Circuit

Function

1

0.8 BK

1350

Ground

2

0.35 BN

2129

Low Reference (LE9/LE8)

0.35 BN/WH

2130

Low Reference (LNF)

3

0.35 D-GN/WH

2124

Ignition Control (4)

4

0.5 PK/BK

5292

Ignition 1 Voltage

Ignition Lock Solenoid (MN5)


Object Number: 280768  Size: CH

Connector Part Information

  • OEM: 12052832
  • Service: 12101825
  • Description: 2-Way F Metri-Pack 150 Series (BK)

Terminal Part Information

  • Terminal/Tray: 12064971/5
  • Core/Insulation Crimp: E/C
  • Release Tool/Test Probe: 12094429/J-35616-2A (GY)

Ignition Lock Solenoid (MN5)

Pin

Wire

Circuit

Function

A

0.35 D-GN/WH

1932

Transmission Shift Select Switch Park Signal

B

0.35 BN

4

Accessory Voltage

Ignition Switch


Object Number: 307727  Size: CH

Connector Part Information

  • OEM: IL-AG5-6S-S3C1
  • Service: 88987854
  • Description: 6-Way F IL-AG5 Series (GN)

Terminal Part Information

  • Terminal/Tray: See Terminal Repair Kit
  • Core/Insulation Crimp: See Terminal Repair Kit
  • Release Tool/Test Probe: See Terminal Repair Kit

Ignition Switch

Pin

Wire

Circuit

Function

1

--

--

Not Used

2

0.35 RD/WH

1040

Battery Positive Voltage

3

0.35 YE

5199

Run/Crank Relay Coil Control

4

0.35 BN

4

Accessory Voltage

5

0.35 WH

1390

Off/Run/Crank Voltage

6

0.35 WH/BK

1073

Ignition Key Resistor Signal

Inflatable Restraint Front End Sensor


Object Number: 744055  Size: CH

Connector Part Information

  • OEM: 15356727
  • Service: 15306405
  • Description: 2-Way F GT 150 Series Sealed 4.0 (YE)

Terminal Part Information

  • Terminal/Tray: Service with Pigtail
  • Core/Insulation Crimp: N/A
  • Release Tool/Test Probe: 15315247/J-35616-2A (GY)

Inflatable Restraint Front End Sensor

Pin

Wire

Circuit

Function

A

0.5 TN/OG

5045

Discriminating Sensor - Low Reference

B

0.5 YE

1834

Forward Discriminating Sensor Signal

Inflatable Restraint Front Passenger Presence System (PPS) Module


Object Number: 1550231  Size: CH

Connector Part Information

  • OEM: 15431682
  • Service: Service by Complete Seat Harness
  • Description: 18-Way F Micro-Pack 100W Series Sealed (BK)

Terminal Part Information

  • Terminal/Tray: Service with Terminated Lead
  • Core/Insulation Crimp: N/A
  • Release Tool/Test Probe: See Terminal Repair Kit

Inflatable Restraint Front Passenger Presence System (PPS) Module

Pin

Wire

Circuit

Function

1

0.35 TN/BK

723

Passenger Air Bag On Indicator Control

2

0.35 PK

353

Passenger Air Bag Off Indicator Control

3

--

--

Not Used

4

0.35 D-BU

913

Passenger Seat Belt Tension Sensor Signal

5

0.35 BK/WH

1551

Ground

6

0.35 PK/WH

916

Passenger Presence Sensor Signal

7

0.35 D-BU/WH

918

14-Volt Reference

8

--

--

Not Used

9

0.35 PK

1339

Ignition 1 Voltage

10-13

--

--

Not Used

14

0.35 YE

914

Low Reference

15

0.35 YE/WH

917

Low Reference

16

0.35 PK

915

14-Volt Reference

17

--

--

Not Used

18

0.35 PK

5018

Occupant Sensor Serial Data

Inflatable Restraint Front Passenger Presence System (PPS) Sensor


Object Number: 1424764  Size: CH

Connector Part Information

  • OEM: 15422250
  • Service: Service by Complete Seat Harness
  • Description: 3-Way F GT 150 Series (D-GY)

Terminal Part Information

  • Terminal/Tray: Service with Pigtail
  • Core/Insulation Crimp: N/A
  • Release Tool/Test Probe: See Terminal Repair Kit

Inflatable Restraint Front Passenger Presence System (PPS) Sensor

Pin

Wire

Circuit

Function

A

0.35 D-BU/WH

918

14-Volt Reference

B

0.35 PK/WH

916

Passenger Presence Sensor Signal

C

0.35 YE/WH

917

Low Reference

Inflatable Restraint I/P Module X1


Object Number: 966373  Size: CH

Connector Part Information

  • OEM: 15359118
  • Service: Service By Complete Passenger Air Bag Jumper Harness
  • Description: 2-Way F Micro-Pack 100 Series (GY) With (YE) Case

Terminal Part Information

  • Terminal/Tray: Service with Pigtail
  • Core/Insulation Crimp: N/A
  • Release Tool/Test Probe: See Terminal Repair Kit

Inflatable Restraint I/P Module X1

Pin

Wire

Circuit

Function

A

0.5 YE

3025

I/P Module - Stage 1 - High Control

B

0.5 OG

3024

I/P Module - Stage 1 - Low Control

Inflatable Restraint I/P Module X2


Object Number: 966368  Size: CH

Connector Part Information

  • OEM: 15359119
  • Service: Service By Complete Passenger Air Bag Jumper Harness
  • Description: 2-Way F Micro-Pack 100 Series (PU) With (YE) Case

Terminal Part Information

  • Terminal/Tray: Service with Pigtail
  • Core/Insulation Crimp: N/A
  • Release Tool/Test Probe: See Terminal Repair Kit

Inflatable Restraint I/P Module X2

Pin

Wire

Circuit

Function

A

0.5 PU

3026

I/P Module - Stage 2 - Low Control

B

0.5 GY

3027

I/P Module - Stage 2 - High Control

Inflatable Restraint I/P Module Indicator


Object Number: 1590156  Size: CH

Connector Part Information

  • OEM: HCMPB-05-S
  • Service: 88953369
  • Description: 5-Way F (WH)

Terminal Part Information

  • Terminal/Tray: Service with Pigtail
  • Core/Insulation Crimp: N/A
  • Release Tool/Test Probe: 12094429/J-35616-64B (L-BU)

Inflatable Restraint I/P Module Indicator

Pin

Wire

Circuit

Function

1

0.35 TN/BK

723

Passenger Air Bag On Indicator Control

2

0.35 BK/WH

651

Ground

3

0.35 PK

353

Passenger Air Bag Off Indicator Control

4

0.35 PK

339

Ignition 1 Voltage

5

0.35 PU

5234

Passenger Seat Belt Indicator

Inflatable Restraint Passenger Seat Belt Tension Sensor


Object Number: 646415  Size: CH

Connector Part Information

  • OEM: 15326808
  • Service: 15306388
  • Description: 3-Way F GT 150 Series Sealed (BK)

Terminal Part Information

  • Terminal/Tray: Service with Pigtail
  • Core/Insulation Crimp: N/A
  • Release Tool/Test Probe: 15315247/J-35616-2A (GY)

Inflatable Restraint Passenger Seat Belt Tension Sensor

Pin

Wire

Circuit

Function

A

0.35 PK

915

14-Volt Reference

B

0.35 YE

914

Low Reference

C

0.35 D-BU

913

Passenger Seat Belt Tension Sensor Signal

Inflatable Restraint Roof Rail Module - Left (ASF)


Object Number: 646194  Size: CH

Connector Part Information

  • OEM: 12186799
  • Service: 15306012
  • Description: 2-Way M Metri-Pack 280 Series (YE)

Terminal Part Information

  • Terminal/Tray: Service with Pigtail
  • Core/Insulation Crimp: N/A
  • Release Tool/Test Probe: 12094429/J-35616-5 (PU)

Inflatable Restraint Roof Rail Module - Left (ASF)

Pin

Wire

Circuit

Function

A

0.5 PU/WH

5019

Roof Rail Module - Left - High Control

B

0.5 PK

5020

Roof Rail Module - Left - Low Control

Inflatable Restraint Roof Rail Module - Right (ASF)


Object Number: 646194  Size: CH

Connector Part Information

  • OEM: 12186799
  • Service: 15306012
  • Description: 2-Way M Metri-Pack 280 Series (YE)

Terminal Part Information

  • Terminal/Tray: Service with Pigtail
  • Core/Insulation Crimp: N/A
  • Release Tool/Test Probe: 12094429/J-35616-5 (PU)

Inflatable Restraint Roof Rail Module - Right (ASF)

Pin

Wire

Circuit

Function

A

0.5 YE/BK

5021

Roof Rail Module - Right - High Control

B

0.5 WH/BK

5022

Roof Rail Module - Right - Low Control

Inflatable Restraint Sensing and Diagnostic Module (SDM)


Object Number: 1376716  Size: CH

Connector Part Information

  • OEM: 3-638595-3
  • Service: 88988368
  • Description: 60-Way F (YE)

Terminal Part Information

  • Terminal/Tray: Service with Terminated Lead
  • Core/Insulation Crimp: N/A
  • Release Tool/Test Probe: See Terminal Repair Kit

Inflatable Restraint Sensing and Diagnostic Module (SDM)

Pin

Wire

Circuit

Function

1

0.5 RD/WH

1240

Battery Positive Voltage

2

0.35 D-GN

5060

Low Speed GMLAN Serial Data

3

0.35 PK

5057

Seat Position Sensor - Low Reference

4

0.35 TN/WH

238

Seat Belt Switch - Left

5

--

--

Not Used

6

0.35 OG

1362

Seat Belt Switch - Right

7

--

--

Not Used

8

0.5 PK

5020

Roof Rail Module - Left - Low Control (ASF)

9

0.5 PU/WH

5019

Roof Rail Module - Right - High Control (ASF)

10

0.5 YE/BK

5021

Roof Rail Module - Right - High Control (ASF)

11

0.5 WH/BK

5022

Roof Rail Module - Right - Low Control (ASF)

12

0.5 PU

3026

I/P Module - Stage 2 - Low Control

13

0.5 GY

3027

I/P Module - Stage 2 - High Control

14

0.5 TN

3021

Steering Wheel Module Stage 1 High Control

15

0.5 BN

3020

Steering Wheel Module Stage 1 Low Control

16

0.5 PK

3022

Steering Wheel Module Stage 2 Low Control

17

0.5 WH

3023

Steering Wheel Module Stage 2 High Control

18

0.5 YE

3025

I/P Module Stage 1 High Control

19

0.5 OG

3024

I/P Module Stage 1 Low Control

20-30

--

--

Not Used

31

0.8 BK/WH

351

Ground

32

--

--

Not Used

33

0.35 PK

1339

Ignition 1 Voltage

34-37

--

--

Not Used

38

0.35 YE

1834

Forward Discriminating Sensor Signal

39

0.35 TN/OG

5045

Discriminating Sensor - Low Reference

40-45

--

--

Not Used

46

0.35 WH

2132

Side Impact Sensing Module Left Signal (ASF)

47

0.35 YE

2131

Side Impact Sensing Module Left Voltage (ASF)

48

0.35 TN

2133

Side Impact Sensing Module Right Voltage (ASF)

49

0.35 D-GN

2134

Side Impact Sensing Module Right Signal (ASF)

50-51

--

--

Not Used

52

0.5 GY/OG

2116

Seat Belt Pretensioner - Right - High Control

53

0.5 L-BU/OG

2117

Seat Belt Pretensioner - Right - Low Control

54-55

--

--

Not Used

56

0.5 GY/WH

2118

Seat Belt Pretensioner - Left - High Control

57

0.5 YE/WH

2119

Seat Belt Pretensioner - Left - Low Control

58-59

--

--

Not Used

60

0.35 PK

5018

Occupant Sensor Serial Data

Inflatable Restraint Side Impact Sensor (SIS) - Left (ASF)


Object Number: 1282936  Size: CH

Connector Part Information

  • OEM: 15356725
  • Service: 15306418
  • Description: 2-Way F GT 150 Series (YE)

Terminal Part Information

  • Terminal/Tray: Service with Pigtail
  • Core/Insulation Crimp: N/A
  • Release Tool/Test Probe: 15315247/J-35616-2A (GY)

Inflatable Restraint Side Impact Sensor (SIS) - Left (ASF)

Pin

Wire

Circuit

Function

A

0.35 YE

2131

Side Impact Sensing Module Left Voltage

B

0.35 WH

2132

Side Impact Sensing Module Left Signal

Inflatable Restraint Side Impact Sensor (SIS) - Right (ASF)


Object Number: 1282936  Size: CH

Connector Part Information

  • OEM: 15356725
  • Service: 15306418
  • Description: 2-Way F GT 150 Series (YE)

Terminal Part Information

  • Terminal/Tray: Service with Pigtail
  • Core/Insulation Crimp: N/A
  • Release Tool/Test Probe: 15315247/J-35616-2A (GY)

Inflatable Restraint Side Impact Sensor (SIS) - Right (ASF)

Pin

Wire

Circuit

Function

A

0.35 TN

2133

Front Side Impact Sensing Module Right Voltage

B

0.35 D-GN

2134

Side Impact Sensing Module Right Signal

Inflatable Restraint Steering Wheel Module X1


Object Number: 739643  Size: CH

Connector Part Information

  • OEM: 54560236
  • Service: Service as assembly
  • Description: 2-Way F AMP (GY) With (YE) Case

Terminal Part Information

  • Terminal/Tray: Service with Assembly
  • Core/Insulation Crimp: N/A
  • Release Tool/Test Probe: N/A

Inflatable Restraint Steering Wheel Module X1

Pin

Wire

Circuit

Function

1

0.35 TN

3021

Steering Wheel Module - Stage 1 - High Control

2

0.35 BN

3020

Steering Wheel Module - Stage 1 - Low Control

Inflatable Restraint Steering Wheel Module X2


Object Number: 739646  Size: CH

Connector Part Information

  • OEM: CA-252-92-4 R
  • Service: See Catalog
  • Description: 2-Way F AMP (PU) With (YE) Case

Terminal Part Information

  • Terminal/Tray: Service with Pigtail
  • Core/Insulation Crimp: N/A
  • Release Tool/Test Probe: See Terminal Repair Kit

Inflatable Restraint Steering Wheel Module X2

Pin

Wire

Circuit

Function

1

0.35 WH

3023

Steering Wheel Module - Stage 2 - High Control

2

0.35 PK

3022

Steering Wheel Module - Stage 2 - Low Control

Inflatable Restraint Steering Wheel Module Coil X1


Object Number: 845610  Size: CH

Connector Part Information

  • OEM: 15393433
  • Service: 22710638
  • Description: 10-Way F Micro-Pack 64 Series (BK)

Terminal Part Information

  • Terminal/Tray: Service with Terminated Lead
  • Core/Insulation Crimp: N/A
  • Release Tool/Test Probe: See Terminal Repair Kit

Inflatable Restraint Steering Wheel Module Coil X1

Pin

Wire

Circuit

Function

A-B

--

--

Not Used

C

0.35 PK

339

Ignition 1 Voltage

D

0.35 GY/BK

1884

Cruise Control Switch Signal

E

0.35 D-BU

1796

Steering Wheel Controls Signal (UK3)

F

0.35 WH/BK

644

10-Volt Reference (UK3)

G

0.35 GY

8

Instrument Panel Lamps Dimmer Switch Signal

H

0.35 D-GN/WH

1358

Driver Information Center Switch Signal

J

0.35 TN

28

Horn Relay Control

K

0.35 BK/WH

151

Signal Ground

Inflatable Restraint Steering Wheel Module Coil X2


Object Number: 845610  Size: CH

Connector Part Information

  • OEM: 15393433
  • Service: 22710638
  • Description: 10-Way F Micro-Pack 64 Series (BK)

Terminal Part Information

  • Terminal/Tray: Service with Terminated Lead
  • Core/Insulation Crimp: N/A
  • Release Tool/Test Probe: 12180559-1/J-35616-64B (L-BU)

Inflatable Restraint Steering Wheel Module Coil X2

Pin

Wire

Circuit

Function

A-B

--

--

Not Used

C

0.35 PK

1539

Ignition 1 Voltage

D

0.35 GY

1884

Cruise Control Switch Signal

E

0.35 D-BU

1796

Steering Wheel Controls Signal (UK3)

F

0.35 WH/BK

644

10-Volt Reference (UK3)

G

0.35 GY

8

Instrument Panel Lamps Dimmer Switch Signal

H

0.35 D-GN/WH

1358

Driver Information Center Switch Signal

J

0.35 TN

28

Horn Relay Control

K

0.35 BK/WH

651

Ground

Inflatable Restraint Steering Wheel Module Coil X3


Object Number: 1399226  Size: CH

Connector Part Information

  • OEM: 15393421
  • Service: 88987853
  • Description: 4-Way F Micro-Pack 064 (YE)

Terminal Part Information

  • Terminal/Tray: Service with Pigtail
  • Core/Insulation Crimp: N/A
  • Release Tool/Test Probe: See Terminal Repair Kit

Inflatable Restraint Steering Wheel Module Coil X3

Pin

Wire

Circuit

Function

1

0.5 BN

3020

Steering Wheel Module - Stage 1 - Low Control

2

0.5 TN

3021

Steering Wheel Module - Stage 1 - High Control

3

0.5 PK

3022

Steering Wheel Module - Stage 2 - Low Control

4

0.5 WH

3023

Steering Wheel Module - Stage 2 - High Control

Inflatable Restraint Vehicle Rollover Sensor


Object Number: 1643710  Size: CH

Connector Part Information

  • OEM: 6189-1024
  • Service: See Catalog
  • Description: 6-Way F 64 Series (YE)

Terminal Part Information

  • Terminal/Tray: See Terminal Repair Kit
  • Core/Insulation Crimp: See Terminal Repair Kit
  • Release Tool/Test Probe: See Terminal Repair Kit

Inflatable Restraint Vehicle Rollover Sensor

Pin

Wire

Circuit

Function

1

0.35 PK

1339

Ignition 2 and 3 Voltage

2

--

--

Not Used

3

--

--

Not Used

4

--

--

Not Used

5

0.35 PK

5018

Serial Data

6

0.35 BK/WH

1551

"

Ground

Inside Rearview Mirror (DD8)


Object Number: 1711009  Size: CH

Connector Part Information

  • OEM: 15441350
  • Service: 15306351
  • Description: 16-Way F (BK)

Terminal Part Information

  • Terminal/Tray: 15355438/20
  • Core/Insulation Crimp: E/C
  • Release Tool/Test Probe: 15315247/J-35616-12 (BU)

Inside Rearview Mirror (DD8)

Pin

Wire

Circuit

Function

1-5

--

--

Not Used

6

0.3 WH

7641

Camera Video Signal (+) (UVC)

7

0.35 BU

7642

Camera Video Signal (+) (UVC)

8

0.5 BK

750

Ground

9

0.5 L-GN

24

Backup Lamp Supply Voltage

10

--

--

Not Used

11

0.35 D-GN/WH

2514

Keypad Signal (UE1)

--

--

Not Used (DD8)

12

0.35 L-GN/BK

2515

Keypad Supply Voltage (UE1)

--

--

Not Used (DD8)

13

0.5 PK

339

Ignition 1 Voltage

14

0.35 YE/BK

2516

Keypad Green LED Signal (UE1)

--

--

Not Used (DD8)

15

0.35 BN/WH

2517

Keypad Red LED Signal (UE1)

--

--

Not Used (DD8)

16

--

--

Not Used

Instrument Panel (I/P) Dimmer Switch


Object Number: 808685  Size: CH

Connector Part Information

  • OEM: 12020299
  • Service: 12102566
  • Description: 5-Way F P/C EDGBD STD (WH)

Terminal Part Information

  • Terminal/Tray: 12040511/3
  • Core/Insulation Crimp: E/A
  • Release Tool/Test Probe: 12094429/J-35616-4A (PU)

Instrument Panel (I/P) Dimmer Switch

Pin

Wire

Circuit

Function

A

0.5 GY

157

Courtesy Lamp Control

B

0.35 PU

719

Low Reference

C

0.35 D-GN

44

Instrument Panel Lamp Dimmer Switch Signal

D

--

--

Not Used

E

0.5 BK

550

Ground

Instrument Panel Cluster (IPC)


Object Number: 1626681  Size: CH

Connector Part Information

  • OEM: 1326132-9
  • Service: 88988783
  • Description: 18-Way F 0.64 MM Lever Assist (BK)

Terminal Part Information

  • Pins: 6, 13, 14
  • Terminal/Tray: 638551-1/16
  • Core/Insulation Crimp: K/K
  • Release Tool/Test Probe: 15315247/J-35616-64B (L-BU)
  • Pins: 8-11
  • Terminal/Tray: See Terminal Repair Kit
  • Core/Insulation Crimp: See Terminal Repair Kit
  • Release Tool/Test Probe: See Terminal Repair Kit

Instrument Panel Cluster (IPC)

Pin

Wire

Circuit

Function

1

--

--

Not Used

2

0.35 L-GN/WH

5702

Door Latch Motor Control

3-5

--

--

Not Used

6

0.5 BK/WH

651

Signal Ground

7

--

--

Not Used

8

0.35 D-GN/BK

5060

Low Speed GMLAN Serial Data

9

0.35 D-GN/WH

1358

Driver Information Center Switch Signal

10

0.35 D-GN

264

Security Indicator Supply Voltage

11

0.35 BN/WH

419

MIL Control

12

--

--

Not Used

13

0.5 PK

339

Ignition 1 Voltage

14

0.5 RD/WH

1440

Battery Positive Voltage

15-18

--

--

Not Used

Intake Air Pressure and Temperature Sensor (LNF)


Object Number: 38608  Size: CH

Connector Part Information

  • OEM: 12162187
  • Service: See Catalog
  • Description: 4-Way F Metri-Pack 150.2 Series, Sealed, Pull to Seat (BK)

Terminal Part Information

  • Terminal/Tray: See Terminal Repair Kit
  • Core/Insulation Crimp: See Terminal Repair Kit
  • Release Tool/Test Probe: See Terminal Repair Kit

Intake Air Pressure and Temperature Sensor (LNF)

Pin

Wire

Circuit

Function

A

0.5 GY

597

5-Volt Reference

B

0.5 L-BU

7329

Pre-Throttle Air Temp and Press (TMAP) Temperature Signal

C

0.5 TN

407

Low Reference

D

0.5 PU

7330

Pre-Throttle Air Temp and Press (TMAP) Air Pressure Signal

Knock Sensor (KS) (LE8/LE9)


Object Number: 684799  Size: CH

Connector Part Information

  • OEM: 12077900
  • Service: 12116247
  • Description: 2-Way F Metri-Pack 280 Series Sealed (BK)

Terminal Part Information

  • Terminal/Tray: 12077411/2
  • Core/Insulation Crimp: 2/5
  • Release Tool/Test Probe: 12094430/J-35616-4A (PU)

Knock Sensor (KS) (LE8/LE9)

Pin

Wire

Circuit

Function

A

0.5 D-BU

496

Knock Sensor Signal

B

0.5 GY

1716

Knock Sensor Signal

Knock Sensor (KS) 1 (LNF)


Object Number: 684799  Size: CH

Connector Part Information

  • OEM: 12077900
  • Service: See Catalog
  • Description: 2-Way F Metri-Pack 280 Series Sealed (BK)

Terminal Part Information

  • Terminal/Tray: See Terminal Repair Kit
  • Core/Insulation Crimp: See Terminal Repair Kit
  • Release Tool/Test Probe: See Terminal Repair Kit

Knock Sensor (KS) 1 (LNF)

Pin

Wire

Circuit

Function

A

0.5 D-BU

496

KS 1 Signal

B

0.5 GY

1716

KS 1 Signal

Knock Sensor (KS) 2 (LNF)


Object Number: 684799  Size: CH

Connector Part Information

  • OEM: 12077900
  • Service: See Catalog
  • Description: 2-Way F Metri-Pack 280 Series Sealed (BK)

Terminal Part Information

  • Terminal/Tray: See Terminal Repair Kit
  • Core/Insulation Crimp: See Terminal Repair Kit
  • Release Tool/Test Probe: See Terminal Repair Kit

Knock Sensor (KS) 2 (LNF)

Pin

Wire

Circuit

Function

A

0.5 L-BU

1876

KS 2 Signal

B

0.5 GY

2303

KS 2 Signal

License Lamp - Left


Object Number: 744036  Size: CH

Connector Part Information

  • OEM: 12110053
  • Service: See Catalog
  • Description: 2-Way F Lamp Socket Wedge Base W2 (L-GY)

Terminal Part Information

  • Terminal/Tray: 12124471/5
  • Core/Insulation Crimp: 2/3
  • Release Tool/Test Probe: 12094430/N/A

License Lamp - Left

Pin

Wire

Circuit

Function

A

0.5 BN

9

License Lamp Supply Voltage

B

0.5 BK

850

Ground

License Lamp - Right


Object Number: 744036  Size: CH

Connector Part Information

  • OEM: 12110053
  • Service: See Catalog
  • Description: 2-Way F Lamp Socket Wedge Base W2 (L-GY)

Terminal Part Information

  • Terminal/Tray: 12124471/5
  • Core/Insulation Crimp: 2/3
  • Release Tool/Test Probe: 12094430/N/A

License Lamp - Right

Pin

Wire

Circuit

Function

A

0.5 BN

9

License Lamp Supply Voltage

B

0.5 BK

850

Ground

Liftgate Release Switch


Object Number: 646430  Size: CH

Connector Part Information

  • OEM: 15410728
  • Service: 88986450
  • Description: 4-Way F GT 150 Series Sealed (BK)

Terminal Part Information

  • Terminal/Tray: 15326267/19
  • Core/Insulation Crimp: E/4
  • Release Tool/Test Probe: 15315247/J-35616-2A (GY)

Liftgate Release Switch

Pin

Wire

Circuit

Function

A

--

--

Not Used

B

0.35 WH/BK

1221

Liftgate Release Switch Signal

C

--

--

Not Used

D

0.35 BK

850

Ground

Lumbar Adjuster Switch - Driver (AJ6)


Object Number: 62432  Size: CH

Connector Part Information

  • OEM: 12041429
  • Service: 12167129
  • Description: 5-Way F Metri-Pack 280 Series (BK)

Terminal Part Information

  • Terminal/Tray: See Terminal Repair Kit
  • Core/Insulation Crimp: See Terminal Repair Kit
  • Release Tool/Test Probe: See Terminal Repair Kit

Lumbar Adjuster Switch - Driver (AJ6)

Pin

Wire

Circuit

Function

A

1 BK

1250

Ground

B

2 PU

767

Driver Seat Lumbar Motor Down Control

C

1 BK

1250

Ground

D

2 RD/BK

342

Battery Positive Voltage

E

2 TN

768

Driver Seat Lumbar Motor Up Control

Manifold Absolute Pressure (MAP) Sensor


Object Number: 1331443  Size: CH

Connector Part Information

  • OEM: 1928403966
  • Service: 88988583
  • Description: 3-Way F Sealed (BK)

Terminal Part Information

  • Terminal/Tray: See Terminal Repair Kit
  • Core/Insulation Crimp: See Terminal Repair Kit
  • Release Tool/Test Probe: See Terminal Repair Kit

Manifold Absolute Pressure (MAP) Sensor

Pin

Wire

Circuit

Function

1

0.5 GY

2704

5-Volt Reference

2

0.5 OG/BK

469

Manifold Absolute Pressure Sensor Signal

3

0.5 L-GN

432

Low Reference

Marker Lamp - Left Front


Object Number: 68721  Size: CH

Connector Part Information

  • OEM: 15300027
  • Service: 12101855
  • Description: 2-Way F Metri-Pack 280 Series Sealed (BK)

Terminal Part Information

  • Terminal/Tray: 12077411/2
  • Core/Insulation Crimp: 2/5
  • Release Tool/Test Probe: 12094430/J-35616-4A (PU)

Marker Lamp - Left Front

Pin

Wire

Circuit

Function

A

0.5 BN

9

Park Lamp Supply Voltage

B

0.5 BK

150

Ground

Marker Lamp - Left Rear


Object Number: 1814569  Size: CH

Connector Part Information

  • OEM: 33194-0004
  • Service: See Catalog
  • Description: 2-Way F 1.5 Blade Series (BK)

Terminal Part Information

  • Terminal/Tray: See Terminal Repair Kit
  • Core/Insulation Crimp: See Terminal Repair Kit
  • Release Tool/Test Probe: See Terminal Repair Kit

Marker Lamp - Left Rear

Pin

Wire

Circuit

Function

1

0.5 BN

9

Park Lamp Supply Voltage

2

0.5 BK

750

Ground

Marker Lamp - Right Front


Object Number: 68721  Size: CH

Connector Part Information

  • OEM: 15300027
  • Service: 12101855
  • Description: 2-Way F Metri-Pack 280 Series Sealed (BK)

Terminal Part Information

  • Terminal/Tray: 12077411/2
  • Core/Insulation Crimp: 2/5
  • Release Tool/Test Probe: 12094430/J-35616-4A (PU)

Marker Lamp - Right Front

Pin

Wire

Circuit

Function

A

0.5 BN

9

Park Lamp Supply Voltage

B

0.5 BK

250

Ground

Marker Lamp - Right Rear


Object Number: 1814569  Size: CH

Connector Part Information

  • OEM: 33194-004
  • Service: See Catalog
  • Description: 2-Way F Metri-Pack 150 Series (BK)

Terminal Part Information

  • Terminal/Tray: See Terminal Repair Kit
  • Core/Insulation Crimp: See Terminal Repair Kit
  • Release Tool/Test Probe: See Terminal Repair Kit

Marker Lamp - Right Rear

Pin

Wire

Circuit

Function

1

0.5 BN

9

Park Lamp Supply Voltage

2

0.5 BK

850

Ground

Mass Air Flow (MAF)/Intake Air Temperature (IAT) Sensor


Object Number: 647974  Size: CH

Connector Part Information

  • OEM: 15326822
  • Service: 88987186
  • Description: 5-Way F GT 150 Series Sealed (BK)

Terminal Part Information

  • Terminal/Tray: 12191819/8
  • Core/Insulation Crimp: E/A
  • Release Tool/Test Probe: 15315247/J-35616-2A (GY)

Mass Air Flow (MAF)/Intake Air Temperature (IAT) Sensor

Pin

Wire

Circuit

Function

A

0.35 YE

492

Mass Air Flow Sensor Signal

B

0.35 BK/WH

451

Signal Ground

C

0.35 PK/BK

5291

Ignition 1 Voltage

D

0.35 TN

2760

Low Reference

E

0.35 L-BU

6289

Intake Air Temperature Sensor Signal

Mode Actuator


Object Number: 280764  Size: CH

Connector Part Information

  • OEM: 12064993
  • Service: 12102485
  • Description: 6-Way F Micro-Pack 100 Series (BK)

Terminal Part Information

  • Terminal/Tray: 12146447/3
  • Core/Insulation Crimp: E/C
  • Release Tool/Test Probe: 12031876-1/J-35616-6 (BN)

Mode Actuator

Pin

Wire

Circuit

Function

5

0.35 PK

339

Ignition 1 Voltage

6

0.35 TN

2273

Door Control

7

0.35 BK/WH

550

Ground

8

--

--

Not Used

9

0.35 L-GN

2275

Mode Door Position Signal

10

0.35 L-BU/BK

1688

5-Volt Reference

Overhead Console Courtesy/Reading Lamps (CF5)


Object Number: 333035  Size: CH

Connector Part Information

  • OEM: 12047781
  • Service: 12101864
  • Description: 3-Way F Metri-Pack 150 Series (BK)

Terminal Part Information

  • Terminal/Tray: 15326030/2
  • Core/Insulation Crimp: E/C
  • Release Tool/Test Probe: 12094429/J-35616-14 (GN)

Overhead Console Courtesy/Reading Lamps (CF5)

Pin

Wire

Circuit

Function

A

0.5 GY

157

Interior Lamp Control

B

0.5 D-BU/WH

149

Courtesy Lamp Supply Voltage

C

0.5 BK

750

Ground

Outside Rearview Mirror Motor - Driver


Object Number: 287973  Size: CH

Connector Part Information

  • OEM: 12047782
  • Service: 12117371
  • Description: 3-Way M Metri-Pack 150 Series (BK)

Terminal Part Information

  • Terminal/Tray: 12047581/2
  • Core/Insulation Crimp: E/C
  • Release Tool/Test Probe: 12094429/J-35616-3 (GY)

Outside Rearview Mirror Motor - Driver

Pin

Wire

Circuit

Function

A

0.35 WH

81

Driver Mirror Motor Right Control

B

0.35 YE

329

Driver Mirror Motor Supply Voltage

C

0.35 L-GN

89

Driver Mirror Motor Down Control

Outside Rearview Mirror Motor - Passenger


Object Number: 287973  Size: CH

Connector Part Information

  • OEM: 12047782
  • Service: 12117371
  • Description: 3-Way M Metri-Pack 150 Series (BK)

Terminal Part Information

  • Terminal/Tray: 12047581/2
  • Core/Insulation Crimp: E/C
  • Release Tool/Test Probe: 12094429/J-35616-3 (GY)

Outside Rearview Mirror Motor - Passenger

Pin

Wire

Circuit

Function

A

0.35 OG/WH

881

Passenger Mirror Motor Right Control

B

0.35 WH

330

Passenger Mirror Motor Supply Voltage

C

0.35 PU/WH

889

Passenger Mirror Motor Down Control

Outside Rearview Mirror Switch


Object Number: 62464  Size: CH

Connector Part Information

  • OEM: 12064769
  • Service: 12101762
  • Description: 10-Way F Metri-Pack 150 Series (NA)

Terminal Part Information

  • Terminal/Tray: 12064971/5
  • Core/Insulation Crimp: E/C
  • Release Tool/Test Probe: 12094429/J-35616-2A (GY)

Outside Rearview Mirror Switch

Pin

Wire

Circuit

Function

A

--

--

Not Used

B

0.35 BK/WH

1251

Ground

C

0.35 WH

330

Passenger Mirror Motor Supply Voltage

D

0.35 WH

81

Driver Mirror Motor Right Control

E

0.35 GY

8

Instrument Panel Lamps Dimmer Switch Signal

F

0.35 L-GN

89

Driver Mirror Motor Down Control

G

0.35 RD/WH

440

Battery Positive Voltage

H

0.35 YE

329

Driver Mirror Motor Supply Voltage

J

0.35 OG/WH

881

Passenger Mirror Motor Right Control

K

0.35 PU/WH

889

Passenger Mirror Motor Down Control

Park Brake Switch


Object Number: 439818  Size: CH

Connector Part Information

  • OEM: 12047682
  • Service: 12101850
  • Description: 1-Way F M/P 150 (BK)

Terminal Part Information

  • Terminal/Tray: 12064971/5
  • Core/Insulation Crimp: E/C
  • Release Tool/Test Probe: 12094429/J-35616-2A (GY)

Park Brake Switch

Pin

Wire

Circuit

Function

A

0.35 L-BU

1134

Park Brake Switch Signal

Park/Neutral Position (PNP) Switch (MN5)


Object Number: 1256394  Size: CH

Connector Part Information

  • OEM: 15416724
  • Service: 89046696
  • Description: 12-Way F Sealed (L-GY)

Terminal Part Information

  • Pin 1
  • Terminal/Tray: 15304719/19
  • Core/Insulation Crimp: E/5
  • Release Tool/Test Probe: 15315247/J-35616-4A (PU)
  • Pins 2-11
  • Terminal/Tray: 12191819/8
  • Core/Insulation Crimp: E/A
  • Release Tool/Test Probe: 15315247/J-35616-2A (GY)

Park/Neutral Position (PNP) Switch (MN5)

Pin

Wire

Circuit

Function

1

0.35 BK/WH

451

Signal Ground

2

0.35 WH

776

Transmission Range Switch Signal P

3

--

--

Not Used

4

0.5 L-GN

24

Backup Lamp Supply Voltage

5

0.5 PK

539

Ignition 1 Voltage

6-7

--

--

Not Used

8

0.35 YE

772

Transmission Range Signal B

9

0.35 TN/WH

771

Transmission Range Signal A

10

0.35 GY

773

Transmission Range Signal C

11

0.5 BK/WH

451

Ground

12

--

--

Not Used

Park/Turn Signal/DRL Lamp - Left Front


Object Number: 845637  Size: CH

Connector Part Information

  • OEM: 7900-1486-016
  • Service: 88986266
  • Description: 3-Way MISC (BK)

Terminal Part Information

  • Terminal/Tray: 7116-4102-08/9
  • Core/Insulation Crimp: E/1
  • Release Tool/Test Probe: 12094430/J-35616-2A (GY)

Park/Turn Signal/DRL Lamp - Left Front

Pin

Wire

Circuit

Function

1

0.5 BK

250

Ground

2

0.5 BN

9

Park Lamp Supply Voltage

3

0.35 L-BU

14

Left Turn Signal Lamp Supply Voltage

Park/Turn Signal/DRL Lamp - Right Front


Object Number: 845637  Size: CH

Connector Part Information

  • OEM: 7900-1486-016
  • Service: 88986266
  • Description: 3-Way MISC (BK)

Terminal Part Information

  • Terminal/Tray: 7116-4102-08/9
  • Core/Insulation Crimp: E/1
  • Release Tool/Test Probe: 12094430/J-35616-2A (GY)

Park/Turn Signal/DRL Lamp - Right Front

Pin

Wire

Circuit

Function

1

0.35 BK

150

Ground

2

0.5 BN

9

Park Lamp Supply Voltage

3

0.35 D-BU

15

Right Turn Signal Lamp Supply Voltage

Passenger Rear Access Panel Switch - Right Rear (Panel Van)


Object Number: 1283883  Size: CH

Connector Part Information

  • OEM: 15419483
  • Service: 89046742
  • Description: 4-Way F Metri-Pack 150 Series (BK)

Terminal Part Information

  • Terminal/Tray: 12064971/5
  • Core/Insulation Crimp: E/C
  • Release Tool/Test Probe: 12094429/J-35616-2A (GY)

Passenger Rear Access Panel Switch - Right Rear (Panel Van)

Pin

Wire

Circuit

Function

A

0.35 BK/WH

1551

Ground

B

--

--

Not Used

C

0.35 TN/BK

6658

Rear Access Panel Release Switch Signal - Right Rear

D

0.35 GY

8

Instrument Panel Lamps Dimmer Switch Signal

Power Steering Control Module (PSCM) X1 (LE8/LE9)


Object Number: 1283880  Size: CH

Connector Part Information

  • OEM: 7123-4123-30
  • Service: 88953301
  • Description: 2-Way F L Type (BK)

Terminal Part Information

  • Terminal/Tray: Service as Harness
  • Core/Insulation Crimp: N/A
  • Release Tool/Test Probe: N/A

Power Steering Control Module (PSCM) X1 (LE8/LE9)

Pin

Wire

Circuit

Function

1

5 RD/BK

642

Battery Positive Voltage

2

5 BK

1150

Ground

Power Steering Control Module (PSCM) X1 (LNF)


Object Number: 1881316  Size: CH

Connector Part Information

  • OEM: 6098-0601
  • Service: Service as Assembly
  • Description: 3-Way F TS 187 Series (L-GY)

Terminal Part Information

  • Terminal/Tray: N/A
  • Core/Insulation Crimp: N/A
  • Release Tool/Test Probe: N/A

Power Steering Control Module (PSCM) X1 (LNF)

Pin

Wire

Circuit

Function

1

RD

--

Motor W Phase

2

WH

--

Motor V Phase

3

BK

--

Motor U Phase

Power Steering Control Module (PSCM) X2 (LE8/LE9)


Object Number: 872598  Size: CH

Connector Part Information

  • OEM: 776195-6
  • Service: 88988409
  • Description: 6-Way F040 (GY)

Terminal Part Information

  • Terminal/Tray: 173681-2/17
  • Core/Insulation Crimp: E/4
  • Release Tool/Test Probe: 15315247/J-35616-16 (L-GN)

Power Steering Control Module (PSCM) X2 (LE8/LE9)

Pin

Wire

Circuit

Function

1

0.35 TN/BK

2500

High Speed GMLAN Serial Data (+)

2

0.35 TN

2501

High Speed GMLAN Serial Data (-)

3

--

--

Not Used

4

0.35 TN/BK

2500

High Speed GMLAN Serial Data (+)

5

0.35 TN

2501

High Speed GMLAN Serial Data (-)

6

0.35 PK

1539

Ignition 1 Voltage

Power Steering Control Module (PSCM) X2 (LNF)


Object Number: 1881393  Size: CH

Connector Part Information

  • OEM: 1747085-1
  • Service: See Catalog
  • Description: 6-Way F 0.64 Series (NA)

Terminal Part Information

  • Terminal/Tray: See Catalog
  • Core/Insulation Crimp: See Catalog
  • Release Tool/Test Probe: See Catalog

Power Steering Control Module (PSCM) X2 (LNF)

Pin

Wire

Circuit

Function

1

RD

--

Rotational Sensor Exciting

2

--

--

Not Used

3

BK

--

Rotational Sensor Exciting GND

4

--

--

Not Used

5

D-BU

--

Rotational Sensor COS

6

YE

--

Rotational Sensor SN

Power Steering Control Module (PSCM) X3 (LE8/LE9)


Object Number: 1283880  Size: CH

Connector Part Information

  • OEM: 7123-4123-30
  • Service: 88953301
  • Description: 2-Way F L Type (BK)

Terminal Part Information

  • Terminal/Tray: See Terminal Repair Kit
  • Core/Insulation Crimp: See Terminal Repair Kit
  • Release Tool/Test Probe: See Terminal Repair Kit

Power Steering Control Module (PSCM) X3 (LE8/LE9)

Pin

Wire

Circuit

Function

1

0.5 RD

5

Left Assist Motor Control

2

0.5 BK

5

Right Assist Motor Control

Power Steering Control Module (PSCM) X3 (LNF)


Object Number: 1881391  Size: CH

Connector Part Information

  • OEM: 1747088-1
  • Service: See Catalog
  • Description: 8-Way F 0.64 Series (NA)

Terminal Part Information

  • Terminal/Tray: See Catalog
  • Core/Insulation Crimp: See Catalog
  • Release Tool/Test Probe: See Catalog

Power Steering Control Module (PSCM) X3 (LNF)

Pin

Wire

Circuit

Function

1

GY

--

Torque Sensor GND

2

WH

--

Torque Sensor Exciting GND

3

--

--

Not Used

4

D-GN

--

Torque Sensor Exciting

5

L-BU

--

Torque Sensor Output Shaft Side COS

6

YE

--

Torque Sensor Output Shaft Side SN

7

BK

--

Torque Sensor Input Shaft Side COS

8

PK

--

Torque Sensor Input Shaft Side SN

Power Steering Control Module (PSCM) X4 (LNF)


Object Number: 1866124  Size: CH

Connector Part Information

  • OEM: 1565287-1
  • Service: See Catalog
  • Description: 12-Way F 64 SeriesUnsealed (NA)

Terminal Part Information

  • Terminal/Tray: 1123343-2/7
  • Core/Insulation Crimp: Pins 1-2, 6-8 - J/J
  • Core/Insulation Crimp: Pins 2, 8 - K/K
  • Release Tool/Test Probe: J-38125-24/J-35616-64B (L-BU)

Power Steering Control Module (PSCM) X4 (LNF)

Pin

Wire

Circuit

Function

1

0.35 TN/BK

2500

High Speed GMLAN Serial Data Bus+

2

0.35 TN/BK

2500

High Speed GMLAN Serial Data Bus+

3-5

--

--

Not Used

6

0.35 PK

1539

Battery Positive Voltage

7

0.35 TN

2501

High Speed GMLAN Serial Data Bus-

8

0.35 TN

2501

High Speed GMLAN Serial Data Bus-

9-12

--

--

Not Used

Power Steering Control Module (PSCM) X5 (LNF)


Object Number: 1866125  Size: CH

Connector Part Information

  • OEM: 7283-3521-40
  • Service: 19153195
  • Description: 2-Way F (L-GY)

Terminal Part Information

  • Terminal/Tray: See Terminal Repair Kit
  • Core/Insulation Crimp: See Terminal Repair Kit
  • Release Tool/Test Probe: See Terminal Repair Kit

Power Steering Control Module (PSCM) X5 (LNF)

Pin

Wire

Circuit

Function

1

8.0 RD/BK

642

Battery Positive Voltage

2

8.0 BK

1150

Ground

Pressure Control Solenoid Valve (MN5)


Object Number: 82345  Size: CH

Connector Part Information

  • OEM: 12146094
  • Service: Non-Serviceable
  • Description: 2-Way F Metri-Pack 150.2 Series P2S (GY)

Pressure Control Solenoid Valve (MN5)

Pin

Wire

Circuit

Function

A

0.35 PU

1228

Pressure Control (PC) Solenoid Valve High Control

B

0.35 L-BU

1229

PC Solenoid Valve Low Control

Radio X1 (UQ3)


Object Number: 1590072  Size: CH

Connector Part Information

  • OEM: 7283-4490-30
  • Service: See Catalog
  • Description: 14-Way F GT 150 Series/Micro-Pack 64 Modular (BK)

Terminal Part Information

  • Pins: 1, 8
  • Terminal/Tray: 12191812/19
  • Core/Insulation Crimp: C/A
  • Release Tool/Test Probe: 15315247/J-35616-2A (GY)
  • Pins: 2, 4-7, 9, 11
  • Terminal/Tray: 15359541/4
  • Core/Insulation Crimp: M/M
  • Release Tool/Test Probe: 15381651-2/J-35616-64B (L-BU)

Radio X1 (UQ3)

Pin

Wire

Circuit

Function

1

1 RD/WH

1140

Battery Positive Voltage

2-3

--

--

Not Used

4

0.35 L-GN

1948

Right Front Low Level Audio Signal (-)

5

0.35 L-GN/WH

512

Right Front Low Level Audio Signal (+)

6

0.35 D-GN

1947

Left Front Low Level Audio (-)

7

0.35 TN

511

Left Front Low Level Audio Signal (+)

8

1 BK/WH

651

Ground

9

0.35 D-GN/WH

5060

Low Speed GMLAN Serial Data

10

--

--

Not Used

11

0.35 D-BU

1796

Steering Wheel Control Signal (UK3)

12-13

--

--

Not Used

14

0.35 WH/BK

644

12-Volt Reference

Radio X1 (UW5)


Object Number: 1673491  Size: CH

Connector Part Information

  • OEM: 7283-4490-30
  • Service: See Catalog
  • Description: 14-Way F GT 150 Series/Micro-Pack 64 Modular (BK)

Terminal Part Information

  • Pins: 1, 8
  • Terminal/Tray: 12191812/19
  • Core/Insulation Crimp: C/A
  • Release Tool/Test Probe: 15315247/J-35616-2A (GY)
  • Pins: 2, 4-7, 9, 11
  • Terminal/Tray: 15359541/4
  • Core/Insulation Crimp: M/M
  • Release Tool/Test Probe: 15381651-2/J-35616-64B (L-BU)

Radio X1 (UW5)

Pin

Wire

Circuit

Function

1

1 RD/WH

1140

Battery Positive Voltage

2-3

--

--

Not Used

4

0.35 D-GN

117

Right Front Speaker Output (-)

5

0.35 L-GN

200

Right Front Speaker Output (+)

6

0.35 GY

118

Left Front Speaker Output (-)

7

0.35 TN

201

Left Front Speaker Output (+)

8

1 BK/WH

651

Ground

9

0.35 D-GN/WH

5060

Low Speed GMLAN Serial Data

10

--

--

Not Used

11

0.35 D-BU

1796

Steering Wheel Control Signal (UK3)

12-14

--

--

Not Used

Radio X2 (UQ3)


Object Number: 850856  Size: CH

Connector Part Information

  • OEM: 7283-9076-30
  • Service: See Catalog
  • Description: 16-Way F Micro-Pack 64 Modular (BK)

Terminal Part Information

  • Terminal/Tray: 15359541/4
  • Core/Insulation Crimp: M/M
  • Release Tool/Test Probe: 15381651-2/J-35616-64B (L-BU)

Radio X2 (UQ3)

Pin

Wire

Circuit

Function

1

0.35 BN/WH

367

Left Audio Signal (+) (U2K)

2

0.35 D-GN/WH

368

Right Audio Signal (+) (U2K)

3

0.35 PK

314

Radio On Signal

4

0.35 D-BU

546

Right Rear Low Level Audio Signal (+)

5

0.35 TN

1946

Right Rear Low Level Audio Signal (-)

6

0.35 BN/WH

599

Left Rear Low Level Audio Signal (+)

7

0.35 BN

1999

Left Rear Low Level Audio Signal (-)

8

0.35 PK/BK

2062

Cellular Telephone Voice Signal (UE1)

9

0.35 TN/WH

372

Audio Common (U2K)

10-13

--

--

Not Used

14

0.35 WH/BK

644

10-Volt Reference (UK3)

15

0.35 L-GN

1011

Remote Radio Control Signal

16

0.35 OG/BK

2061

Cellular Telephone Voice Low Reference (UE1)

Radio X2 (UW5)


Object Number: 1711013  Size: CH

Connector Part Information

  • OEM: 7283-9076-30
  • Service: 15394150
  • Description: 16-Way F Micro-Pack 64 Modular (BK)

Terminal Part Information

  • Terminal/Tray: See Terminal Repair Kit
  • Core/Insulation Crimp: See Terminal Repair Kit
  • Release Tool/Test Probe: See Terminal Repair Kit

Radio X2 (UW5)

Pin

Wire

Circuit

Function

1

0.35 BN/WH

367

Remote Radio Left Audio Signal (+) (U2K)

2

0.35 D-GN/WH

368

Remote Radio Right Audio Signal (+) (U2K)

3

0.35 PK

314

Radio On Signal

4

0.5 D-BU

46

Right Rear Speaker Output (+)

5

0.5 L-BU

115

Right Rear Speaker Output (-)

6

0.5 BN

199

Left Rear Speaker Output (+)

7

0.5 YE

116

Left Rear Speaker Output (-)

8

0.35 PK/BK

2062

Cellular Telephone Voice Signal (UE1)

9

0.35 TN/WH

372

Audio Common (U2K)

10-13

--

--

Not Used

14

0.35 WH/BK

644

10-Volt Reference (UK3)

15

--

--

Not Used

16

0.35 OG/BK

2061

Cellular Telephone Voice Low Reference (UE1)

Rear Access Panel Latch - Left Rear (Panel Van)


Object Number: 845631  Size: CH

Connector Part Information

  • OEM: 6-1355688-1
  • Service: Service as Harness
  • Description: 10-Way F Sealed Series

Terminal Part Information

  • Terminal/Tray: 964274-2/16
  • Core/Insulation Crimp: E/1
  • Release Tool/Test Probe: J-38125-560/J-35616-14 (GN)

Rear Access Panel Latch - Left Rear (Panel Van)

Pin

Wire

Circuit

Function

1

0.5 GY/BK

295

Door Lock Actuator Lock Control

2

0.5 TN

294

Door Lock Actuator Unlock Control

3

0.8 L-GN/BK

933

Liftgate Relay B+

4

0.8 BN

6156

Rear Access Panel Relay Control - Left Rear

5

--

--

Not Used

6

0.35 L-BU/BK

747

Left Rear Door Ajar Switch Signal

7

--

--

Not Used

8

0.35 BK/WH

1251

Ground

9-10

--

--

Not Used

Rear Access Panel Latch - Right Rear (Panel Van)


Object Number: 845631  Size: CH

Connector Part Information

  • OEM: 6-1355688-1
  • Service: Service as Harness
  • Description: 10-Way F Sealed Series

Terminal Part Information

  • Terminal/Tray: 964274-2/16
  • Core/Insulation Crimp: E/1
  • Release Tool/Test Probe: J-38125-560/J-35616-14 (GN)

Rear Access Panel Latch - Right Rear (Panel Van)

Pin

Wire

Circuit

Function

1

0.35 L-GN/BK

748

Right Rear Door Ajar Switch Signal

2

--

--

Not Used

3

0.35 BK/WH

1551

Ground

4-5

--

--

Not Used

6

0.5 GY/BK

295

Door Lock Actuator Lock Control

7

0.5 TN

294

Door Lock Actuator Lock Control

8

0.8 L-GN/BK

933

Liftgate Relay B+

9

0.8 BN

6156

Rear Access Panel Relay Control - Right Rear

10

--

--

Not Used

Rear Window Defogger Grid X1


Object Number: 365953  Size: CH

Connector Part Information

  • OEM: 12092133
  • Service: 12167133
  • Description: 1-Way F Metri-Pack 630 Series (BK)

Terminal Part Information

  • Terminal/Tray: 12103325/3
  • Core/Insulation Crimp: A/B
  • Release Tool/Test Probe: 12094430/J-35616-42 (RD)

Rear Window Defogger Grid X1

Pin

Wire

Circuit

Function

A

3 PU

293

Rear Defog Element Supply Voltage

Rear Window Defogger Grid X2


Object Number: 365953  Size: CH

Connector Part Information

  • OEM: 12092133
  • Service: 12167133
  • Description: 1-Way F Metri-Pack 630 Series (BK)

Terminal Part Information

  • Terminal/Tray: 12103325/3
  • Core/Insulation Crimp: A/B
  • Release Tool/Test Probe: 12094430/J-35616-42 (RD)

Rear Window Defogger Grid X2

Pin

Wire

Circuit

Function

A

3 BK

1450

Ground

Rear Window Wiper Motor


Object Number: 820083  Size: CH

Connector Part Information

  • OEM: 7283-7433
  • Service: 88988339
  • Description: 3-Way F GT 150 Series (NA)

Terminal Part Information

  • Pins: 1, 3
  • Terminal/Tray: 7116-4021/11
  • Core/Insulation Crimp: E/A
  • Release Tool/Test Probe: 15315247/J-35616-18 (BK)
  • Pins: 2
  • Terminal/Tray: 7116-4020/11
  • Core/Insulation Crimp: E/C
  • Release Tool/Test Probe: 15315247/J-35616-18 (BK)

Rear Window Wiper Motor

Pin

Wire

Circuit

Function

1

0.8 BK

850

Ground

2

0.35 YE

5456

Rear Wiper Motor Park Signal

3

0.35 WH

393

Rear Window Wiper Motor Control

Rear Wiper/Washer Switch


Object Number: 605511  Size: CH

Connector Part Information

  • OEM: 50-57-9405
  • Service: 89046734
  • Description: 5-Way (BK)

Terminal Part Information

  • Terminal/Tray: 16-02-1110/20
  • Core/Insulation Crimp: H/H
  • Release Tool/Test Probe: J-38125-213/J-35616-64B (L-BU)

Rear Wiper/Washer Switch

Pin

Wire

Circuit

Function

1

0.35 BK/WH

651

Ground

2

--

--

Not Used

3

0.35 BK/WH

651

Ground

4

0.35 GY

8

Instrument Panel Lamps Dimmer Switch Signal

5

0.35 WH

2283

Rear Wiper/Washer Switch Supply Voltage

Recirculation Actuator


Object Number: 704047  Size: CH

Connector Part Information

  • OEM: 12059110
  • Service: 88953271
  • Description: 2-Way F Metri-Pack 150 Series (BK)

Terminal Part Information

  • Terminal/Tray: See Terminal Repair Kit
  • Core/Insulation Crimp: See Terminal Repair Kit
  • Release Tool/Test Probe: See Terminal Repair Kit

Recirculation Actuator

Pin

Wire

Circuit

Function

A

0.35 L-GN/BK

1647

Recirculation Control A

B

0.35 PK/WH

1648

Recirculation Control B

Remote Control Door Lock Receiver (RCDLR)


Object Number: 1580055  Size: CH

Connector Part Information

  • OEM: HCMPB-04-K
  • Service: 88988403
  • Description: 4-Way F HCM Series (BK)

Terminal Part Information

  • Terminal/Tray: SHCM-A03T-P025/20
  • Core/Insulation Crimp: J/J
  • Release Tool/Test Probe: 12094429/J-35616-64B (L-BU)

Remote Control Door Lock Receiver (RCDLR)

Pin

Wire

Circuit

Function

1

0.5 BK/WH

651

Ground

2

0.35 D-GN/RD

5060

Low Speed GMLAN Serial Data

3

--

--

Not Used

4

0.5 RD/WH

1140

Battery Positive Voltage

Seat Adjuster Switch - Driver (AJ6)


Object Number: 556473  Size: CH

Connector Part Information

  • OEM: 15326924
  • Service: 15306174
  • Description: 8-Way F GT 280 Series (BK)

Terminal Part Information

  • Terminal/Tray: See Terminal Repair Kit
  • Core/Insulation Crimp: See Terminal Repair Kit
  • Release Tool/Test Probe: See Terminal Repair Kit

Seat Adjuster Switch - Driver (AJ6)

Pin

Wire

Circuit

Function

A

2 D-BU

287

Driver Seat Front Vertical Motor Down Control

B

2 BK

1250

Ground

C

2 TN

285

Driver Seat Horizontal Motor Forward Control

D

2 RD/BK

342

Battery Positive Voltage

E

2 L-BU

283

Driver Seat Rear Vertical Motor Down Control

F

2 L-GN

284

Driver Seat Horizontal Motor Rearward Control

G

2 YE

282

Driver Seat Rear Vertical Motor Up Control

H

2 GN

286

Driver Seat Front Vertical Motor Up Control

Seat Belt Pretensioner - Left


Object Number: 1593399  Size: CH

Connector Part Information

  • OEM: 1642628-1
  • Service: 88988308
  • Description: 2-Way F (YE)

Terminal Part Information

  • Terminal/Tray: Service with Pigtail
  • Core/Insulation Crimp: N/A
  • Release Tool/Test Probe: See Terminal Repair Kit

Seat Belt Pretensioner - Left

Pin

Wire

Circuit

Function

1

0.5 YE/WH

2119

Seat Belt Pretensioner - Left - Low Control

2

0.5 GY/WH

2118

Seat Belt Pretensioner - Left - High Control

Seat Belt Pretensioner - Right


Object Number: 1593399  Size: CH

Connector Part Information

  • OEM: 1642627-1
  • Service: 88988308
  • Description: 2-Way F (YE)

Terminal Part Information

  • Terminal/Tray: Service with Pigtail
  • Core/Insulation Crimp: N/A
  • Release Tool/Test Probe: See Terminal Repair Kit

Seat Belt Pretensioner - Right

Pin

Wire

Circuit

Function

1

0.5 L-BU/OG

2117

Seat Belt Pretensioner - Right - Low Control

2

0.5 GY/OG

2116

Seat Belt Pretensioner - Right - High Control

Seat Belt Switch - Left


Object Number: 1243663  Size: CH

Connector Part Information

  • OEM: 15332132
  • Service: 88953364
  • Description: 3-Way F GT 150 Series (BK)

Terminal Part Information

  • Terminal/Tray: 12191812/19
  • Core/Insulation Crimp: E/C
  • Release Tool/Test Probe: 15315247/J-35616-2A (GY)

Seat Belt Switch - Left

Pin

Wire

Circuit

Function

A

0.35 TN/WH

238

Seat Belt Switch - Left

B

--

--

Not Used

C

0.35 PK

5057

Low Reference

Seat Belt Switch - Right


Object Number: 1243663  Size: CH

Connector Part Information

  • OEM: 15332132
  • Service: 88953364
  • Description: 3-Way F GT 150 Series (BK)

Terminal Part Information

  • Terminal/Tray: 12191812/19
  • Core/Insulation Crimp: E/C
  • Release Tool/Test Probe: 15315247/J-35616-2A (GY)

Seat Belt Switch - Right

Pin

Wire

Circuit

Function

A

0.35 OG

1362

Seat Belt Switch - Right

B

--

--

Not Used

C

0.35 PK

5057

Low Reference

Seat Front Vertical Motor - Driver (AJ6)


Object Number: 1283891  Size: CH

Connector Part Information

  • OEM: 7283-1020
  • Service: 88952826
  • Description: 2-Way F 2.3 Series (WH)

Terminal Part Information

  • Terminal/Tray: See Terminal Repair Kit
  • Core/Insulation Crimp: See Terminal Repair Kit
  • Release Tool/Test Probe: See Terminal Repair Kit

Seat Front Vertical Motor - Driver (AJ6)

Pin

Wire

Circuit

Function

1

2 D-GN

286

Driver Seat Front Vertical Motor Down Control

2

2 D-BU

287

Driver Seat Front Vertical Motor Up Control

Seat Horizontal Motor - Driver (AJ6)


Object Number: 1283891  Size: CH

Connector Part Information

  • OEM: 7283-1020
  • Service: 88952826
  • Description: 2-Way F 2.3 Series (WH)

Terminal Part Information

  • Terminal/Tray: See Terminal Repair Kit
  • Core/Insulation Crimp: See Terminal Repair Kit
  • Release Tool/Test Probe: See Terminal Repair Kit

Seat Horizontal Motor - Driver (AJ6)

Pin

Wire

Circuit

Function

1

2 TN

285

Driver Seat Horizontal Motor Forward Control

2

2 L-GN

284

Driver Seat Horizontal Motor Rearward Control

Seat Lumbar Motor - Driver (AJ6)


Object Number: 1283891  Size: CH

Connector Part Information

  • OEM: 7283-1020
  • Service: 88952826
  • Description: 2-Way F 2.3 Series (WH)

Terminal Part Information

  • Terminal/Tray: See Terminal Repair Kit
  • Core/Insulation Crimp: See Terminal Repair Kit
  • Release Tool/Test Probe: See Terminal Repair Kit

Seat Lumbar Motor - Driver (AJ6)

Pin

Wire

Circuit

Function

1

2 TN

768

Driver Power Seat Lumbar Motor Up Control

2

2 PU

767

Driver Power Seat Lumbar Motor Down Control

Seat Rear Vertical Motor - Driver (AJ6)


Object Number: 1283891  Size: CH

Connector Part Information

  • OEM: 7283-1020
  • Service: 88952826
  • Description: 2-Way F 2.3 Series (WH)

Terminal Part Information

  • Terminal/Tray: See Terminal Repair Kit
  • Core/Insulation Crimp: See Terminal Repair Kit
  • Release Tool/Test Probe: See Terminal Repair Kit

Seat Rear Vertical Motor - Driver (AJ6)

Pin

Wire

Circuit

Function

1

2 YE

282

Driver Seat Rear Vertical Motor Up Control

2

2 L-BU

283

Driver Seat Rear Vertical Motor Down Control

Speaker - Left Front Door (UQ3)


Object Number: 130724  Size: CH

Connector Part Information

  • OEM: 12064869
  • Service: 12117323
  • Description: 2-Way F Metri-Pack 150 Series (BU)

Terminal Part Information

  • Terminal/Tray: 12064971/5
  • Core/Insulation Crimp: E/C
  • Release Tool/Test Probe: 12094429/J-35616-2A (GY)

Speaker - Left Front Door (UQ3)

Pin

Wire

Circuit

Function

A

0.5 GY

118

Left Front Speaker Output (-)

B

0.5 TN

201

Left Front Speaker Output (+)

Speaker - Left Front Door (UW5)


Object Number: 280768  Size: CH

Connector Part Information

  • OEM: 12052832
  • Service: 12101825
  • Description: 2-Way F Metri-Pack 150 Series (BK)

Terminal Part Information

  • Terminal/Tray: 12064971/5
  • Core/Insulation Crimp: E/C
  • Release Tool/Test Probe: 12094429/J-35616-2A (GY)

Speaker - Left Front Door (UW5)

Pin

Wire

Circuit

Function

A

0.35 GY

118

Left Front Speaker Output (-)

B

0.35 TN

201

Left Front Speaker Output (+)

Speaker - Left Front Tweeter


Object Number: 130642  Size: CH

Connector Part Information

  • OEM: 12103021
  • Service: 12106048
  • Description: 2-Way M Metri-Pack 150 Series (BU)

Terminal Part Information

  • Terminal/Tray: 12047581/2
  • Core/Insulation Crimp: E/C
  • Release Tool/Test Probe: 12094429/J-35616-3 (GY)

Speaker - Left Front Tweeter

Pin

Wire

Circuit

Function

A

0.35 GY

118

Left Front Speaker Output (-)

B

0.35 TN

201

Left Front Speaker Output (+)

Speaker - Left Rear Door (UQ3)


Object Number: 130687  Size: CH

Connector Part Information

  • OEM: 12064867
  • Service: 88987981
  • Description: 2-Way F Metri-Pack 150 Series (NA)

Terminal Part Information

  • Terminal/Tray: 12064971/5
  • Core/Insulation Crimp: E/C
  • Release Tool/Test Probe: 12094429/J-35616-2A (GY)

Speaker - Left Rear Door (UQ3)

Pin

Wire

Circuit

Function

A

0.5 YE

116

Left Rear Speaker Output (-)

B

0.5 BN

199

Left Rear Speaker Output (+)

Speaker - Left Rear Door (UW5)


Object Number: 280768  Size: CH

Connector Part Information

  • OEM: 15433787
  • Service: 12101825
  • Description: 2-Way F Metri-Pack 150 Series (GY)

Terminal Part Information

  • Terminal/Tray: 12064971/5
  • Core/Insulation Crimp: E/C
  • Release Tool/Test Probe: 12094429/J-35616-2A (GY)

Speaker - Left Rear Door (UW5)

Pin

Wire

Circuit

Function

A

0.5 YE

116

Left Rear Speaker Output (-)

B

0.5 BN

199

Left Rear Speaker Output (+)

Speaker - Right Front Door (UQ3)


Object Number: 130724  Size: CH

Connector Part Information

  • OEM: 12064869
  • Service: 12117323
  • Description: 2-Way F Metri-Pack 150 Series (BU)

Terminal Part Information

  • Terminal/Tray: 12064971/5
  • Core/Insulation Crimp: E/C
  • Release Tool/Test Probe: 12094429/J-35616-2A (GY)

Speaker - Right Front Door (UQ3)

Pin

Wire

Circuit

Function

A

0.5 D-GN

117

Right Front Speaker Output (-)

B

0.5 L-GN

200

Right Front Speaker Output (+)

Speaker - Right Front Door (UW5)


Object Number: 280768  Size: CH

Connector Part Information

  • OEM: 12052832
  • Service: 12101825
  • Description: 2-Way F Metri-Pack 150 Series (GY)

Terminal Part Information

  • Terminal/Tray: 12064971/5
  • Core/Insulation Crimp: E/C
  • Release Tool/Test Probe: 12094429/J-35616-2A (GY)

Speaker - Right Front Door (UW5)

Pin

Wire

Circuit

Function

A

0.35 D-GN

117

Right Front Speaker Output (-)

B

0.35 L-GN

200

Right Front Speaker Output (+)

Speaker - Right Front Tweeter


Object Number: 130642  Size: CH

Connector Part Information

  • OEM: 12103021
  • Service: 12106048
  • Description: 2-Way M Metri-Pack 150 Series (BU)

Terminal Part Information

  • Terminal/Tray: 12047581/2
  • Core/Insulation Crimp: E/C
  • Release Tool/Test Probe: 12094429/J-35616-3 (GY)

Speaker - Right Front Tweeter

Pin

Wire

Circuit

Function

A

0.35 D-GN

117

Right Front Speaker Output (-)

B

0.35 L-GN

200

Right Front Speaker Output (+)

Speaker - Right Rear Door (UQ3)


Object Number: 130687  Size: CH

Connector Part Information

  • OEM: 12064867
  • Service: 88987981
  • Description: 2-Way F Metri-Pack 150 Series (NA)

Terminal Part Information

  • Terminal/Tray: 12064971/5
  • Core/Insulation Crimp: E/C
  • Release Tool/Test Probe: 12094429/J-35616-2A (GY)

Speaker - Right Rear Door (UQ3)

Pin

Wire

Circuit

Function

A

0.5 L-BU

115

Right Rear Speaker Output (-)

B

0.5 D-BU

46

Right Rear Speaker Output (+)

Speaker - Right Rear Door (UW5)


Object Number: 280768  Size: CH

Connector Part Information

  • OEM: 15433787
  • Service: 12101825
  • Description: 2-Way F Metri-Pack 150 Series (GY)

Terminal Part Information

  • Terminal/Tray: 12064971/5
  • Core/Insulation Crimp: E/C
  • Release Tool/Test Probe: 12094429/J-35616-2A (GY)

Speaker - Right Rear Door (UW5)

Pin

Wire

Circuit

Function

A

0.5 L-BU

115

Right Rear Speaker Output (-)

B

0.5 D-BU

46

Right Rear Speaker Output (+)

Speaker - Subwoofer (UQ3)


Object Number: 130637  Size: CH

Connector Part Information

  • OEM: 12064760
  • Service: 12085208
  • Description: 4-Way F Metri-Pack 150 Series (BK)

Terminal Part Information

  • Terminal/Tray: 12064971/5
  • Core/Insulation Crimp: E/C
  • Release Tool/Test Probe: 12094429/J-35616-2A (GY)

Speaker - Subwoofer (UQ3)

Pin

Wire

Circuit

Function

A

0.5 L-BU/BK

315

Rear Subwoofer Speaker (-)

B

0.5 D-GN

1795

Rear Subwoofer Speaker (+)

C

0.5 D-BU/WH

346

Rear Subwoofer Speaker (-)

D

0.5 L-GN/BK

1794

Rear Subwoofer Speaker (-)

Starter X1


Object Number: 696940  Size: CH

Connector Part Information

  • OEM: 12089916
  • Service: See Catalog
  • Description: 1-Way F Metri-Pack 280 Series, Sealed (BK)

Terminal Part Information

  • Terminal/Tray: See Terminal Repair Kit
  • Core/Insulation Crimp: See Terminal Repair Kit
  • Release Tool/Test Probe: See Terminal Repair Kit

Starter X1

Pin

Wire

Circuit

Function

A

2 PU

6

Starter Solenoid Crank Voltage

Starter X2 (to Fuseblock - Underhood - X5)

Terminal Part Information

  • Terminal: 12161134
  • Core/Insulation Crimp: N/A
  • Description: Ring Terminal

Starter X2 (to Fuseblock - Underhood - X5)

Pin

Wire

Circuit

Function

+

32 RD

1

Battery Positive Voltage

Starter X2 (To Generator)

Terminal Part Information

  • Terminal: 12103501
  • Core/Insulation Crimp: N/A
  • Description: Ring Terminal

Starter X2 (To Generator)

Pin

Wire

Circuit

Function

+

5 RD

2

Battery Positive Voltage

Steering Angle Sensor (without JL9)


Object Number: 1835137  Size: CH

Connector Part Information

  • OEM: 1488752-1
  • Service: 88988374
  • Description: 6-Way F 64 GET Series (BK)

Terminal Part Information

  • Terminal/Tray: 1393366-1/16
  • Core/Insulation Crimp: K/K
  • Release Tool/Test Probe: 15315247/J-35616-64B (L-BU)

Steering Angle Sensor (without JL9)

Pin

Wire

Circuit

Function

1

0.35 GY

1056

12V Supply Voltage

2

--

--

Not used

3

0.5 PK/BK

6434

CAN Bus High Serial Data

4

0.5 GY/BK

6435

CAN Bus Low Serial Data

5

--

--

Not used

6

0.35 OG/BK

556

Ground

Steering Wheel Controls - Left


Object Number: 1333392  Size: CH

Connector Part Information

  • OEM: 50-57-9407
  • Service: Serviced by Complete Harness
  • Description: 7-Way F (BK)

Terminal Part Information

  • Terminal/Tray: Service by Harness
  • Core/Insulation Crimp: N/A
  • Release Tool/Test Probe: N/A

Steering Wheel Controls - Left

Pin

Wire

Circuit

Function

1

0.35 D-GN/WH

1358

Driver Information Center Switch Signal

2

--

--

Not Used

3

0.35 GY

8

Instrument Panel Lamp Dimmer Switch Signal (K34)

0.35 GY

8

Instrument Panel Lamp Dimmer Switch Signal (K34)

4

0.35 PK

339

Ignition 1 Voltage

5

0.35 GY/BK

1884

Cruise Control Switch Signal

6

--

--

Not Used

7

0.35 BK/WH

151

Ground (K34)

0.35 BK/WH

151

Ground (K34)

Steering Wheel Controls - Right (UK3)


Object Number: 605502  Size: CH

Connector Part Information

  • OEM: 50-57-9404
  • Service: Serviced by Complete Steering Wheel Harness
  • Description: 4-Way F (BK)

Terminal Part Information

  • Terminal/Tray: See Terminal Repair Kit
  • Core/Insulation Crimp: See Terminal Repair Kit
  • Release Tool/Test Probe: See Terminal Repair Kit

Steering Wheel Controls - Right (UK3)

Pin

Wire

Circuit

Function

1

0.35 BK

151

Ground

2

0.35 WH/BK

644

10-Volt Reference

3

0.35 GY

8

Instrument Panel Lamp Dimmer Switch Signal

4

0.35 D-BU

1796

Steering Wheel Controls Signal

Sunroof Control Module (CF5)


Object Number: 1469285  Size: CH

Connector Part Information

  • OEM: 7283-8398-40
  • Service: Serviced by Complete Sunroof Harness
  • Description: 14-Way F (L-GY)

Terminal Part Information

  • Terminal/Tray: See Terminal Repair Kit
  • Core/Insulation Crimp: See Terminal Repair Kit
  • Release Tool/Test Probe: See Terminal Repair Kit

Sunroof Control Module (CF5)

Pin

Wire

Circuit

Function

1

2 RD/WH

540

Battery Positive Voltage

2

0.35 TN

755

Sunroof Enable Signal

3

--

--

Not Used

4

2 BK

750

Ground

5

0.35 OG

5029

Sunroof Switch Open Signal

6

0.35 L-BU

5027

Sunroof Switch Close Signal

7

0.35 BN

5028

Sunroof Switch Express Signal

8

0.35 PU

5032

Sunroof Switch Open Vent Signal

9

0.35 L-GN

5030

Sunroof Switch Close Vent Signal

10

0.35 PK

5031

Sunroof Switch Express Vent Signal

11

--

--

Not Used

12

0.35 WH/RD

943

Config 1

13

0.35 WH/BU

944

Config 2

14

0.35 WH/GN

945

Config 3

Sunroof Switch (CF5)


Object Number: 1283887  Size: CH

Connector Part Information

  • OEM: 5057-9408
  • Service: 89046705
  • Description: 8-Way F GT 280 Series (BK)

Terminal Part Information

  • Terminal/Tray: 16-02-1110/20
  • Core/Insulation Crimp: H/H
  • Release Tool/Test Probe: J-38125-213/J-35616-64B (L-BU)

Sunroof Switch (CF5)

Pin

Wire

Circuit

Function

1

0.35 BN

5028

Sunroof Switch Express Signal

2

0.35 PU

5032

Sunroof Switch Open Vent Signal

3

--

--

Not Used

4

0.35 L-BU

5027

Sunroof Switch Close Signal

5

0.35 BK

750

Ground

6

0.35 OG

5029

Sunroof Switch Open Signal

7

0.35 PK

5031

Sunroof Switch Express Vent Signal

8

0.35 L-GN

5030

Sunroof Switch Close Vent Signal

Tail/Stop and Turn Signal Lamp - Left


Object Number: 847206  Size: CH

Connector Part Information

  • OEM: 12040977
  • Service: 12085492
  • Description: 3-Way F Metri-Pack 280 Series Sealed (BK)

Terminal Part Information

  • Terminal/Tray: 12077411/2
  • Core/Insulation Crimp: 2/5
  • Release Tool/Test Probe: 12094430/J-35616-4A (PU)

Tail/Stop and Turn Signal Lamp - Left

Pin

Wire

Circuit

Function

A

0.5 YE

18

Left Rear Stop/Turn Lamp Supply Voltage

B

0.5 BN

9

Park Lamp Supply Voltage

C

0.5 BK

750

Ground

Tail/Stop and Turn Signal Lamp - Right


Object Number: 847206  Size: CH

Connector Part Information

  • OEM: 12040977
  • Service: 12085492
  • Description: 3-Way F Metri-Pack 280 Series Sealed (BK)

Terminal Part Information

  • Terminal/Tray: 12077411/2
  • Core/Insulation Crimp: 2/5
  • Release Tool/Test Probe: 12094430/J-35616-4A (PU)

Tail/Stop and Turn Signal Lamp - Right

Pin

Wire

Circuit

Function

A

0.5 D-GN

19

Right Rear Stop/Turn Lamp Supply Voltage

B

0.5 BN

9

Park Lamp Supply Voltage

C

0.5 BK

850

Ground

Theft Deterrent Control Module


Object Number: 605511  Size: CH

Connector Part Information

  • OEM: 50-57-9705
  • Service: 88988353
  • Description: 5-Way F (BK)

Terminal Part Information

  • Terminal/Tray: See Terminal Repair Kit
  • Core/Insulation Crimp: See Terminal Repair Kit
  • Release Tool/Test Probe: See Terminal Repair Kit

Theft Deterrent Control Module

Pin

Wire

Circuit

Function

1

0.35 RD/WH

1540

Battery Positive Voltage

2

0.35 BN

4

Accessory Voltage

3

0.35 BK/WH

651

Ground

4

0.35 L-GN

5060

Low Speed GMLAN Serial Data

5

--

--

Not Used

Throttle Body


Object Number: 1664617  Size: CH

Connector Part Information

  • OEM: 15355297
  • Service: See Catalog
  • Description: 6-Way F GT 150 Series, Sealed (BK)

Terminal Part Information

  • Terminal/Tray: See Terminal Repair Kit
  • Core/Insulation Crimp: See Terminal Repair Kit
  • Release Tool/Test Probe: See Terminal Repair Kit

Throttle Body

Pin

Wire

Circuit

Function

A

0.5 BN

582

TAC Motor Control - 2 (LE8/LE9)

0.8 YE

582

TAC Motor Control - 2 (LNF)

B

0.5 YE

581

TAC Motor Control - 1 (LE8/LE9)

0.8 YE

581

TAC Motor Control - 1 (LNF)

C

0.35 TN

2752

Low Reference

D

0.35 D-GN

485

TP Sensor 1 Signal

E

0.35 GY

2701

5-Volt Reference 3

F

0.35 PU

486

TP Sensor 2 Signal

Torque Converter Clutch Pulse Width Modulated (TCC PWM) Solenoid Valve (MN5)


Object Number: 95784  Size: CH

Connector Part Information

  • OEM: 12162202
  • Service: Non-Serviceable
  • Description: 2-Way F Metri-Pack 150.2 Series P2S (BU)

Terminal Part Information

  • Terminal/Tray: See Terminal Repair Kit
  • Core/Insulation Crimp: See Terminal Repair Kit
  • Release Tool/Test Probe: See Terminal Repair Kit

Torque Converter Clutch Pulse Width Modulated (TCC PWM) Solenoid Valve (MN5)

Pin

Wire

Circuit

Function

A

0.35 RD

839

Ignition 1 Voltage

B

0.35 TN/BK

422

Torque Converter Clutch Pulse Width Modulated (TCC PWM) Solenoid Valve Control

Traction Control Switch (JL4/JL9)


Object Number: 39660  Size: CH

Connector Part Information

  • OEM: 12047785
  • Service: See Catalog
  • Description: 4-Way F Metri-Pack 150 Series (BK)

Terminal Part Information

  • Terminal/Tray: See Terminal Repair Kit
  • Core/Insulation Crimp: See Terminal Repair Kit
  • Release Tool/Test Probe: See Terminal Repair Kit

Traction Control Switch (JL4/JL9)

Pin

Wire

Circuit

Function

A

0.35 BK/WH

651

Ground

B

--

--

Not Used

C

0.35 L-BU

1788

Traction Control Switch Signal

D

0.35 GY

8

Instrument Panel Lamps Dimming

Transmission Control Module (TCM) (MN5)


Object Number: 1372727  Size: CH

Connector Part Information

  • OEM: 15480141
  • Service: See Catalog
  • Description: 49-Way F Micro-64 GT 280 Series Sealed (BK)

Terminal Part Information

  • Pins: 1-30, 32-41, 43-48
  • Terminal/Tray: 15359541/4
  • Core/Insulation Crimp: M/M
  • Release Tool/Test Probe: 15381651-2/J-35616-64B (L-BU)
  • Pins: 31, 42
  • Terminal/Tray: 15359541/4
  • Core/Insulation Crimp: M/M
  • Release Tool/Test Probe: 15381651-/J-35616-64B (L-BU)
  • Pin 49
  • Terminal/Tray: 15491972/24
  • Core/Insulation Crimp: E/5
  • Release Tool/Test Probe: 15315247 J-35616-4A (PU)

Transmission Control Module (TCM) (MN5)

Pin

Wire

Circuit

Function

1

0.35 TN/BK

422

Torque Converter Clutch Pulse Width Modulated (TCC PWM) Solenoid Valve Control

2

0.35 L-GN

1222

1-2 Shift Solenoid (SS) Valve Control

3

0.35 OG/BK

1230

Input Speed Sensor (ISS) High Signal

4-5

--

--

Not Used

6

0.35 TN

2501

High Speed GMLAN Serial Data Bus - (CAN)

7

0.35 TN/BK

2500

High Speed GMLAN Serial Data Bus + (CAN)

8

--

--

Not Used

9

0.35 YE

657

TCC Release Switch Signal

10

--

--

Not Used

11

0.35 BN

4

Accessory Voltage

12-15

--

--

Not Used

16

0.35 PU

401

Output Speed Sensor (OSS) Low Signal

17

0.35 L-BU/WH

1229

Pressure Control (PC) Solenoid Valve Low Control

18-19

--

--

Not Used

20

0.35 YE/BK

1223

2-3 SS Valve Control

21-22

--

--

Not Used

23

0.35 GY

773

Transmission Range Switch Signal C

24-25

--

--

Not Used

26

0.35 D-BU/WH

1231

ISS Low Signal

27-28

--

--

Not Used

29

0.35 TN/WH

771

Transmission Range Switch Signal A

30

0.35 TN

2762

Transmission Fluid Temperature (TFT) Sensor Low Reference

31

0.5 PK

1039

Ignition 1 Voltage

32

0.5 RD/WH

840

Battery Positive Voltage

33

0.35 OG

1226

Transmission Fluid Pressure (TFP) Switch Signal C

34

--

--

Not Used

35

0.35 YE/BK

1227

TFT Sensor Signal

36

--

--

Not Used

37

0.35 TN

2501

High Speed GMLAN Serial Data Bus - (CAN)

38

0.35 TN/BK

2500

High Speed GMLAN Serial Data Bus + (CAN)

39

0.35 WH

776

Transmission Range Switch Signal P

40

0.35 OG/BK

1228

PC Solenoid Valve High Control

41

0.35 YE

400

OSS High Signal

42

0.5 L-BU

20

Stop Lamp Switch Signal

43

--

--

Not Used

44

0.35 D-BU

1225

TFP Switch Signal B

45

--

--

Not Used

46

0.35 YE

772

Transmission Range Switch Signal B

47-48

--

--

Not Used

49

0.5 BK/WH

451

Ground

Turbo Bypass Valve Solenoid (LNF)


Object Number: 1826250  Size: CH

Connector Part Information

  • OEM: 1928402571
  • Service: 19115592
  • Description: 2-Way F Sealed (BK)

Terminal Part Information

  • Terminal/Tray: 4-964286-1/16
  • Core/Insulation Crimp: E/1
  • Release Tool/Test Probe: J-38125-36/J-35616-35 (VT)

Turbo Bypass Valve Solenoid (LNF)

Pin

Wire

Circuit

Function

1

0.5 D-GN

6391

Turbo Bypass Valve Control

2

0.5 PK/BK

5293

Powertrain Main Relay Fused Supply (4)

Turbocharger Wastegate Solenoid (LNF)


Object Number: 1826250  Size: CH

Connector Part Information

  • OEM: 1928402571
  • Service: 19115592
  • Description: 2-Way F Sealed (BK)

Terminal Part Information

  • Terminal/Tray: 4-964286-1/16
  • Core/Insulation Crimp: E/1
  • Release Tool/Test Probe: J-38125-36 J-35616-35 (VT)

Turbocharger Wastegate Solenoid (LNF)

Pin

Wire

Circuit

Function

1

0.5 YE

258

Wastegate Solenoid Control

2

0.5 PK/BK

5293

Powertrain Main Relay Fused Supply (4)

Turn Signal/Multifunction Switch X1


Object Number: 1376709  Size: CH

Connector Part Information

  • OEM: NACP-08-S
  • Service: 88987843
  • Description: 8-Way F JST NAC-I Series (WH)

Terminal Part Information

  • Terminal/Tray: See Terminal Repair Kit
  • Core/Insulation Crimp: See Terminal Repair Kit
  • Release Tool/Test Probe: See Terminal Repair Kit

Turn Signal/Multifunction Switch X1

Pin

Wire

Circuit

Function

1

0.35 BK/WH

651

Ground

2

0.35 WH

103

Headlamp Switch On Signal

3

0.35 BN/WH

301

Park Lamp Switch On Signal

4

0.35 PU/WH

549

Headlamp Switch Headlamps Off Signal

5-8

--

--

Not Used

Turn Signal/Multifunction Switch X2


Object Number: 845610  Size: CH

Connector Part Information

  • OEM: 15393435
  • Service: 88986438
  • Description: 10-Way F Micro 64 (GY)

Terminal Part Information

  • Terminal/Tray: 12177007/19
  • Core/Insulation Crimp: E/2
  • Release Tool/Test Probe: 12180559-1/J-35616-64B (L-BU)

Turn Signal/Multifunction Switch X2

Pin

Wire

Circuit

Function

A

--

--

Not Used

B

0.35 BK/WH

651

Ground

C

0.35 BN

1356

Flash To Pass Switch Signal

D

0.35 PU

524

Headlamp Dimmer Switch High Beam Signal

E

0.35 PK/WH

1970

Headlamp Low Beam Relay Control

F

0.35 YE

10

Headlamp Switch Signal

G

0.35 YE/BK

1418

Left Rear Turn Signal Switch Signal

H

0.35 D-GN/WH

1419

Right Rear Turn Signal Switch Signal

J-K

--

--

Not Used

Vehicle Communication Interface Module (VCIM) X1 (UE1)


Object Number: 1471689  Size: CH

Connector Part Information

  • OEM: 15431362
  • Service: 15306351
  • Description: 16-Way F Micro 100A (NA)

Terminal Part Information

  • Terminal/Tray: 15355438/20
  • Core/Insulation Crimp: E/C
  • Release Tool/Test Probe: 15315247/J-35616-12 (BU)

Vehicle Communication Interface Module (VCIM) X1 (UE1)

Pin

Wire

Circuit

Function

1

--

--

Not Used

2

0.35 BN/WH

2517

Keypad Red LED Signal

3

0.35 YE/BK

2516

Keypad Green LED Signal

4-5

--

--

Not Used

6

0.35 L-GN/BK

2515

Keypad Supply Voltage

7

--

--

Not Used

8

0.5 BK/WH

851

Ground

9-10

--

--

Not Used

11

0.35 D-GN/WH

2514

Keypad Signal

12-14

--

--

Not Used

15

0.5 RD/WH

1340

Battery Positive Voltage

16

--

--

Not Used

Vehicle Communication Interface Module (VCIM) X2 (UE1)


Object Number: 1471691  Size: CH

Connector Part Information

  • OEM: 15431365
  • Service: 88952886
  • Description: 12-Way F Micro 100A (WH)

Terminal Part Information

  • Terminal/Tray: 15355438/20
  • Core/Insulation Crimp: E/C
  • Release Tool/Test Probe: 15315247/J-35616-12 (BU)

Vehicle Communication Interface Module (VCIM) X2 (UE1)

Pin

Wire

Circuit

Function

1

0.35 PK/BK

2062

Cellular Telephone Voice Signal

2

0.35 OG/BK

2061

Cellular Telephone Voice Signal Low Reference

3-7

--

--

Not Used

8

0.5 Bare

813

Drain Wire

9

0.35 GY

655

Cellular Microphone Signal

10

0.5 Bare

1489

Drain Wire

11-12

--

--

Not Used

Vehicle Communication Interface Module (VCIM) X3 (UE1)


Object Number: 1471691  Size: CH

Connector Part Information

  • OEM: 15431368
  • Service: 88988545
  • Description: 12-Way F Micro 100A (BK)

Terminal Part Information

  • Terminal/Tray: 15355438/20
  • Core/Insulation Crimp: E/C
  • Release Tool/Test Probe: 15315247/J-35616-12 (BU)

Vehicle Communication Interface Module (VCIM) X3 (UE1)

Pin

Wire

Circuit

Function

1

0.35 D-GN

5060

Low Speed GMLAN Serial Data

2

0.35 TN/BK

2500

High Speed GMLAN Serial Data Bus (+) (-JM4)

3

0.35 TN

2501

High Speed GMLAN Serial Data Bus (-) (-JM4)

4-7

--

--

Not Used

8

0.35 TN/BK

2500

High Speed GMLAN Serial Data Bus (+) (JM4)

9

0.35 TN

2501

High Speed GMLAN Serial Data Bus (-) (JM4)

10-12

--

--

Not Used

Vehicle Speed Sensor (VSS) (MN5)


Object Number: 655692  Size: CH

Connector Part Information

  • OEM: 12162195
  • Service: 88987993
  • Description: 2-Way F Metri-Pack 150.2 Series P2S (BK)

Terminal Part Information

  • Terminal/Tray: Service as Harness
  • Core/Insulation Crimp: N/A
  • Release Tool/Test Probe: N/A

Vehicle Speed Sensor (VSS) (MN5)

Pin

Wire

Circuit

Function

A

0.35 PU

401

OSS Low Signal

B

0.35 YE

400

OSS High Signal

Vehicle Speed Sensor (VSS) (M86)


Object Number: 1538760  Size: CH

Connector Part Information

  • OEM: 15449028
  • Service: See Catalog
  • Description: 2-Way F GT 150 Series Sealed Delphi Packard (BK)

Terminal Part Information

  • Terminal/Tray: See Catalog
  • Core/Insulation Crimp: See Catalog
  • Release Tool/Test Probe: See Catalog

Vehicle Speed Sensor (VSS) (M86)

Pin

Wire

Circuit

Function

A

0.5 PU/WH

6356

VSS Low Signal

B

0.5 BN/WH

6354

VSS High Signal

Vehicle Speed Sensor (VSS) (MU3)


Object Number: 646406  Size: CH

Connector Part Information

  • OEM: 15336004
  • Service: 19178093
  • Description: 2-Way F GT 150 Series Sealed Delphi Packard (BK)

Vehicle Speed Sensor (VSS) (MU3)

Pin

Wire

Circuit

Function

A

0.5 PU

401

VSS Low Signal

B

0.5 YE

400

VSS High Signal

Wheel Speed Sensor (WSS) - Left Front


Object Number: 537107  Size: CH

Connector Part Information

  • OEM: 12052644
  • Service: 22710405
  • Description: 2-Way F Metri-Pack 150 Series Sealed (GY)

Terminal Part Information

  • Terminal/Tray: 12048074/2
  • Core/Insulation Crimp: E/1
  • Release Tool/Test Probe: 12094429/J-35616-2A (GY)

Wheel Speed Sensor (WSS) - Left Front

Pin

Wire

Circuit

Function

A

0.8 D-GN

872

Left Front Wheel Speed Sensor Signal

B

0.8 TN

833

Left Front Wheel Speed Sensor Low Reference

Wheel Speed Sensor (WSS) - Left Rear


Object Number: 287974  Size: CH

Connector Part Information

  • OEM: 15305168
  • Service: 12167117
  • Description: 2-Way F Metri-Pack 150 Series Sealed (GY)

Terminal Part Information

  • Terminal/Tray: 12048074/2
  • Core/Insulation Crimp: E/1
  • Release Tool/Test Probe: 12094429/J-35616-2A (GY)

Wheel Speed Sensor (WSS) - Left Rear

Pin

Wire

Circuit

Function

A

0.8 TN

884

Left Rear Wheel Speed Sensor Signal

B

0.8 OG

885

Left Rear Wheel Speed Sensor Low Reference

Wheel Speed Sensor (WSS) - Right Front


Object Number: 537107  Size: CH

Connector Part Information

  • OEM: 12052644
  • Service: 22710405
  • Description: 2-Way F Metri-Pack 150 Series Sealed (GY)

Terminal Part Information

  • Terminal/Tray: 12048074/2
  • Core/Insulation Crimp: E/1
  • Release Tool/Test Probe: 12094429/J-35616-2A (GY)

Wheel Speed Sensor (WSS) - Right Front

Pin

Wire

Circuit

Function

A

0.8 D-GN

872

Right Front Wheel Speed Sensor Signal

B

0.8 TN

833

Right Front Wheel Speed Sensor Low Reference

Wheel Speed Sensor (WSS) - Right Rear


Object Number: 287974  Size: CH

Connector Part Information

  • OEM: 15305168
  • Service: 12167117
  • Description: 2-Way F Metri-Pack 150 Series Sealed (GY)

Terminal Part Information

  • Terminal/Tray: 12048074/2
  • Core/Insulation Crimp: E/1
  • Release Tool/Test Probe: 12094429/J-35616-2A (GY)

Wheel Speed Sensor (WSS) - Right Rear

Pin

Wire

Circuit

Function

A

0.8 BN

882

Right Rear Wheel Speed Sensor Signal

B

0.8 WH

883

Right Rear Wheel Speed Sensor Low Reference

Window Motor - Driver


Object Number: 684837  Size: CH

Connector Part Information

  • OEM: 12129487
  • Service: 88988609
  • Description: 2-Way F Metri-Pack 280 Series Sealed (GY)

Terminal Part Information

  • Terminal/Tray: 12110845/4
  • Core/Insulation Crimp: A/5
  • Release Tool/Test Probe: 15315247/J-35616-4A (PU)

Window Motor - Driver

Pin

Wire

Circuit

Function

A

3 BN

165

Power Window Motor Left Front Down Control

B

3 D-BU

164

Power Window Motor Left Front Up Control

Window Motor - Left Rear (without Panel Van)


Object Number: 684837  Size: CH

Connector Part Information

  • OEM: 12129487
  • Service: 88988609
  • Description: 2-Way F Metri-Pack 280 Series Sealed (GY)

Terminal Part Information

  • Terminal/Tray: 12110845/4
  • Core/Insulation Crimp: F/5
  • Release Tool/Test Probe: 15315247/J-35616-4A (PU)

Window Motor - Left Rear (without Panel Van)

Pin

Wire

Circuit

Function

A

3 BN

669

Power Window Motor Left Rear Down Control

B

3 D-BU

668

Power Window Motor Left Rear Up Control

Window Motor - Passenger


Object Number: 684837  Size: CH

Connector Part Information

  • OEM: 12129487
  • Service: 88988609
  • Description: 2-Way F Metri-Pack 280 Series Sealed (GY)

Terminal Part Information

  • Terminal/Tray: 12110845/4
  • Core/Insulation Crimp: A/5
  • Release Tool/Test Probe: 15315247/J-35616-4A (PU)

Window Motor - Passenger

Pin

Wire

Circuit

Function

A

2 BN

667

Power Window Motor Right Front Down Control

B

2 D-BU

666

Power Window Motor Right Front Up Control

Window Motor - Right Rear (without Panel Van)


Object Number: 684837  Size: CH

Connector Part Information

  • OEM: 12129487
  • Service: 88988609
  • Description: 2-Way F Metri-Pack 280 Series Sealed (GY)

Terminal Part Information

  • Terminal/Tray: 12110845/4
  • Core/Insulation Crimp: F/5
  • Release Tool/Test Probe: 15315247/J-35616-4A (PU)

Window Motor - Right Rear (without Panel Van)

Pin

Wire

Circuit

Function

A

3 BN

671

Power Window Motor Right Rear Down Control

B

3 D-BU

670

Power Window Motor Right Rear Up Control

Window Switch - Driver X1


Object Number: 1716517  Size: CH

Connector Part Information

  • OEM: 7283-9028-30
  • Service: See Catalog
  • Description: 8-Way F YESC Kaizen Series (BK)

Terminal Part Information

  • Terminal/Tray: See Terminal Repair Kit
  • Core/Insulation Crimp: See Terminal Repair Kit
  • Release Tool/Test Probe: See Terminal Repair Kit

Window Switch - Driver X1

Pin

Wire

Circuit

Function

1

0.35 GY

8

Instrument Panel lamps Dimmer Switch Signal

2

0.35 D-BU

1307

Left Rear Window Switch Lockout Signal

3

0.35 PU

169

Left Rear Window Down Signal

4

0.35 D-GN

168

Left Rear Window Up Signal

5

0.35 TN

167

Passenger Window Down Signal

6

0.35 L-BU

166

Passenger Window Up Signal

7

0.35 PU

171

Right Rear Window Down Signal

8

0.35 L-GN

170

Right Rear Window Up Signal

Window Switch - Driver X2


Object Number: 556473  Size: CH

Connector Part Information

  • OEM: 15326924
  • Service: 15306174
  • Description: 8-Way F GT 280 Series (BK)

Terminal Part Information

  • Terminal/Tray: See Terminal Repair Kit
  • Core/Insulation Crimp: See Terminal Repair Kit
  • Release Tool/Test Probe: See Terminal Repair Kit

Window Switch - Driver X2

Pin

Wire

Circuit

Function

A

3 BK

1250

Ground

B

--

--

Not Used

C

--

--

Not Used

D

3 BN

165

Driver Window Motor Down Control

E

3 D-BU

164

Driver Window Motor Up Control

F

0.35 L-BU/WH

280

Right Rear Window Switch Lockout Signal

G

0.35 YE

43

Retained Accessory Power Fuse Supply Voltage

H

3 D-GN

801

PWR WINDOW/DOOR Fuse Supply Voltage

Window Switch - Passenger


Object Number: 556473  Size: CH

Connector Part Information

  • OEM: 15326924
  • Service: 15306174
  • Description: 8-Way F GT 280 Series (BK)

Terminal Part Information

  • Terminal/Tray: See Terminal Repair Kit
  • Core/Insulation Crimp: See Terminal Repair Kit
  • Release Tool/Test Probe: See Terminal Repair Kit

Window Switch - Passenger

Pin

Wire

Circuit

Function

A

0.35 L-BU

166

Master Switch Window Up Signal

B

0.35 GY

8

Instrument Panel Lamps Dimmer Switch Signal

C

0.35 TN

167

Master Switch Window Down Signal

D

0.35 YE

43

Retained Accessory Power Fuse Supply Voltage

E

2 D-BU

666

Passenger Window Motor Up Control

F

2 BK/WH

1551

Ground

G

2 D-GN

801

PWR WINDOW/DOOR Fuse Supply Voltage

H

2 BN

667

Passenger Window Motor Down Control

Window Switch - Left Rear (without Panel Van)


Object Number: 556473  Size: CH

Connector Part Information

  • OEM: 15326924
  • Service: 15306174
  • Description: 8-Way F GT 280 Series (BK)

Terminal Part Information

  • Terminal/Tray: See Terminal Repair Kit
  • Core/Insulation Crimp: See Terminal Repair Kit
  • Release Tool/Test Probe: See Terminal Repair Kit

Window Switch - Left Rear (without Panel Van)

Pin

Wire

Circuit

Function

A

0.35 D-GN

168

Master Switch Window Up Signal

B

--

--

Not Used

C

0.35 PU

169

Master Switch Window Down Signal

D

0.35 D-BU

1307

Master Switch Lockout/Enable Signal

E

3 D-BU

668

Left Rear Window Motor Up Control

F

2 BK

1250

Ground

G

2 D-GN

801

PWR WINDOW/DOOR Fuse Supply Voltage

H

2 BN

669

Left Rear Window Motor Down Control

Window Switch - Right Rear (without Panel Van)


Object Number: 556473  Size: CH

Connector Part Information

  • OEM: 15326924
  • Service: 15306174
  • Description: 8-Way F GT 280 Series (BK)

Terminal Part Information

  • Terminal/Tray: See Terminal Repair Kit
  • Core/Insulation Crimp: See Terminal Repair Kit
  • Release Tool/Test Probe: See Terminal Repair Kit

Window Switch - Right Rear (Sport)

Pin

Wire

Circuit

Function

A

0.35 L-GN

170

Master Switch Window Up Signal

B

--

--

Not Used

C

0.35 PU

171

Master Switch Window Down Signal

D

0.35 L-BU/WH

280

Master Switch Lockout/Enable Signal

E

3 D-BU

670

Right Rear Window Motor Up Control

F

2 BKWH

1551

Ground

G

2 D-GN

801

PWR WINDOW/DOOR Fuse Supply Voltage

H

3 BN

671

Right Rear Window Motor Down Control

Windshield Washer Fluid Pump


Object Number: 635009  Size: CH

Connector Part Information

  • OEM: 12052641
  • Service: 12102747
  • Description: 2-Way F Metri-Pack 150 Series (BK)

Terminal Part Information

  • Terminal/Tray: 12048074/2
  • Core/Insulation Crimp: E/1
  • Release Tool/Test Probe: 12094429/J-35616-2A (GY)

Windshield Washer Fluid Pump

Pin

Wire

Circuit

Function

A

0.5 OG

228

Windshield Washer Pump Control

B

0.5 D-GN

392

Rear Window Washer Pump Control

Windshield Wiper Motor Assembly


Object Number: 684908  Size: CH

Connector Part Information

  • OEM: 15326631
  • Service: 15306360
  • Description: 4-Way F GT 280 Series Sealed (BK)

Terminal Part Information

  • Terminal/Tray: 15304719/19
  • Core/Insulation Crimp: Pins A, C, D - 2/5
  • Core/Insulation Crimp: Pins B - E/5
  • Release Tool/Test Probe: 15315247/J-35616-4A (PU)

Windshield Wiper Motor Assembly

Pin

Wire

Circuit

Function

A

1 BK

150

Ground

B

0.35 YE

196

Windshield Wiper Motor Park Switch Signal

C

1 PU

92

Windshield Wiper Motor High Speed Control

D

1 D-GN

95

Windshield Wiper Motor Low Speed Control

Windshield Wiper/Washer Switch


Object Number: 130718  Size: CH

Connector Part Information

  • OEM: 12059800
  • Service: 15306169
  • Description: 5-Way F Metri-Pack 150 Series (BK)

Terminal Part Information

  • Terminal/Tray: 12064971/5
  • Core/Insulation Crimp: E/C
  • Release Tool/Test Probe: 12094429/J-35616-2A (GY)

Windshield Wiper/Washer Switch

Pin

Wire

Circuit

Function

A

--

--

Not Used

B

0.35 OG

228

Windshield Washer Pump Control

C

0.35 L-GN

1715

Windshield Wiper Switch High Signal

D

0.35 PK

439

Ignition 1 Voltage

E

0.35 GY

112

Windshield Wiper Switch Signal 1

Yaw and Lateral Acceleration Sensor (JL4)


Object Number: 810084  Size: CH

Connector Part Information

  • OEM: 1-967640-1
  • Service: See Catalog
  • Description: 6-Way F MQS Socket Housing, Sealed (GY)

Terminal Part Information

  • Terminal/Tray: See Terminal Repair Kit
  • Core/Insulation Crimp: See Terminal Repair Kit
  • Release Tool/Test Probe: See Terminal Repair Kit

Yaw and Lateral Acceleration Sensor (JL4)

Pin

Wire

Circuit

Function

1

0.5 L-BU

2088

Low Reference

2

0.5 L-BU

6435

CAN Bus Low Serial Data

3

0.5 PK/BK

6434

CAN Bus High Serial Data

4

0.5 D-GN

2087

12-Volt Reference

5-6

--

--

Not Used