GM Service Manual Online
For 1990-2009 cars only
Connector 1: Fuse Block - Underhood Label
Connector 2: Fuse Block - Underhood Top View
Connector 3: Fuse Block - Underhood Bottom View
Connector 4: Fuse Block - Underhood X1
Connector 5: Fuse Block - Underhood X2
Connector 6: Fuse Block - Underhood X3
Connector 7: Fuse Block - Underhood X4
Connector 8: Fuse Block - Underhood X5 (To Starter/Generator)
Connector 9: Fuse Block - Underhood X5 (To Battery)
Connector 10: Fuse Block - Underhood X6 (To Electronic Power Steering) (LE8/LE9)
Connector 11: Fuse Block - Underhood X6 (To Electronic Power Steering) (LNF)
Connector 12: Underhood Relay Block (Wire Entry)
Connector 13: Body Control Module (BCM) Label
Connector 14: Body Control Module (BCM) - Top View
Connector 15: Body Control Module (BCM) - Bottom View
Connector 16: Body Control Module (BCM) X1
Connector 17: Body Control Module (BCM) X2
Connector 18: Body Control Module (BCM) X3
Connector 19: Body Control Module (BCM) X4
Connector 20: Fuse Block - Rear Access Panel Top View (Panel Van)
Connector 21: Fuse Block - Rear Access Panel (Wire Entry) (Panel Van)

Fuse Block - Underhood Label


Object Number: 1956569  Size: MF

Fuse Block - Underhood Label Usage

No.

Device

Rating

Description

1

EPS

60A

Electronic Power Steering (EPS) Control Module

2

REAR DEFOG

40A

Rear Window Defog Relay

3

Empty

--

Not Used

4

BCM 3

30A

Body Control Module

5

CRNK

30A

Crank Relay

6

BCM 2

40A

Body Control Module

7

REAR PWR PLUG

40A

Rear Power Plug (Panel Van)

Cooling Fan

40A

Cooling Fan Control Module (LNF)

Not Used

--

Without Panel Van or LNF

8

VAC PUMP LNF

30A

LNF Engine with Brake Booster Vacuum Pump

Empty

--

Without LNF

9

DIODE A/C CLTCH

--

A/C Compressor Clutch

10

L-GATE/S-ROOF

20A

Liftgate Release Relay and Sunroof Module

11

Empty

--

Not Used

12

REAR AUX PWR OUTLET

20A

Rear Auxiliary Power Outlet (Panel Van)

Empty

--

Not Used (without Panel Van)

13

FUEL PUMP

15A

Fuel Pump Relay

14

REAR DEFOG Relay

--

Rear Window Defogger Grid

15

A/C CLTCH Relay

--

A/C Compressor Clutch Diode and A/C Compressor Clutch

16

Empty

--

Not Used

17

REAR WPR Relay

--

Rear Window Wiper Motor

18

L/GATE RELSE Relay

--

Door Latch - Liftgate

19

FUEL PUMP Relay

--

Fuel Pump and Sender Assembly

20

REAR WPR

15A

Rear Wpr Relay

21

MIR

5A

Outside Rearview Mirror Switch

22

A/C

10A

A/C Clutch Relay

23

HTD/SEAT

20A

Heated Seat Control Module Passenger and Heated Seat Control Module Driver

24

VAC PUMP LNF Relay

--

LNF Engine with Brake Booster Vacuum Pump

Empty

--

without LNF

25

Fuse Puller

--

Fuse Puller

26

PWR/TRN Relay

--

ECM Fuse, INJ IGN MOD Fuse, EXH Fuse and A/C CLTCH Relay

27

Empty

--

Not Used

28

DRL Relay

--

DRL Fuse (-LNF)

29

FRT AUX PWR OUTLET

20A

Cigar Lighter and Data Link Connector

30

PWR OUTLET

20A

Auxiliary Power Outlet Console

31

DRL

10A

LT LO BEAM Fuse and Headlamp - Left (-LNF)

32

LNF COOL FAN

40A

LNF Engine

Empty

--

without LNF

33

EXH

10A

MAF/IAT Sensor, Heated Oxygen Sensors (HO2S), Evaporative Emission (EVAP) Canister Purge Solenoid, Clutch Pedal Position (CPP) Switch

34

CRNK Relay

--

Starter

35

Empty

--

Not Used

36

PWR WINDOW/DOORS

30A

Power Windows

37

PWR SEAT

30A

Lumbar Adjuster Switch - Driver and Seat Adjuster Switch - Driver

38

Empty

--

Not Used

39

WSW PUMP Relay

--

Windshield Washer Fluid Pump

40

COOL FAN

30A

Cooling Fan (-LNF)

Empty

--

Not Used (with LNF)

41

ECM

20A

Engine Control Module

42

PRWTN

10A

LNF Engine

Empty

--

Not Used (without LNF)

43

ECM TRANS

15A

Transmission Control Module, Automatic Transaxle and Engine Control Module

44

ABS

30A (JM4)

Electronic Brake Control Module (EBCM)

40A (JL4)

45

INJ IGN MDL

15A

Fuel Injectors, Ignition Control Module (L61), and Ignition Coil Modules (LE5)

46

PRK/NEUT

10A

Park Neutral Position (PNP) Switch (MN5)

BACK UP/LPS

10A

Back Up Lamps (LNF/M86)

47

HTD/SEAT

10A

Park Neutral Position (PNP) Switch (MN5), Back Up Lamp Switch (M86-LNF), and Seat Heater Control Modules

48

REAR WSW Relay

--

Windshield Washer Fluid Pump

49

WSW PUMP

15A

Rear WSW Relay and WSW Pump Relay

50

COOL FAN Relay

--

Cooling Fan (without LNF)

Empty

--

Not Used (LNF)

51

RUN/CRANK Relay

--

I/P IGN Fuse, PRK/NEUT Fuse, ABS Fuse, ECM TRANS Fuse and BCK UP/HTD SEAT Fuse

52

WPR LO/HIGH Relay

--

Windshield Wiper Motor Assembly

53

FOG LAMP

15A

Fog Lamp Relay

54

FOG LAMP Relay

--

Fog Lamp - Left Front and Fog Lamp - Right Front

55

HORN Relay

--

Horn

56

AIRBAG

10A

Inflatable Restraint Sensing and Diagnostic Module (SDM) and Body Control Module

57

ABS

10A

Electronic Brake Control Module (EBCM)

58

DIODE WPR

--

WPR Relay

59

WPR

25A

WPR Relays

60

HORN

10A

Horn Relays

61

ABS

20A

Electronic Brake Control Module (EBCM)

62

I/P IGN

20A

Body Control Module

63

LT HI BEAM

10A

Head Lamp - Left

64

CNSTR VENT

10A

Evaporative Emission (EVAP) Canister Vent Solenoid Valve

65

LT LO BEAM

10A

Head Lamp - Left

66

RT LO BEAM

10A

Head Lamp - Right

67

RT HI BEAM

10A

Head Lamp - Right

68

PRK LAMPS Relay

--

Tail/Stop and Turn Signal Lamps, Marker Lamps, License Lamps, and Park/Turn Signal/DRL Lamps

69

PRK LAMPS

10A

PRK LAMPS Relay

70

WPR ON/OFF Relay

--

Windshield Wiper Motor Assembly

71

LO BEAM Relay

--

RT LO BEAM Fuse and LT LO BEAM Fuse

72

HI BEAM Relay

--

RT HI BEAM Fuse and LT HI BEAM Fuse

Fuse Block - Underhood Top View


Object Number: 1582615  Size: MF

Fuse Block - Underhood Bottom View


Object Number: 1988662  Size: MF

Fuse Block - Underhood X1


Object Number: 1592566  Size: CH

Connector Part Information

  • OEM: R61927-002
  • Service: 88988759
  • Description: 64-Way F (NA)

Terminal Part Information

  • Pins: A1, A9, A10, A12, B9, C4, D3, D9, E9, F7, F9, F10
  • Terminal/Tray: 7116-4110-02/9
  • Core/Insulation Crimp: E/C
  • Release Tool/Test Probe: 12094430/J-35616-4A (PU)
  • Pins: B2, E7
  • Terminal/Tray: 7116-4112-02/9
  • Core/Insulation Crimp: C/D
  • Release Tool/Test Probe: 12094430/J-35616-35 (VT)
  • Pins: A11, B11, C9, B12
  • Terminal/Tray: 7116-4111-02/9
  • Core/Insulation Crimp: Pins A11, B11, C9 - See Terminal Repair Kit
  • Core/Insulation Crimp: Pins B12 - E/A
  • Release Tool/Test Probe: 12094430/J-35616-4A (PU)

Fuse Block - Underhood X1

Pin

Wire

Circuit

Function

A1

0.35 D-GN

335

Low Speed Cooling Fan Relay Control (L61/LE5)

A2-A8

--

--

Not Used

A9

0.5 L-BU

20

Stop Lamp Supply Voltage (MN5)

A10

0.5 PK

539

Ignition 1 Voltage

A11

0.8 PK/BK

5292

Ignition 1 Voltage

0.5 PK/BK

5292

Ignition 1 Voltage (LE8/LE9)

A12

0.5 BN

4

Accessory Voltage (MN5)

B1

1 OG

1470

Brake Booster Pump Motor Supply (LNF with Brake Booster Vacuum Pump)

--

--

Not Used (with out LNF)

B2

3 L-BU

409

Cooling Fan Motor Supply Voltage (L61/LE5)

B3-B4

--

--

Not Used

B5

--

--

Not Available

B6-B7

--

--

Not Used

B8

--

--

Not Available

B9

--

--

Not Used

B10

0.5 PK/BK

5239

Powertrain Main Relay fused Supply (LNF)

--

--

Not Used

B11

0.5 PK

1039

Ignition 1 Voltage (MN5)

0.8 PK

1039

Ignition 1 Voltage (MN5)

B12

0.5 PK/BK

5290

Ignition 1 Voltage (LE5)

C1-C3

--

--

Not Used

C4

0.5 L-GN

24

Backup Lamp Supply Voltage

C5

--

--

Not Used

C6-C7

--

--

Not Available

C8

--

--

Not Used

C9

--

--

Not Used

C10-C12

--

--

Not Used

D1-D2

--

--

Not Used

D3

0.5 BK

150

Ground

D4-D5

--

--

Not Used

D6-D7

--

--

Not Available

D8

--

--

Not Used

D9

0.5 PK/BK

5291

Ignition 1 Voltage

D10-D12

--

--

Not Used

E1-E4

--

--

Not Used

E5

--

--

Not Available

E6

0.35 BK/WH

451

Ground

E7

2 PU

6

Starter Solenoid Crank Voltage

E8

--

--

Not Available

E9

0.5 PK/BK

5291

Ignition 1 Voltage

0.5 PK/BK

5291

Ignition 1 Voltage

E10-E12

--

--

Not Used

F1

0.35 BN

7448

Vacuum Pump Control (LNF with Brake Booster Vacuum Pump)

--

--

Not Used (without LNF)

F2-F6

--

--

Not Used

F7

0.5 RD/WH

840

Battery Positive Voltage (MN5)

F8

--

--

Not Used

F9

0.35 PK/BK

5291

Ignition 1 Voltage

F10

0.5 D-GN

59

A/C Compressor Clutch Supply Voltage

F11-F12

--

--

Not Used

Fuse Block - Underhood X2


Object Number: 1592566  Size: CH

Connector Part Information

  • OEM:R63138-001
  • Service: 88988756
  • Description: 64-Way F (BK)

Terminal Part Information

  • Pins: A5 (Panel Van)
  • Pins: F5
  • Terminal/Tray: 7116-4122-02/10
  • Core/Insulation Crimp: A/B
  • Core/Insulation Crimp: D/G (Panel Van)
  • Release Tool/Test Probe: 12094430/J-35616-42 (RD)
  • Pins: A1, A6, A7, A10, A11, B1, B3, B6, B7, B10, B12, C1, C2, C9, C12, D3, D8, E1, E3, E7, F1, F2, F4, F11
  • Terminal/Tray: 7116-4110-02/9
  • Core/Insulation Crimp: E/C
  • Release Tool/Test Probe: 12094430/J-35616-4A (PU)
  • Pins: D5 (Panel Van)
  • Pins: F3, F7
  • Terminal/Tray: 7116-4111-02/9
  • Core/Insulation Crimp: E/A
  • Core/Insulation Crimp: C/A (Panel Van)
  • Release Tool/Test Probe: 12094430/J-35616-4A (PU)
  • Pins: C5, E12, F6
  • Terminal/Tray: 7116-4112-02/9
  • Core/Insulation Crimp: C/D
  • Release Tool/Test Probe: 12094430/J-35616-35 (VT)
  • Pins: A9, E2, F9, B9, C3, E6
  • Terminal/Tray: 7116-4111-02/9
  • Core/Insulation Crimp: Pins A9, E2, F9 - C/A
  • Core/Insulation Crimp: Pins C3, E6 - See Terminal Repair Kit
  • Release Tool/Test Probe: 12094430/J-35616-4A (PU)

Fuse Block - Underhood X2

Pin

Wire

Circuit

Function

A1

0.5 L-BU

14

Left Turn Signal Lamp Supply Voltage

A2-A4

--

--

Not Used

A5

5 RD/BK

742

Battery Positive Voltage (Panel Van)

5 L-BU

409

Cooling Fan Motor Supply Voltage (LNF)

A6

0.5 OG

228

Windshield Washer Pump Control

A7

0.5 D-GN

392

Rear Window Washer Pump Control

A8

--

--

Not Used

A9

1 RD/WH

240

Battery Positive Voltage

A10

0.5 RD/WH

840

Battery Positive Voltage

A11

0.5 RD/WH

840

Battery Positive Voltage

A12

--

--

Not Used

B1

0.35 TN

28

Horn Relay Control

B2

--

--

Not Used

B3

0.8 RD/WH

40

Battery Positive Voltage

B4

--

--

Not Used

B5

--

--

Not Available

B6

0.35 L-GN/BK

592

DRL Relay Control

B7

0.35 OG

228

Windshield Washer Pump Control

B8

--

--

Not Available

B9

0.35 PU/WH

6386

Starter Relay Control

B10-B11

--

--

Not Used

B12

0.35 WH

193

Rear Defog Relay Control

C1

035 YE

317

Fog Lamp Relay Coil Supply Voltage (T37)

C2

0.35 PU

359

DRL Supply Voltage

C3

1 RD/WH

340

Battery Positive Voltage (KA1)

1 RD/WH

340

Battery Positive Voltage (KA1)

C4

--

--

Not Used

C5

2 RD/WH

540

Battery Positive Voltage (CE5)

1 RD/WH

540

Battery Positive Voltage (Panel Van)

C6-C7

--

--

Not Available

C8

--

--

Not Used

C9

0.5 YE

447

Starter Relay Coil Control

C9-C11

--

--

Not Used

C12

0.35 YE

5991

Powertrain Relay Control

D1

3 D-GN

801

RAP Fuse Supply Voltage

D2

--

--

Not Used

D3

0.35 RD/WH

440

Battery Positive Voltage

D4

--

--

Not Used

D5

1 RD/WH

1840

Battery Positive Voltage (Panel Van)

D6-D7

--

--

Not Available

D8

0.5 L-GN

2270

Rear Window Washer Relay Control

D9-D12

--

--

Not Used

E1

0.35 TN/WH

1969

Headlamp High Beam Relay Control

E2

1 GY

120

Fuel Pump Supply Voltage

E3

0.35 WH/BK

1221

Liftgate Release Switch Signal

E4

--

--

Not Used

E5

--

--

Not Available

E6

0.5 L-GN

24

Backup Lamp Supply Voltage

0.5 L-GN

24

Backup Lamp Supply Voltage (LNF)

E7

0.35 GY

391

Rear Window Wiper Switch Signal

E8

--

--

Not Available

E9-E11

--

--

Not Used

E12

3 PU

293

Rear Defog Element Supply Voltage

F1

0.35 PK/WH

1970

Headlamp Low Beam Relay Control

F2

0.35 D-GN/WH

465

Relay Control Primary

F3

0.8 TN/WH

56

Rear Compartment Lid Release Actuator (-Panel Van)

F4

0.35 L-BU

1344

Liftgate Release Relay Control

F5

3 RD/BK

242

Battery Positive Voltage

F6

3 RD/BK

442

Battery Positive Voltage

F7

0.8 WH

393

Rear Window Wiper Motor Control

F8

--

--

Not Used

F9

1 BK

150

Ground

F10

--

--

Not Used

F11

0.35 D-GN/WH

459

A/C Compressor Clutch Relay Control

F12

--

--

Not Used

Fuse Block - Underhood X3


Object Number: 1592683  Size: CH

Connector Part Information

  • OEM: R62807-002
  • Service: 19115601
  • Description: 28-Way F (NA)

Terminal Part Information

  • Pins: B1, B2, C1, E2, F1, F6
  • Terminal/Tray: 7116-4110-02/9
  • Core/Insulation Crimp: E/C
  • Release Tool/Test Probe: 12094430/J-35616-4A (PU)
  • Pins: A6, B6, B5, E5, C5
  • Terminal/Tray: 7116-4111-02/9
  • Core/Insulation Crimp: Pins A6, B5, B6, E5 - See Terminal Repair Kit
  • Core/Insulation Crimp: Pins C5 - C/A
  • Release Tool/Test Probe: 12094430/J-35616-4A (PU)

Fuse Block - Underhood X3

Pin

Wire

Circuit

Function

A1-A5

--

--

Not Used

A6

0.5 BN

9

Park Lamp Supply Voltage

0.5 BN

9

Park Lamp Supply Voltage

B1

0.5 L-GN/BK

311

Right Headlamp High Beam Supply Voltage

B2

0.5 TN/WH

312

Right Headlamp Low Beam Supply Voltage

B3-B4

--

--

Not Available

B5

0.5 YE

712

Left Headlamp Low Beam Supply Voltage

0.35 PU

359

DRL Supply Voltage

B6

0.5 BN

9

Park Lamp Supply Voltage

0.5 BN

9

Park Lamp Supply Voltage

C1

0.5 D-GN/WH

711

Left Headlamp High Beam Supply Voltage

C2

--

--

Not Used

C3-C4

--

--

Not Available

C5

1 BK

150

Ground

C6

--

--

Not Used

D1-D2

--

--

Not Used

D3-D4

--

--

Not Available

D5-D6

--

--

Not Used

E1

--

--

Not Used

E2

0.5 D-GN

29

Horn Control

E3-E4

--

--

Not Available

E5

0.5 PU

2234

Front Fog Lamp Supply Voltage (T37)

0.5 PU

2234

Front Fog Lamp Supply Voltage (T37)

E6

--

--

Not Used

F1

0.35 L-BU

14

Left Turn Signal Lamp Supply Voltage

F2-F5

--

--

Not Used

F6

0.35 D-BU

15

Right Turn Signal Lamp Supply Voltage

Fuse Block - Underhood X4


Object Number: 1592683  Size: CH

Connector Part Information

  • OEM: R62807-001
  • Service: 88988757
  • Description: 28-Way F (BK)

Terminal Part Information

  • Pins: A1, B1, B2, B5, B6, C1, C5, E2, E6, F2, F5
  • Terminal/Tray: 7116-4110-02/9
  • Core/Insulation Crimp: E/C
  • Release Tool/Test Probe: 12094430/J-35616-4A (PU)
  • Pins: A4, F4
  • Terminal/Tray: 7116-4122-02/10
  • Core/Insulation Crimp: A/B
  • Release Tool/Test Probe: 12094430/J-35616-42 (RD)
  • Pins: D1, E1, F6
  • Terminal/Tray: 7116-4111-02/9
  • Core/Insulation Crimp: Pins D1, E1: C/A
  • Core/Insulation Crimp: Pins F6: C/A
  • Release Tool/Test Probe: 12094430/J-35616-4A (PU)
  • Pins: F3
  • Terminal/Tray: 7116-4120-02/9
  • Core/Insulation Crimp: E/A
  • Release Tool/Test Probe: 12094430/J-35616-42 (RD)
  • Pins: A5, C2, A6, F1
  • Terminal/Tray: 7116-4112-02/9
  • Core/Insulation Crimp: Pins A5, C2 - C/D
  • Core/Insulation Crimp: Pins A6, F1 - See Terminal Repair Kit
  • Release Tool/Test Probe: 12094430/J-35616-35 (VT)

Fuse Block - Underhood X4

Pin

Wire

Circuit

Function

A1

0.5 BN

9

Park Lamp Supply Voltage

A2-A3

--

--

Not Used

A4

3 RD/BK

542

Battery Positive Voltage

A5

2 RD/WH

740

Battery Positive Voltage

A6

0.5 L-BU

20

Stop Lamp Supply Voltage

0.8 L-BU

20

Stop Lamp Supply Voltage

B1

0.5 PK

1439

Ignition 1 Voltage

B2

0.35 D-GN

113

Windshield Wiper Switch Signal

B3-B4

--

--

Not Available

B5

0.35 WH/RD

1080

Park Lamp Relay Control

B6

0.5 L-BU

20

Stop Lamp Supply Voltage

C1

0.35 L-GN

1715

Windshield Wiper Switch High Signal

C2

1 PK

739

Ignition 1 Voltage

C3-C4

--

--

Not Available

C5

0.5 RD/WH

1640

Battery Positive Voltage

C6

--

--

Not Used

D1

1 D-GN

95

Windshield Wiper Motor Low Speed Control

D2

--

--

Not Used

D3-D4

--

--

Not Available

D5-D6

--

--

Not Used

E1

1 PU

92

Windshield Wiper Motor High Speed Control

E2

0.5 PK/BK

1039

Ignition 1 Voltage

E3-E4

--

--

Not Available

E5

--

--

Not Used

E6

0.5 RD/WH

1240

Battery Positive Voltage

F1

0.5 PK

1639

Run/Crank Ignition 1 Voltage (KA1)

0.5 PK

1639

Run/Crank Ignition 1 Voltage (KA1)

F2

0.35 YE

5199

Relay Coil Control

F3

0.5 D-BU

15

Right Turn Signal Lamp Supply Voltage

F4

3 RD/BK

342

Battery Positive Voltage (AJ6)

F5

0.35 BN

4

Accessory Voltage (MN5)

F6

0.8 PK/BK

5290

Ignition 1 Voltage (LE8/LE9)

1 PK/BK

5290

Ignition 1 Voltage (LNF)

Fuse Block - Underhood X5 (To Starter/Generator)

Terminal Part Information

  • Harness: Engine Harness
  • Terminal: 7003611702
  • Core/Insulation Crimp: N/A
  • Description: Ring Terminal

Fuse Block - Underhood X5 (To Starter/Generator)

Pin

Wire

Circuit

Function

+

50 RD

1

Battery Positive Voltage

Fuse Block - Underhood X5 (To Battery)

Terminal Part Information

  • Harness: Battery Cable
  • Terminal: 7003-6115-02
  • Core/Insulation Crimp: N/A
  • Description: Ring Terminal

Fuse Block - Underhood X5 (To Battery)

Pin

Wire

Circuit

Function

+

40 RD

1

Battery Positive Voltage

Fuse Block - Underhood X6 (To Electronic Power Steering) (LE8/LE9)

Terminal Part Information

  • Harness: EPS Harness
  • Terminal: 12162098
  • Core/Insulation Crimp: N/A
  • Description: Ring Terminal

Fuse Block - Underhood X6 (To Electronic Power Steering) (LE8/LE9)

Pin

Wire

Circuit

Function

A

5 RD/BK

642

Battery Positive Voltage

Fuse Block - Underhood X6 (To Electronic Power Steering) (LNF)

Terminal Part Information

  • Harness: EPS Harness
  • Terminal: 12103965
  • Core/Insulation Crimp: N/A
  • Description: Ring Terminal

Fuse Block - Underhood X6 (To Electronic Power Steering) (LNF)

Pin

Wire

Circuit

Function

A

5 RD/BK

642

Battery Positive Voltage

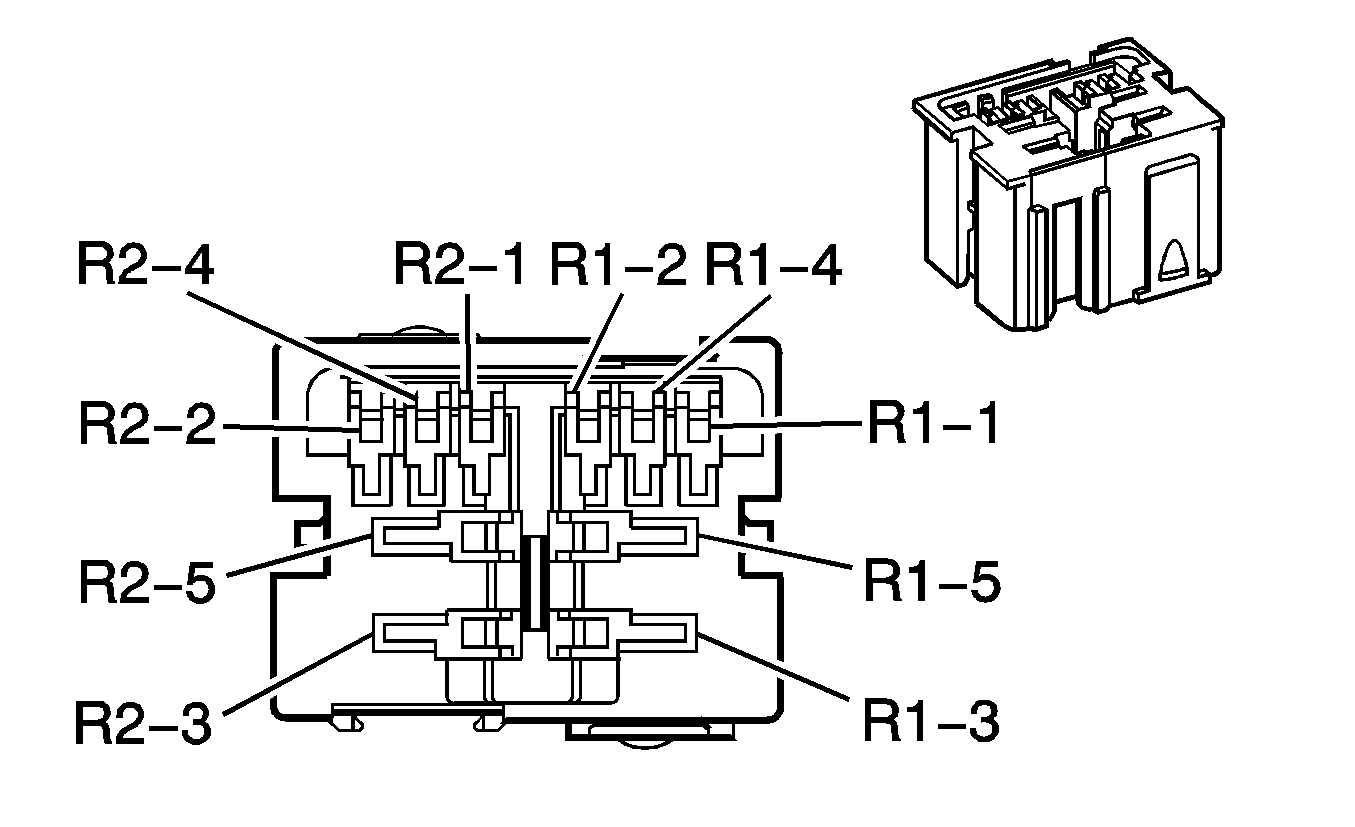
Underhood Relay Block (Wire Entry)


Object Number: 1826126  Size: CH

Connector Part Information

  • OEM: E-1588
  • Service: See Catalog
  • Description: 10-Way F (BK)

Terminal Part Information

  • Terminal/Tray: See Terminal Repair Kit
  • Core/Insulation Crimp: See Terminal Repair Kit
  • Release Tool/Test Probe: See Terminal Repair Kit

Underhood Relay Block (Wire Entry)

Pin

Wire

Circuit

Function

R1-1

0.35 L-GN/WH

5702

Door Latch Motor Control (Panel Van)

R1-2

0.35 BK

1250

Ground (Panel Van)

R1-3

0.8 BN

6156

Rear Access Panel Relay Control - Left Rear (Panel Van)

R1-4

--

--

Not Used

R1-5

0.8 BK

1250

Ground

R2-1

0.35 WH

5065

CHMSL Relay Coil Control

R2-2

0.35 BK/WH

1251

Ground

R2-3

0.5 RD/WH

140

Battery Positive Voltage

R2-4

--

--

Not Used

R2-5

0.5 L-BU

20

Stop Lamp Switch Signal

Body Control Module (BCM) Label


Object Number: 1956570  Size: MF

Body Control Module (BCM) Label Usage

No.

Device

Rating

Description

1

FUSE PULLER

--

FUSE PULLER

2-5

EMPTY

--

Not Used

6

AMP

20A

Audio Amplifier

7

CLSTR

10A

Instrument Panel Cluster (IPC)

8

IGN SW/PK3+

2A

Ignition Switch

9

STOP LP

10A

Stop Lamp Switch

10

HVAC/PK3+

10A

HVAC Control Module and Theft Deterrent Control Module

11

Empty

--

Not Used

12

SPARE

20A

Not Used

13

AIRBAG

10A

Inflatable Restraints Sensing and Diagnostic Module (SDM) and Inflatable Restraint Front Passenger Presence System (PPS) Module

14

SPARE

10A

Not Used

15

WPR

10A

Windshield Wiper Washer Switch

16

HVAC/IP IGN

10A

I/P Cluster, Clutch Pedal Start Switch, HVAC Control Module, and Stop Lamp/TCC/Cruise Release Switch

17

WNDW RAP

2A

Power Windows

18

Empty

--

Not Used

19

EPS/STR WHL CNTRL

2A

Electronic Power Steering (EPS) Column Assembly and Inflatable Restraint Steering Wheel Module Coil

20

S ROOF

15A

Not Used

21

SPARE

20A

Not Used

22

Empty

--

Not Used

23

RDO

15A

Radio and Remote Control Door Lock Receiver

24

XM/ONSTAR

10A

Vehicle Communication Interface Module and Digital Radio Receiver

25

ECM/TCM

10A

Fuse Block Underhood, Engine Control Module (ECM), and Transmission Control Module (TCM)

26

DR LCK

15A

Driver Door Unlock Relay, Door Unlock Relay, and Door Lock Relay

27

INT LIGHT

10A

Interior Lamps Relay

28

SWC BKLT

2A

Inflatable Restraint Steering Wheel Module Coil

29

PWR WNDW

30A

Master Switch

30

HVAC Relay

--

Blower Motor

31

Empty

--

Not Used

32

RAP Relay

--

PWR WINDW Fuse, SPARE fuses, and S ROOF Fuse

Printed Circuit Board (PCB) Relays - Not Serviceable

--

DOOR LOCK PCB Relay

--

BCM Logic, Door Latches

--

DOOR UNLOCK PCB Relay

--

BCM Logic, Door Latches

--

DR DOOR UNLOCK PCB Relay

--

BCM Logic, Driver Door Latch

--

INT LIGHT PCB Relay

--

Dome Lamp, Inside Rearview Mirror

Body Control Module (BCM) - Top View


Object Number: 1581724  Size: MF

Body Control Module (BCM) - Bottom View


Object Number: 1581726  Size: MF

Body Control Module (BCM) X1


Object Number: 1376257  Size: CH

Connector Part Information

  • OEM: 15393122
  • Service: 88987847
  • Description: 72-Way F Micro-64 Unsealed (GY)

Terminal Part Information

  • Pins: 1, 3-9, 13-20, 22, 31, 33, 35, 36, 44, 47, 51, 54, 55, 58-65, 67, 68, 69-71
  • Terminal/Tray: 15359541/4
  • Core/Insulation Crimp: M/M
  • Release Tool/Test Probe: 15381651-2/J-35616-64B (L-BU)

Body Control Module (BCM) X1

Pin

Wire

Circuit

Function

1

0.5 L-BU/BK

747

Left Rear Door Ajar Switch Signal

2

0.35 L-BU/BK

6656

Left Rear Access Panel Control

3

0.5 PU

5531

Hood Closed Switch Signal (AP3)

4

0.5 PK/BK

109

Hood Ajar Switch Signal (AP3)

5

0.5 TN

755

Sunroof Enable Signal (CF5)

6

0.5 WH

682

Door Lock Lock/Unlock Signal

7

0.5 WH/BK

682

Door Lock Lock/Unlock Signal

8

0.5 WH/RD

1080

Park Lamp Relay Control

9

0.5 YE

5456

Rear Wiper Park Signal

10-12

--

--

Not Used

13

0.5 PK

849

Brake Fluid Level Sensor Signal (1)

14

0.5 L-BU

1134

Park Brake Switch Signal

15

0.5 YE

5199

Run/Crank Relay Coil Control

16

0.5 WH

193

Rear Defog Relay Control

17

0.5 D-BU

15

Right Turn Signal Lamp Supply Voltage

18

0.5 D-GN

5060

Low Speed GMLAN Serial Data (U2K)

19

0.5 TN/WH

746

Right Front Door Ajar Switch Signal

20

0.5 L-GN/BK

748

Right Rear Door Ajar Switch Signal

21

--

--

Not Used

22

0.5 GY/BK

745

Left Front Door Ajar Switch Signal

23-32

--

--

Not Used

33

0.5 D-GN/WH

1135

A/T Shift Interlock Solenoid Supply Voltage (MN5)

34

--

--

Not Used

35

0.5 L-BU

14

Left Turn Signal Lamp Supply Voltage

36

0.5 D-GN

5060

Low Speed GMLAN Serial Data (UE1)

37-39

--

--

Not Used

40

0.35 L-BU

1788

Traction Control Switch Signal (JL4/JL9)

41-43

--

--

Not Used

44

0.5 TN/WH

1969

Headlamp High Beam Relay Control

45-46

--

--

Not Used

47

0.5 YE

196

Windshield Wiper Motor Park Switch Signal

48-50

--

--

Not Used

51

0.5 D-GN

113

Windshield Wiper Switch Signal 2

52-53

--

--

Not Used

54

0.5 YE

317

Fog Lamp Relay Control

55

0.5 PK/BK

1303

Liftgate Ajar Switch Signal

56

0.35 L-BU

1344

Liftgate Release Relay Control

57

0.35 D-BU

5876

Passenger Door Lock Actuator Lock Control

58

0.5 L-GN

2270

Rear Window Washer Relay Control

59

0.5 GY

391

Rear Window Wiper Switch Signal

60

0.5 TN

28

Horn Relay Control

61

0.5 BK/WH

1251

Signal Ground

62

0.5 RD/WH

1340

Battery Positive Voltage

63

0.5 GY

596

5-Volt Reference

64

0.5 BK/WH

851

Signal Ground

65

--

-

Not Used

66

--

--

Not Used

67

0.5 YE

61

Low Reference

68

0.5 WH

5075

Current Sensor Signal

69

0.5 WH/BK

1221

Liftgate Release Switch Signal

70

0.5 D-GN/WH

636

Ambient Air Temperature Sensor Signal

71

0.5 L-GN/BK

592

DRL Relay Control

72

--

--

Not Used

Body Control Module (BCM) X2


Object Number: 1376254  Size: CH

Connector Part Information

  • OEM: 15393121
  • Service: 88987848
  • Description: 72-Way F Micro-64 Unsealed (GY)

Terminal Part Information

  • Pins: 1-5, 9, 11, 14-16, 17, 19, 20, 26, 38, 44, 47, 51, 54, 56-58, 61, 62, 64, 66-69, 71, 72
  • Terminal/Tray: 15359541/4
  • Core/Insulation Crimp: M/M
  • Release Tool/Test Probe: 15381651-2/J-35616-64B (L-BU)

Body Control Module (BCM) X2

Pin

Wire

Circuit

Function

1

0.5 TN/BK

2500

High Speed GMLAN Serial Data Bus (+)

2

0.5 TN/BK

2500

High Speed GMLAN Serial Data Bus (+)

3

0.5 YE

10

Headlamp Switch Signal

4

0.5 PU

524

Headlamp Dimmer Switch High Beam Signal

5

0.5 BN/WH

301

Park Lamp Switch On Signal

6

--

--

Not Used

7

0.35 TN/BK

6658

Rear Access Panel Release Switch Signal - Right Rear

8

--

--

Not Used

9

0.5 WH

111

Hazard Switch Signal

10

--

--

Not Used

11

0.5 D-GN

264

Security Indicator Supply Voltage

12-13

--

--

Not Used

14

0.5 TN

28

Horn Relay Control

15

0.5 WH

103

Headlamp Switch On Signal

16

0.5 OG

192

Front Fog Lamp Switch Signal (T37)

17

0.5 PU/WH

549

Headlamp Switch Headlamps Off Signal

18

--

--

Not Used

19

0.5 TN

2501

High Speed GMLAN Serial Data (-)

20

0.5 TN

2501

High Speed GMLAN Serial Data (-)

21

--

--

Not Used

22

0.35 L_GN/BK

5703

Driver Door Lock Actuator Lock Control

23-25

--

--

Not Used

26

0.5 D-GN

44

Instrument Panel Lamp Dimmer Switch Signal

27-37

--

--

Not Used

38

0.5 L-GN/BK

5060

Low Speed GMLAN Serial Data

39-43

--

--

Not Used

44

0.5 L-GN/BK

1137

DRL Ambient Light Sensor Signal

45-46

--

--

Not Used

47

0.5 YE/BK

1138

DRL Ambient Light Sensor Low Reference

48-50

--

--

Not Used

51

0.5 BN

1356

Flash To Pass Switch Signal

52-53

--

--

Not Used

54

--

--

Not Used

55

--

--

Not Used

56

0.5 WH

1390

Off/Run/Crank Voltage

57

0.5 GY

112

Windshield Wiper Switch Signal 1

58

0.5 PU

719

Low Reference

59-60

--

--

Not Used

61

0.5 GY

1884

Cruise Control Switch Signal

62

0.5 WH/BK

1073

Ignition Key Resistor Signal

63

--

--

Not Used

64

0.5 WH

2283

Rear Wiper/Washer Switch Supply Voltage

65

--

--

Not Used

66

0.5 YE/BK

1418

Left Rear Turn Signal Switch Signal

67

0.5 D-GN/WH

1419

Right Rear Turn Signal Switch Signal

68

0.5 L-BU

292

Rear Defog Switch Signal

69

0.5 L-GN

66

A/C Request Signal

70

--

--

Not Used

71

0.5 PU

5234

Passenger Seat Belt Indicator

72

0.5 WH

193

Rear Defog Relay Control

Body Control Module (BCM) X3


Object Number: 1362564  Size: CH

Connector Part Information

  • OEM: 15492675
  • Service: 15404825
  • Description: 41-Way F Micro-64 Unsealed (RD)

Terminal Part Information

  • Pins: A1-A5, A7-A10, A12, B1, B3, B5, B12, C12, D4, D7
  • Pins: C3 (Panel Van)
  • Terminal/Tray: 12110844/4
  • Core/Insulation Crimp: Pins A1-A5, A7-A10, A12, B1, D4 - E/A
  • Core/Insulation Crimp: Pins B3, B5, B12, C12, D7 - E/C
  • Core/Insulation Crimp: Pins C3 - C/A
  • Release Tool/Test Probe: 15315247/J-35616-4A (PU)
  • Pins: C5, D1, D6, D10-D12
  • Terminal/Tray: 12110842/4
  • Core/Insulation Crimp: Pins C5, D11 - A/B
  • Core/Insulation Crimp: Pins D1, D6, D10, D12 - F/G
  • Release Tool/Test Probe: 15315247/J-35616-4A (PU)

Body Control Module (BCM) X3

Pin

Wire

Circuit

Function

A1

0.5 TN

294

Door Lock Actuator Unlock Control

0.5 TN

294

Door Lock Actuator Unlock Control

A2

0.5 TN

294

Door Lock Actuator Unlock Control

A3

0.5 D-BU/WH

149

Courtesy Lamp Supply Voltage

A4

0.5 GY/BK

295

Door Lock Actuator Lock Control

0.5 GY/BK

295

Door Lock Actuator Lock Control

A5

0.5 GY

295

Door Lock Actuator Lock Control

0.5 GY

295

Door Lock Actuator Lock Control

A6

--

--

Not Used

A7

0.5 BN

9

Park Lamp Supply Voltage

A8

0.5 PK

339

Ignition 1 Voltage

A9

0.5 YE

18

Left Rear Stop/Turn Lamp Supply Voltage

A10

0.5 GY

157

Courtesy Lamp Control

A11

--

--

Not Used

A12

0.5 D-GN

19

Right Rear Stop/Turn Lamp Supply Voltage

B1

0.5 TN/BK

694

Driver Door Lock Actuator Unlock Control

B2

--

--

Not Used

B3

0.5 RD/WH

1340

Battery Positive Voltage

0.35 RD/WH

1340

Battery Positive Voltage (UE1)

B4

--

--

Not Used

B5

0.5 BN

4

Accessory Voltage

0.5 BN

4

Accessory Voltage (MN5)

B6-B7

--

--

Not Available

B8-B11

--

--

Not Used

B12

0.5 GY

8

Instrument Panel Lamps Dimmer Switch Signal

C1-C2

--

--

Not Available

C3

0.8 D-GN

1301

RAP Fuse Supply Voltage (Panel Van)

C4

--

--

Not Used

C5

--

--

Not Used

C6-C7

--

--

Not Available

C8-C11

--

--

Not Used

C12

0.5 OG

228

Windshield Washer Pump Control

D1

5 RD/BK

142

Battery Positive Voltage

D2

--

--

Not Available

D3

--

--

Not Used

D4

0.5 RD/WH

840

Battery Positive Voltage

D5

--

--

Not Used

D6

1 PK

739

Ignition 1 Voltage

1 PK

739

Ignition 1 Voltage (Panel Van)

D7

0.5 PK

1339

Ignition 1 Voltage

0.5 PK

1339

Ignition 1 Voltage (-ASF)

D8-D9

--

--

Not Used

D10

3 RD/BK

442

Battery Positive Voltage

D11

2 RD/WH

640

Battery Positive Voltage (UQ3)

D12

3 RD/BK

242

Battery Positive Voltage

Body Control Module (BCM) X4


Object Number: 697044  Size: CH

Connector Part Information

  • OEM: 15492668
  • Service: 88988776
  • Description: 68-Way F Micro-64 Unsealed (L-GY)

Terminal Part Information

  • Pins: E12
  • Terminal/Tray: 12110842/4
  • Core/Insulation Crimp: A/B
  • Release Tool/Test Probe: 15315247/J-35616-4A (PU)
  • Pins: D4, D10
  • Terminal/Tray: 12110842/4
  • Core/Insulation Crimp: Pins D4 - F/G
  • Core/Insulation Crimp: Pins D10 - See Terminal Repair Kit
  • Release Tool/Test Probe: 15315247/J-35616-4A (PU)
  • Pins: B1, B2, C1, C2, C8, C11, C12, D1, D3, E6, F1, F3, F9, E1, F4-F6
  • Terminal/Tray: 12110844/4
  • Core/Insulation Crimp: Pins B1, B2, C2, C8, C11, C12, D1, D3, E6, F1, F3, F9 - E/C
  • Core/Insulation Crimp: Pins A2, C1, E1, F4-F6 - E/A
  • Release Tool/Test Probe: 15315247/J-35616-4A (PU)

Body Control Module (BCM) X4

Pin

Wire

Circuit

Function

A1

--

--

Not Used

A2

0.5 GY

157

Courtesy Lamp Control

A3-A12

--

--

Not Used

B1

0.5 OG

228

Windshield Washer Pump Control

B2

0.5 GY

8

Instrument Panel Lamps Dimmer Switch Signal

B3-B12

--

--

Not Used

C1

0.5 RD/WH

1440

Battery Positive Voltage

0.5 RD/WH

1440

Battery Positive Voltage

C2

0.5 GY

8

Instrument Panel Lamps Dimmer Switch Signal

C3-C5

--

--

Not Used

C6-C7

--

--

Not Available

C8

0.5 BN

4

Accessory Voltage (MN5)

0.5 BN

4

Accessory Voltage (-MN5)

0.5 BN

4

Accessory Voltage (-MN5)

C9-C10

--

--

Not Used

C11

0.5 GY

8

Instrument Panel Lamps Dimmer Switch Signal

0.5 GY

8

Instrument Panel Lamps Dimmer Switch Signal

C12

0.5 GY

8

Instrument Panel Lamps Dimmer Switch Signal

D1

0.5 RD/WH

1040

Battery Positive Voltage

D2

--

--

Not Used

D3

0.5 YE

5199

Run/Crank Relay Coil Control

D4

3 BN

141

Run Ignition 3 Voltage

D5

--

--

Not Used

D6-D7

--

--

Not Available

D8

0.35 YE

43

RAP Fuse Supply Voltage

D9

--

--

Not Used

D10

0.5 RD/WH

1140

Battery Positive Voltage

1 RD/WH

1140

Battery Positive Voltage

D11-D12

--

--

Not Used

E1

0.5 RD/WH

140

Battery Positive Voltage

E2-E5

--

--

Not Used

E6

0.5 PK

439

Ignition 1 Voltage

E7-E9

--

--

Not Used

E10

0.5 RD/WH

1340

Battery Positive Voltage (U2K)

E11

--

--

Not Used

E12

2 BK

550

Ground

F1

0.5 RD/WH

1540

Battery Positive Voltage

0.5 RD/WH

1540

Battery Positive Voltage

F2

0.35 GY

8

Instrument Panel Lamp Dimmer Switch Signal (JL4/JL9)

F3

0.5 GY

8

Instrument Panel Lamp Dimmer Switch Signal (T37)

0.5 GY

8

Instrument Panel Lamp Dimmer Switch Signal

F4

0.5 PK

339

Ignition 1 Voltage

F5

0.5 PK

339

Ignition 1 Voltage

F6

0.5 PK

339

Ignition 1 Voltage

0.5 PK

339

Ignition 1 Voltage (UAF)

F7-F8

--

--

Not Used

F9

0.5 PK

1539

Ignition 1 Voltage

0.5 PK

1539

Ignition 1 Voltage

F10-F12

--

--

Not Used

Fuse Block - Rear Access Panel Top View (Panel Van)


Object Number: 1956588  Size: MF

Fuse Block - Rear Access Panel (Wire Entry) (Panel Van)


Object Number: 1956589  Size: MF

Connector Part Information

  • OEM: E-1588
  • Service: 19153214
  • Description: 10-Way F (BK)

Terminal Part Information

  • Terminal/Tray: See Terminal Repair Kit
  • Core/Insulation Crimp: See Terminal Repair Kit
  • Release Tool/Test Probe: See Terminal Repair Kit

Fuse Block - Rear Access Panel (Wire Entry) (Panel Van)

Pin

Wire

Circuit

Function

R1-1

0.8 RD/WH

540

Battery Positive Voltage

R1-2

0.35 L-GN/BK

5703

Battery Positive Voltage

R1-3

0.8 RD/WH

540

Battery Positive Voltage

R1-4

--

--

Not Used

R1-5

0.8 L-BU/WH

6667

Liftgate Relay B+

R2-1

0.8 RD/WH

540

Battery Positive Voltage

R2-2

0.35 D-BU

5876

Front Passenger Door Latch Enable Control

R2-3

0.8 RD/WH

540

Battery Positive Voltage

R2-4

--

--

Not Used

R2-5

0.8 L-GN/BK

6669

Liftgate Relay B+