GM Service Manual Online
For 1990-2009 cars only

Object Number: 1614251  Size: SF

Callout

Component Name

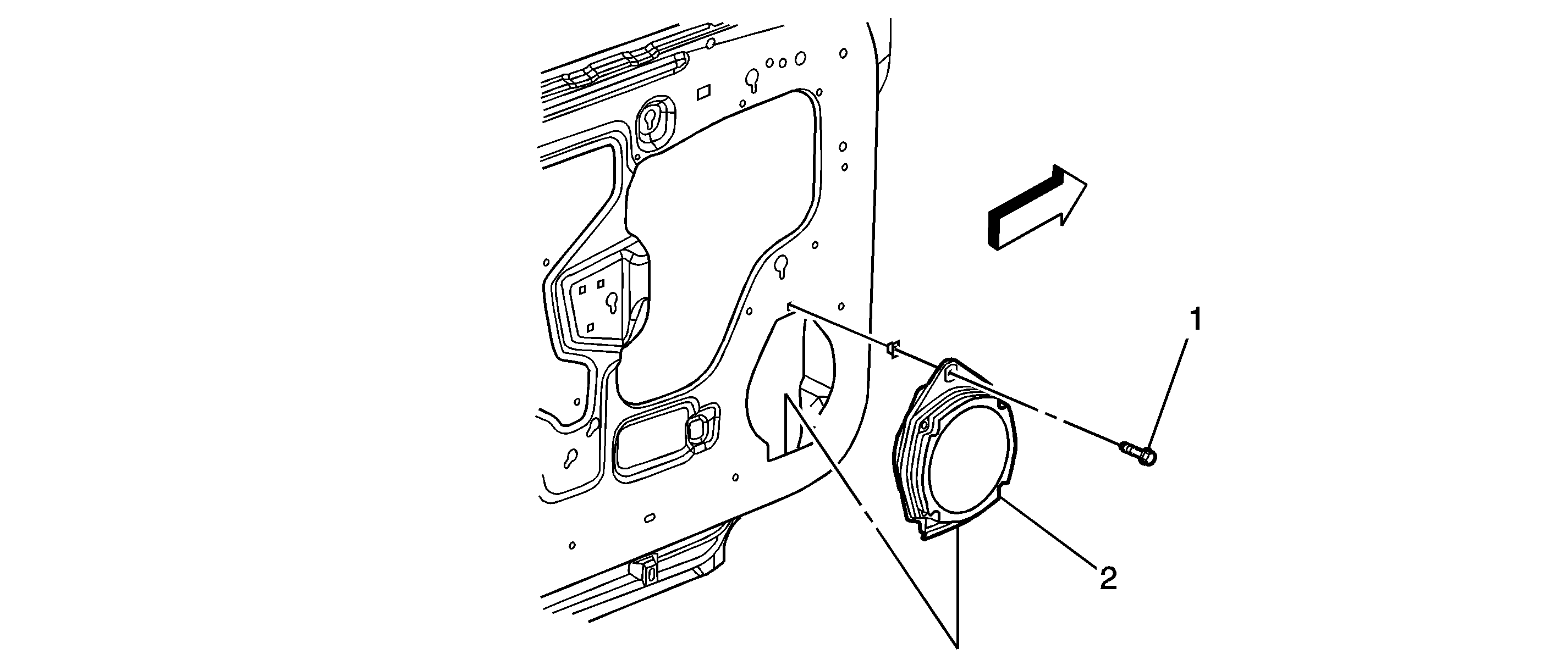
Preliminary Procedure

Remove the front door inner trim panel. Refer to Front Side Door Trim Panel Replacement.

1

Front Door Speaker Screw

Caution: Refer to Fastener Caution in the Preface section.

Tighten
3 N·m (25 lb in)

2

Front Door Speaker