GM Service Manual Online
For 1990-2009 cars only

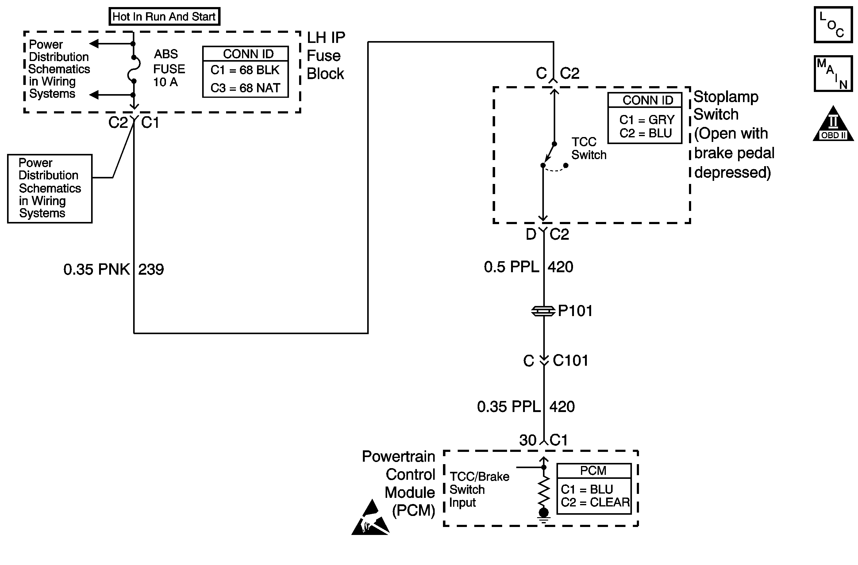
DTC P0724 Brake Switch Circuit High Input 3.8L Monte Carlo


Object Number: 477448  Size: MF
Automatic Transmission Components
Automatic Transmission Controls Schematics
OBD II Symbol Description Notice
Handling ESD Sensitive Parts Notice

Circuit Description

The TCC brake switch reports brake pedal status to the PCM. The TCC brake switch indicates that the brake pedal is either applied or released. The normally-closed switch supplies battery voltage to the PCM. Applying the brake pedal opens the TCC brake switch, interrupting voltage to the PCM. When the PCM receives 0 volts at the TCC brake switch input, the PCM turns OFF the torque converter clutch pulse width modulation (TCC PWM) solenoid valve.

If the PCM detects a closed TCC brake switch (indicating pedal released) during a number of decelerations, then DTC P0724 sets. DTC P0724 is a type C DTC.

Conditions for Running the DTC

No VSS DTC P0502 or P0503.

Conditions for Setting the DTC

The TCC brake switch indicates continuously CLOSED (12 volts) while the following conditions occur 8 times consecutively:

    • The vehicle speed is greater than 32 km/h (20 mph) for 6 seconds;
    • Then the vehicle speed decreases to 8 km/h (5 mph) and takes 3 seconds;
    • Finally, the vehicle speed is less than 8 km/h (5 mph).

Action Taken When the DTC Sets

    • The PCM does not illuminate the malfunction indicator lamp (MIL).
    • The PCM records the operating conditions when the Conditions for Setting the DTC are met. The PCM stores this information as Failure Records.
    • The PCM stores DTC P0724 in PCM history.

Conditions for Clearing the DTC

    • A scan tool can clear the DTC.
    • The PCM clears the DTC from PCM history if the vehicle completes 40 consecutive warm-up cycles without a non-emission-related diagnostic fault occurring.
    • The PCM cancels the DTC default actions when the fault no longer exists and the ignition switch is OFF long enough in order to power down the PCM.

Diagnostic Aids

    • Inspect the connectors at the controller, the component and all other circuit connecting points for an intermittent condition. Refer to Testing for Intermittent Conditions and Poor Connections in Wiring Systems.
    • Inspect the circuit wiring for an intermittent condition. Refer to Testing for Electrical Intermittents in Wiring Systems.

Test Description

The numbers below refer to the step numbers on the diagnostic table.

  1. A Scan Tool display that changes from Closed to Open when the TCC brake switch is disconnected indicates a faulty switch.

DTC P0724 Brake Switch Circuit High Input

Step

Action

Value(s)

Yes

No

1

Did you perform the Powertrain Diagnostic System Check?

--

Go to Step 2

Go to Powertrain On Board Diagnostic (OBD) System Check (3.4 L) or Powertrain On Board Diagnostic (OBD) System Check (3.8 L) in Engine Controls

2

  1. Install a Scan Tool .
  2. Turn ON the ignition with the engine OFF.
  3. Important: Before clearing the DTCs, use the Scan Tool in order to record the Failure Records for reference. Using the Clear Info function will erase the stored Failure Records from the PCM.

  4. Record the Failure Records.
  5. Clear the DTCs.
  6. With a Scan Tool , observe the Brake Switch parameter.
  7. Apply the brake pedal.

Does the Scan Tool display Open?

--

Go to Diagnostic Aids

Go to Step 3

3

  1. Turn OFF the ignition.
  2. Disconnect the TCC Brake Switch 4-way connector.
  3. Turn ON the ignition with the engine OFF.
  4. With a Scan Tool , observe the Brake Switch parameter.

Does the Scan Tool display Open?

--

Go to Step 5

Go to Step 4

4

Test the input circuit (CKT 420) of the TCC brake switch for a short to power between the PCM and the brake switch.

Refer to Circuit Testing and Wiring Repairs in Wiring Systems.

Did you find and correct the condition?

--

Go to Step 7

Go to Step 6

5

Replace the TCC brake switch.

Refer to Stop Lamp Switch Replacement in Hydraulic Brakes.

Did you complete the replacement?

--

Go to Step 7

--

6

Replace the PCM.

Refer to Powertrain Control Module Replacement/Programming (3.4 L) or Powertrain Control Module Replacement/Programming (3.8 L) in Engine Controls.

Did you complete the replacement?

--

Go to Step 7

--

7

Perform the following procedure in order to verify the repair:

  1. Select DTC.
  2. Select Clear Info.
  3. Turn ON the ignition with the engine OFF.
  4. Apply the brake pedal. The TCC brake switch must be Open for more than 2 seconds.
  5. Select Specific DTC.
  6. Enter DTC P0724.

Has the test run and passed?

--

System OK

Go to Step 1

DTC P0724 Brake Switch Circuit High Input Except 3.8L Monte Carlo


Object Number: 477448  Size: MF
Automatic Transmission Components
Automatic Transmission Controls Schematics
OBD II Symbol Description Notice
Handling ESD Sensitive Parts Notice

Circuit Description

The TCC brake switch reports brake pedal status to the PCM. The TCC brake switch indicates that the brake pedal is either applied or released. The normally-closed switch supplies battery voltage to the PCM. Applying the brake pedal opens the TCC brake switch, interrupting voltage to the PCM. When the PCM receives 0 volts at the TCC brake switch input, the PCM turns OFF the torque converter clutch pulse width modulation (TCC PWM) solenoid valve.

If the PCM detects a closed TCC brake switch (indicating pedal released) during a number of decelerations, then DTC P0724 sets. DTC P0724 is a type C DTC.

Conditions for Running the DTC

No VSS DTC P0502 or P0503.

Conditions for Setting the DTC

The TCC brake switch indicates continuously CLOSED (12 volts) while the following conditions occur 7 times consecutively:

    • The vehicle speed is greater than 32 km/h (20 mph) for 6 seconds;
    • Then the vehicle speed decreases to 8 km/h (5 mph) and takes 4 seconds;
    • Finally, the vehicle speed is less than 8 km/h (5 mph).

Action Taken When the DTC Sets

    • The PCM does not illuminate the malfunction indicator lamp (MIL).
    • The PCM records the operating conditions when the Conditions for Setting the DTC are met. The PCM stores this information as Failure Records.
    • The PCM stores DTC P0724 in PCM history.

Conditions for Clearing the DTC

    • A scan tool can clear the DTC.
    • The PCM clears the DTC from PCM history if the vehicle completes 40 consecutive warm-up cycles without a non-emission-related diagnostic fault occurring.
    • The PCM cancels the DTC default actions when the fault no longer exists and the ignition switch is OFF long enough in order to power down the PCM.

Diagnostic Aids

    • Inspect the connectors at the controller, the component and all other circuit connecting points for an intermittent condition. Refer to Testing for Intermittent Conditions and Poor Connections in Wiring Systems.
    • Inspect the circuit wiring for an intermittent condition. Refer to Testing for Electrical Intermittents in Wiring Systems.

Test Description

The numbers below refer to the step numbers on the diagnostic table.

  1. A Scan Tool display that changes from Closed to Open when the TCC brake switch is disconnected indicates a faulty switch.

DTC P0724 Brake Switch Circuit High Input

Step

Action

Value(s)

Yes

No

1

Did you perform the Powertrain Diagnostic System Check?

--

Go to Step 2

Go to Powertrain On Board Diagnostic (OBD) System Check (3.4 L) or Powertrain On Board Diagnostic (OBD) System Check (3.8 L) in Engine Controls

2

  1. Install a Scan Tool .
  2. Turn ON the ignition with the engine OFF.
  3. Important: Before clearing the DTCs, use the Scan Tool in order to record the Failure Records for reference. Using the Clear Info function will erase the stored Failure Records from the PCM.

  4. Record the Failure Records.
  5. Clear the DTCs.
  6. With a Scan Tool , observe the Brake Switch parameter.
  7. Apply the brake pedal.

Does the Scan Tool display Open?

--

Go to Diagnostic Aids

Go to Step 3

3

  1. Turn OFF the ignition.
  2. Disconnect the TCC Brake Switch 4-way connector.
  3. Turn ON the ignition with the engine OFF.
  4. With a Scan Tool , observe the Brake Switch parameter.

Does the Scan Tool display Open?

--

Go to Step 5

Go to Step 4

4

Test the input circuit (CKT 420) of the TCC brake switch for a short to power between the PCM and the brake switch.

Refer to Circuit Testing and Wiring Repairs in Wiring Systems.

Did you find and correct the condition?

--

Go to Step 7

Go to Step 6

5

Replace the TCC brake switch.

Refer to Stop Lamp Switch Replacement in Hydraulic Brakes.

Did you complete the replacement?

--

Go to Step 7

--

6

Replace the PCM.

Refer to Powertrain Control Module Replacement/Programming (3.4 L) or Powertrain Control Module Replacement/Programming (3.8 L) in Engine Controls.

Did you complete the replacement?

--

Go to Step 7

--

7

Perform the following procedure in order to verify the repair:

  1. Select DTC.
  2. Select Clear Info.
  3. Turn ON the ignition with the engine OFF.
  4. Apply the brake pedal. The TCC brake switch must be Open for more than 2 seconds.
  5. Select Specific DTC.
  6. Enter DTC P0724.

Has the test run and passed?

--

System OK

Go to Step 1